Запчасти Case 590L (2-39A) - CYLINDER BLOCK, 4T-390 ENGINE (02) - ENGINE

Схема запчастей Case 590L - (2-39A) - CYLINDER BLOCK, 4T-390 ENGINE (02) - ENGINE
12
13
21
7
20
40
19
27
5
18
6
39
7
6a
17
29
12a
9
2
37
31
28
30
32
22
16a
6
36
35
14
26
4
25
3
7
38
34
33
11
15
10
23
6
24
1
16
8
FIT
1:1
100%

Артикул

Название

Примечание

Количество

194355A3

ENGINE ASSEMBLY

- complete, 4T-390, includes all parts except starter, alternator, fan, fan belt, air cleaner, muffler and exhaust pipe, for service order basic engine below, Includes: Ref. 1 - 8

1шт.

For correct engine identification, make sure that engine part number 194355A3 is stamped on the engine serial number tag.

1шт.

1989092C3R

REMAN-BASIC ENGINE

Reman Basic Engine, includes all parts except starter, alternator, fan, fan belt, air cleaner, muffler, exhaust manifold, flywheel and housing, oil fill and dipstick, fuel injection pump, injectors and lines, front pulley, belt tensioner, turbocharger and aftercooler

1шт.

1989092C3C

CORE-BASIC ENGINE

Return Part Number - use this part number to return basic engine core for credit when using a remanufactured assembly, Includes: Ref. 1 - 8

1шт.

1989092C3

BASIC ENGINE

ENGINE ASSY - basic, includes all parts except starter,alternator,fan,fan belt,air cleaner,muffler,exhaust manifold,flywheel & housing,oil fill & dipstick, fuel inj pump, injectors & lines,front pulley, belt tensioner, turbocharger & aftercooler; See Note

1шт.

J933236

SHORT ENGINE

BLOCK ASSEMBLY - short, new, includes stripped block, pistons, connecting rods and bearings, crankshaft and bearings, Includes: Ref. 1 - 8

1шт.

Order J933220 hardware kit and 250838A2 connector when ordering J933236 block assembly. P/N 250838A2 connector is used for adapting the old oil pressure sender to the new cylinder block. See Figure 4-10 for 250838A2 connector.

1шт.

Component parts on this page do not apply to the remanufactured assembly

1шт.

JR933236

REMAN-SHORT ENGINE

Remanufactured Block Assy., Engine Cyl. Short, 4 Cyl. Includes: Ref. 1 - 8

1шт.

JC933236

CORE-SHORT ENGINE

Return Part Number

1шт.

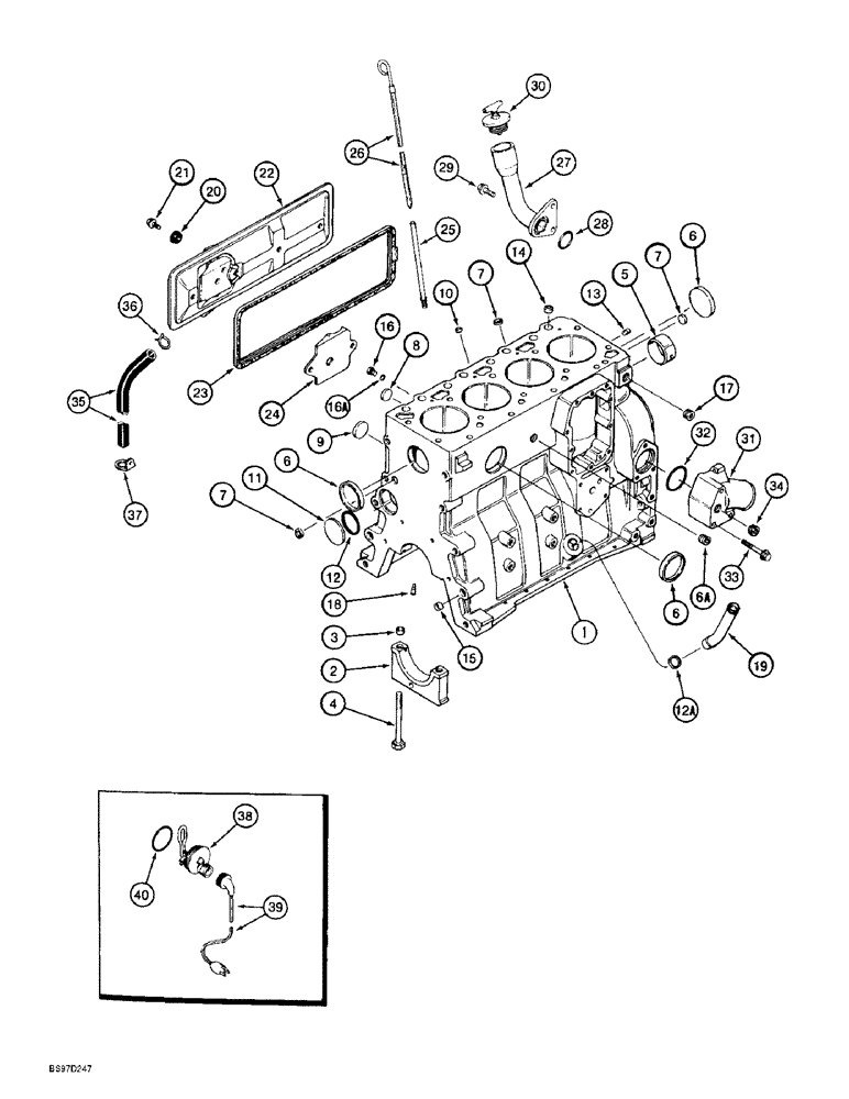
1

87444172

BLOCK ASSY.

BLOCK ASSEMBLY - stripped, engine, Includes: Ref. 2 - 8

1шт.

Order J933220 hardware kit and 250838A2 connector when ordering J933236 block assembly. P/N 250838A2 connector is used for adapting the old oil pressure sender to the new cylinder block. See Figure 4-10 for 250838A2 connector.

1шт.

2

J900967

BEARING CAP

CAP - main bearing

5шт.

3

J900068

BEARING WASHER

RING - dowel, 18 mm O.D., main bearing, Serial Range: cap-block

10шт.

4

J927948

BOLT,Flng, MJ12 x 1.5H6H x 119mm, Cl 12.9

SCREW, , Main bearing cap, Special Hex Flg Hd, M12 x 1.5 x 119

10шт.

5

REF

INSTRUCTION

BUSHING - camshaft front, see Figure 2-34, Ref. 2

1шт.

6

A77782

PLUG

- expansion, 58 mm O.D.

1шт.

6a

A77505

PLUG

- hex socket, 3/4 inch PT

1шт.

7

J900956

PLUG

- expansion, 18 mm O.D.

3шт.

8

41-1616

PLUG,Cup, 1", Stainless

Expansion Cup, 1", Stainless

2шт.

J933220

PACKAGE,SERVICE

KIT - block hardware, Includes: Ref. 9 - 18

1шт.

Order J933220 hardware kit and 250838A2 connector when ordering J933236 block assembly. P/N 250838A2 connector is used for adapting the old oil pressure sender to the new cylinder block. See Figure 4-10 for 250838A2 connector.

1шт.

9

J900958

PLUG

- expansion, 32 mm O.D.

2шт.

10

J900955

PLUG

- expansion, 10 mm O.D.

1шт.

11

172599

PLUG,Exp, 2 3/8"

- expansion, Welch, 60 mm O.D.

1шт.

12

J926047

O-RING,0.07" Thk x 2.239" ID

- sealing, 57 mm ID

1шт.

12a

J920706

PLUG

- expansion, 22 mm O.D., not used in this application, Ref. 19, J903744 turbocharger oil drain tube is installed in this port

1шт.

13

J900257

PIN,10.01mm OD x 16mm L

- dowel, 16 mm long, locating

2шт.

14

J902343

DOWEL

RING - dowel, 16 mm O.D.

2шт.

15

J900068

BEARING WASHER

RING - dowel, 18 mm O.D.

2шт.

16

233426A1

PLUG,M10 x 1 ORB

- hex, 10 mm, Includes: Ref. 16A

2шт.

16a

637-62081

O-RING,1.6mm Thk x 8.1mm ID, Cl 6, 90 Duro

- 8.1 ID x 1.6 mm wide, plug

1шт.

17

A77429

PLUG

- hex socket, 1/2 inch PT

1шт.

18

J930139

NOZZLE CAP

NOZZLE - piston cooling

4шт.

19

J903744

PIPE FITTING,22.42 mm ID x 28 mm OD x 90.2, 64 mm L

TUBE - turbocharger oil drain

1шт.

20

J900267

SEAL

- cover bolt

4шт.

21

845-8020

BOLT,Hvy Hex, M8 x 20mm, Cl 8.8

- heavy hex flange, 8-1.25 x 20 mm

2шт.

22

J925680

COVER

- tappet

1шт.

23

J928831

GASKET

- tappet cover

1шт.

24

J907586

BAFFLE

- tappet cover

1шт.

25

J905779

TUBE,9.52 mm OD x 228 mm L

- dipstick

1шт.

26

J905781

DIPSTICK

- oil level gauge

1шт.

27

J905440

TUBE

- oil fill

1шт.

28

J906696

SEAL,41mm ID x 43mm OD x 2.5mm H

O-RING - 38 mm (1-1/2 inch) ID

1шт.

29

854-12025

BOLT,Hvy Hex, M12 x 25mm, Cl 10.9

- heavy hex flange, 12 - 1.75 x 25 mm, class 10.9

2шт.

30

A77424

FILLER CAP

CAP - oil fill tube

1шт.

31

J903102

CONNECTION

- water inlet

1шт.

32

J906697

SEAL,Square, 5.16mm Thk x 50.17mm ID

O-RING - sealing, 50 mm ID

1шт.

33

854-10075

BOLT,Hvy Hex, M10 x 75mm, Cl 10.9

- heavy hex flange, 10 - 1.5 x 75 mm, class 10.9

3шт.

34

A77429

PLUG

- hex socket, 1/2 inch PT

2шт.

35

J918612

TUBE,360.00 mm

Breather 360.00 mm

1шт.

36

J904230

CLAMP,25.4mm

- spring, hose

1шт.

37

J909670

CLIP

- retaining

1шт.

196803A1

KIT

- engine block heater, Includes: Ref. 38 - 40

1шт.

38

NSS

NOT SOLD SEPARAT

ELEMENT - engine heater, 120 volt

1шт.

39

196466A1

ELECTRIC CABLE

CABLE - engine block heater

1шт.

40

J910517

O-RING

- heater sealing

1шт.

309651A1

KIT

block heater, threaded, new style, consists of J940911 element assembly (NSS) and 196466A1 cord, rated at 120V/750W

1шт.

Выбрано товаров: 58