Запчасти Case 680L (8-008) - EQUIPMENT HYDRAULIC SYSTEM, OIL COOLER AND RETURN LINES (08) - HYDRAULICS

Схема запчастей Case 680L - (8-008) - EQUIPMENT HYDRAULIC SYSTEM, OIL COOLER AND RETURN LINES (08) - HYDRAULICS
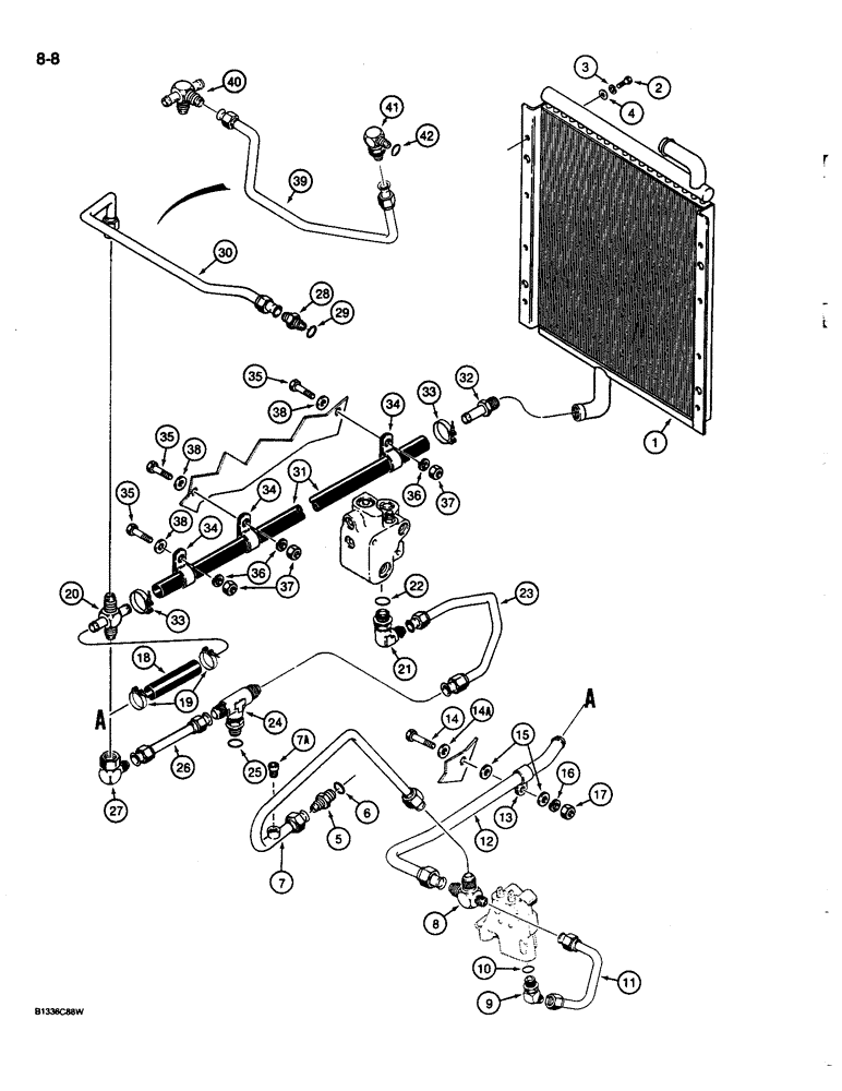
FIT
1:1
100%

Артикул

Название

Примечание

Количество

1

A171963

COOLER

OIL COOLER - hydraulic system

1шт.

2

814-8025

BOLT,Hex, M8 x 1.25 x 25mm, Cl 8.8, Full Thd

- hex head, 8 mm-1.25 x 25 mm (8.8), plated

8шт.

3

892-1108

LOCK WASHER,M8

plated M8

8шт.

4

895-11008

WASHER,9mm ID x 16mm OD x 1.6mm Thk

8шт.

5

218-5069

HYD CONNECTOR,1-5/16" - 12 Male JIC x 1-5/16" - 12 Male ORB

Adapter - straight, backhoe valve return port, Incl. Ref. 6

1шт.

6

237-6016

O-RING,0.116" Thk x 1.171" ID, -916, Cl 6, 90 Duro

- adapter

1шт.

7

D143887

TUBE ASSY.

TUBE - backhoe control valve return, without extendable dipper

1шт.

7

D143889

TUBE ASSY.

TUBE - backhoe control valve return, with extendable dipper

1шт.

7a

221-844

PLUG,Hex Soc, 1/2"-14

- hex socket, 1/2" NPT, if used, not required on models with hydraulic boom lock, see Figure 8-052, Ref. 5 or 8-056, Ref. 7, for hose used in place of plug

1шт.

8

D141679

TEE

- valve return tubes

1шт.

9

218-5137

ELBOW,45 Degree Elbow, 7/8" - 14 Male JIC x 7/8" - 14 Male ORB

- 45 degree, adjustable, stabilizer valve return port, Incl. Ref 10

1шт.

10

237-6010

O-RING,0.097" Thk x 0.755" ID, -910, Cl 6, 90 Duro

- elbow

1шт.

11

D144939

TUBE

- stabilizer control valve return

1шт.

12

D143821

TUBE ASSY.

TUBE - backhoe return

1шт.

13

49773

CLAMP

- return, Serial Range: tube-chassis

1шт.

14

413-840

BOLT,Hex, 1/2" - 13 x 2-1/2", Gr 5

- hex, 1/2 NC x 2-1/2 inch

1шт.

14a

496-21053

WASHER,17/32" x 1 1/16" x .134"

- flat, 1/2 inch, hardened

1шт.

15

495-21056

WASHER,1/2"

- flat, 1/2 inch, hardened

2шт.

16

80679

LOCK WASHER,1/20.507 CST ZND

WASHER, LOCK, 1/2"

1шт.

17

425-108

NUT,1/2" - 13, Gr 5

NUT, , Hex 1/2"-13, G5

1шт.

18

D141697

HOSE

- 9" (229 mm) long, return, cut to required length from D129185 bulk hose, see below

1шт.

19

S85429

CLAMP

- hose

2шт.

20

D141582

CROSS

FITTING - four-way, used with D141336 tube, item 30, if used

1шт.

21

218-5117

ELBOW,90 Degree Elbow, 7/8" - 14 Male JIC x 3/4" - 16 Male ORB

- 90 degree, adjustable, from brake valve, Includes: Ref. 22

1шт.

22

237-6008

O-RING,0.087" Thk x 0.644" ID, -908, Cl 6, 90 Duro

8-1, 90 Duro, .644" ID x .087" Thk, Elbow

1шт.

23

D141317

TUBE ASSY.

TUBE - brake valve to return line

1шт.

24

218-5505

TEE,1 1/16"-12, 37º x 7/8"-14 x 1 1/16"-12, O-Ring Br

- adjustable, at backhoe relief valve, Includes: Ref. 25

1шт.

25

237-6012

O-RING,0.116" Thk x 0.924" ID, -912, Cl 6, 90 Duro

12-1, 90 Duro, .924 ID x .116" Thk, Tee

1шт.

26

D138174

TUBE ASSY.

TUBE - backhoe relief valve to return line

1шт.

27

218-5231

ELBOW,90 Degree, 1 1/16"-12, 37 Degree x 1 1/16"-12, 37 Degree Fem Sw

at four-way fitting 90º, 1 1/16"-12, 37º x 1 1/16"-12, 37º Fem Sw

1шт.

28

218-5077

HYD CONNECTOR,1-1/16" - 12 Male JIC x 1-5/16" - 12 Male ORB

ADAPTER - straight, male, used with D141336 tube, Ref. 30, if used, Incl. Ref. 29

1шт.

29

237-6016

O-RING,0.116" Thk x 1.171" ID, -916, Cl 6, 90 Duro

- adapter

1шт.

30

D141336

TUBE

- crossover, from loader control valve, used with items 20 and 28, if used

1шт.

31

D141683

HOSE

- 71" (1800 mm) long, backhoe return to oil cooler

1шт.

32

217-157

FITTING,1-1/4" Hose Barb x 1-1/4" Male NPTF

- stem, straight

1шт.

33

D135549

CLAMP

- hose

2шт.

34

S98801

CLAMP

- return, Serial Range: hose-chassis

3шт.

35

413-828

BOLT,Hex, 1/2" - 13 x 1-3/4", Gr 5

3шт.

36

80679

LOCK WASHER,1/20.507 CST ZND

WASHER, LOCK, 1/2"

3шт.

37

425-108

NUT,1/2" - 13, Gr 5

NUT, , Hex 1/2"-13, G5

3шт.

38

496-21053

WASHER,17/32" x 1 1/16" x .134"

- flat, 1/2 inch, hardened

3шт.

39

D149336

TUBE ASSY.

TUBE - crossover, from loader control valve, used with items 40 and 41, if used

1шт.

40

D146717

TEE

- special, used with D149336 tube, item 39, if used

1шт.

41

218-5118

ELBOW,90 Degree Elbow, 1-1/16" - 12 Male JIC x 1-5/16" - 12 Male ORB

- 90 deg, 1-1/16-12 flare x 1-5/16-12 inch adj O-ring, used with D149336 tube, Ref. 39, if used, Includes: Ref. 42

1шт.

42

237-6016

O-RING,0.116" Thk x 1.171" ID, -916, Cl 6, 90 Duro

- 1-11/64 ID x 7/64 inch

1шт.

D129185

HOSE,38.1 mm ID x 863.60 mm

1шт.

Выбрано товаров: 46