Запчасти Case 680L (8-084) - BACKHOE CONTROL VALVE, BOOM SECTION (08) - HYDRAULICS

Схема запчастей Case 680L - (8-084) - BACKHOE CONTROL VALVE, BOOM SECTION (08) - HYDRAULICS
FIT
1:1
100%

Артикул

Название

Примечание

Количество

G110587

VALVE

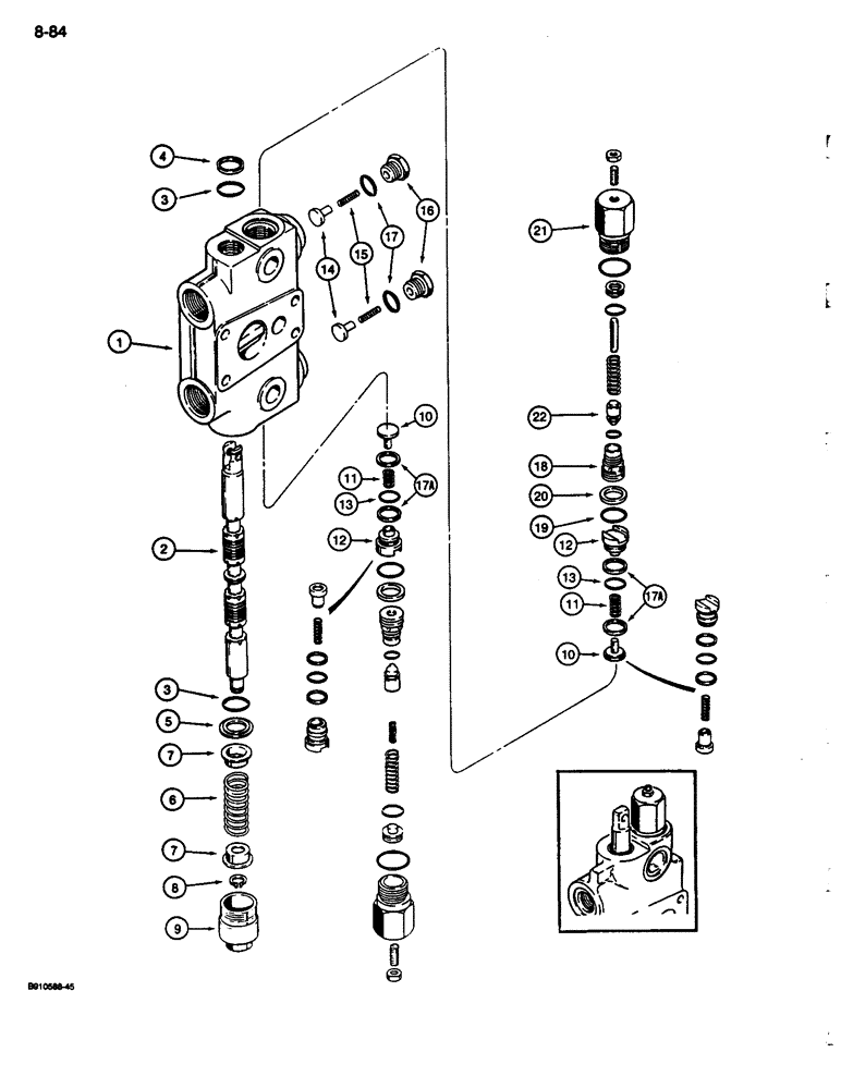
SECTION ASSEMBLY - boom, with 2050 psi relief valve, G110506 or G110691 backhoe control valve, Includes: Ref. 1 - 22 on this figure and parts on Figure 8-086

1шт.

1346024C1

VALVE

SECTION ASSEMBLY - boom, with 4800 psi relief valve, 1343733C1 or 1343734C1 backhoe control valve, Includes: Ref. 1 - 22 on this figure and parts on Figure 8-086

1шт.

1

NSS

NOT SOLD SEPARAT

BODY - boom section

1шт.

2

NSS

NOT SOLD SEPARAT

SPOOL - boom section

1шт.

3

1994608C1

O-RING,0.737" ID x 0.943" OD x 0.103"

- body

2шт.

Part of seal kit P/N 1346105C1.

1шт.

4

A32309

SEAL,18.8mm ID x 25.5mm OD x 3.1mm Thk

- spool

1шт.

Part of seal kit P/N 1346105C1.

1шт.

5

G102711

RETAINER COLLAR,19.3 mm ID x 32.97 mm OD

- O-ring

1шт.

6

G110135

SPRING

- centering, spool

1шт.

7

G33075

RETAINER,12.2mm ID, 27.9mm OD

SEAT - centering spring

2шт.

8

G33077

SNAP RING,#47, Ext

Ring, Snap, , retainer #47, Ext

1шт.

9

G33080

CAP

- centering spring

1шт.

10

G33081

VALVE POPPET

POPPET - flat poppet pin, load check valve, no longer used order 1346219C2 valve, Ref. 45 - 49 on Figure 8-086

2шт.

11

G33573

SPRING

- load check valve, no longer used, order 1346219C2 valve, Ref. 45 - 49 on Figure 8-086

2шт.

12

G104062

PLUG

- load check valve, no longer used, order 1346219C2 valve, Ref. 45 - 49 on Figure 8-086

2шт.

13

G110020

O-RING,0.07" Thk x 0.614" ID, -16, Cl 6, 90 Duro

- plug

2шт.

Part of seal kit P/N 1346105C1.

1шт.

1346221C1

VALVE

ASSEMBLY - anticavitation, Includes: Ref. 14 - 17

2шт.

14

G34938

VALVE POPPET,6.55mm ID x 17.48mm OD x 17.02mm L

POPPET - anticavitation valve

1шт.

15

G34458

SPRING,Compression, 5.08mm OD x 27.56mm L

- anticavitation valve

1шт.

16

G34937

PLUG

- anticavitation valve

1шт.

17

237-6010

O-RING,0.097" Thk x 0.755" ID, -910, Cl 6, 90 Duro

- plug

1шт.

Part of seal kit P/N 1346105C1.

1шт.

17a

G103862

BACK-UP RING,15.77mm ID x 18.67mm OD x 1.32mm Thk

- backup, plug O-ring

4шт.

Part of seal kit P/N 1346105C1.

1шт.

G109443

VALVE

ASSEMBLY - 2050 psi, circuit relief, used in production, order G109448 kit for service, see below, Includes: Ref. 18 - 22 on this figure and parts on Figure 8-086

1шт.

The pressure setting of the repair circuit relief valve is not preset for this application. Adjust the setting according to the instructions sent with the repair valve.

1шт.

1346023C1

VALVE

ASSEMBLY - 4800 psi, circuit relief, used in production, order G110077 kit for service, see below, Includes: Ref. 18 - 22 on this figure and parts on Figure 8-086

1шт.

The pressure setting of the repair circuit relief valve is not preset for this application. Adjust the setting according to the instructions sent with the repair valve.

1шт.

18

NSS

NOT SOLD SEPARAT

SEAT - circuit relief valve

1шт.

19

238-6018

O-RING,0.07" Thk x 0.739" ID, -18, Cl 6, 90 Duro

Seat -018, 90 Duro, .739" ID x .070" Thk

1шт.

Part of seal kit P/N 1346105C1.

1шт.

20

G35540

BACK-UP RING,19.43mm ID x 22.23mm OD x 1.32mm Thk

- backup, small O-ring, seat

1шт.

Part of seal kit P/N 1346105C1.

1шт.

21

NSS

NOT SOLD SEPARAT

BODY - circuit relief valve

1шт.

22

NSS

NOT SOLD SEPARAT

POPPET - circuit relief valve

1шт.

G109448

KIT

- service for G109443, includes G109446 relief valve assembly (Ref. 18 - 22 on this figure and Ref. 23 - 30 on Figure 8-086) and an instruction sheet

1шт.

The pressure setting of the repair circuit relief valve is not preset for this application. Adjust the setting according to the instructions sent with the repair valve.

1шт.

G110077

KIT

- service for 1346023C1, includes G110078 relief valve assembly (Ref. 18 - 22 on this figure and Ref. 23 - 30 on Figure 8-086) and an instruction sheet

1шт.

The pressure setting of the repair circuit relief valve is not preset for this application. Adjust the setting according to the instructions sent with the repair valve.

1шт.

1346105C1

SEAL KIT

KIT - seal, Includes: Ref. 3, 4, 13, 17, 17A, 19 and 20 on this figure, parts on Figure 8-086, plus additional O-rings not required for this application

1шт.

Выбрано товаров: 42