Запчасти Case 680L (9-054) - EXTENDABLE DIPPER, HIGH PROFILE (CONTD) (09) - CHASSIS/ATTACHMENTS

Схема запчастей Case 680L - (9-054) - EXTENDABLE DIPPER, HIGH PROFILE (CONTD) (09) - CHASSIS/ATTACHMENTS
FIT
1:1
100%

Артикул

Название

Примечание

Количество

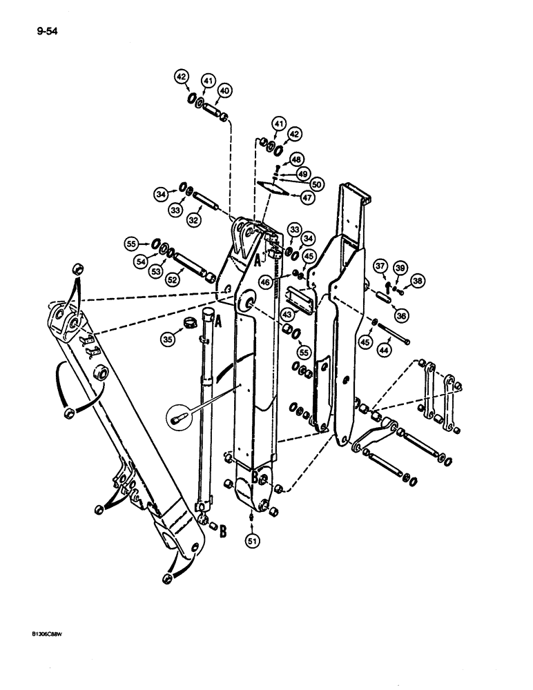
32

D53812

PIVOT PIN,1.5" OD x 10.14" L

PIN - extendable dipper cylinder, closed end

1шт.

33

L79009

WASHER

- flat, hardened, special

2шт.

34

D25279

SNAP RING,M35, Int

RING - snap, pin retaining

2шт.

35

214-267

HOSE CLAMP,#64, 3.56" - 4.5", Type F Worm

CLAMP - extendable dipper cylinder

1шт.

36

L57029

PIN

- bucket, Serial Range: cylinder-dipper

1шт.

37

R17756

ROD,12.7mm OD x 109.54mm L

PIN - lock

1шт.

38

113-417

BOLT,Hex, 1/2" - 13 x 1-1/4", Gr 5, Full Thd

1шт.

39

192-23

LOCK WASHER,1/2"

WASHER, LOCK, 1/2"

1шт.

40

L73598

AXLE PIN

PIN - dipper, Serial Range: cylinder-dipper

1шт.

41

195-2155

WASHER,2 1/16" x 3" x .109"

- flat, 2", special, dipper cylinder pin

2шт.

42

D26919

SNAP RING,#200, Ext

Ring, Snap, , pin #200, Ext

2шт.

43

D141505

BLOCK

PLATE - wear

1шт.

44

426-16192

BOLT,Hex, 1" - 8 x 12", Gr 8

- hex head, 1"-8 NC x 12"

2шт.

45

195-553

WASHER,1", SAE

- flat, 1", plated

4шт.

46

86755

NUT,1"-8, GB

NUT - hex, self-locking, 1"-8 NC

2шт.

47

D140893

COVER

PLATE - cover

1шт.

48

113-209

BOLT,Hex, 3/8" - 16 x 1-1/2", Gr 5

4шт.

49

192-21

LOCK WASHER,3/8"

WASHER, LOCK, 3/8"

4шт.

50

195-525

WASHER,3/8", SAE

- flat, 3/8", plated

4шт.

51

219-1

LUBE NIPPLE,1/8" - 27 NPTF

FITTING - grease, straight, 1/8" NPT

1шт.

52

D141258

PIN

- extendable, Serial Range: dipper-boom

1шт.

53

D41472

WASHER

- flat, 2-5/16" ID x 3" OD, special

1шт.

54

H71514

WASHER,72mm ID x 114mm OD x 3mm Thk

- flat, 2-7/8" ID x 4-1/2" OD, special, used as a shim

1шт.

55

F40807

SNAP RING,#225, Ext

Ring, Snap, , pin #225, Ext

2шт.

Выбрано товаров: 24