Запчасти Case 680L (9-058) - EXTENDABLE DIPPER, LOW PROFILE (CONTD) (09) - CHASSIS/ATTACHMENTS

Схема запчастей Case 680L - (9-058) - EXTENDABLE DIPPER, LOW PROFILE (CONTD) (09) - CHASSIS/ATTACHMENTS
FIT
1:1
100%

Артикул

Название

Примечание

Количество

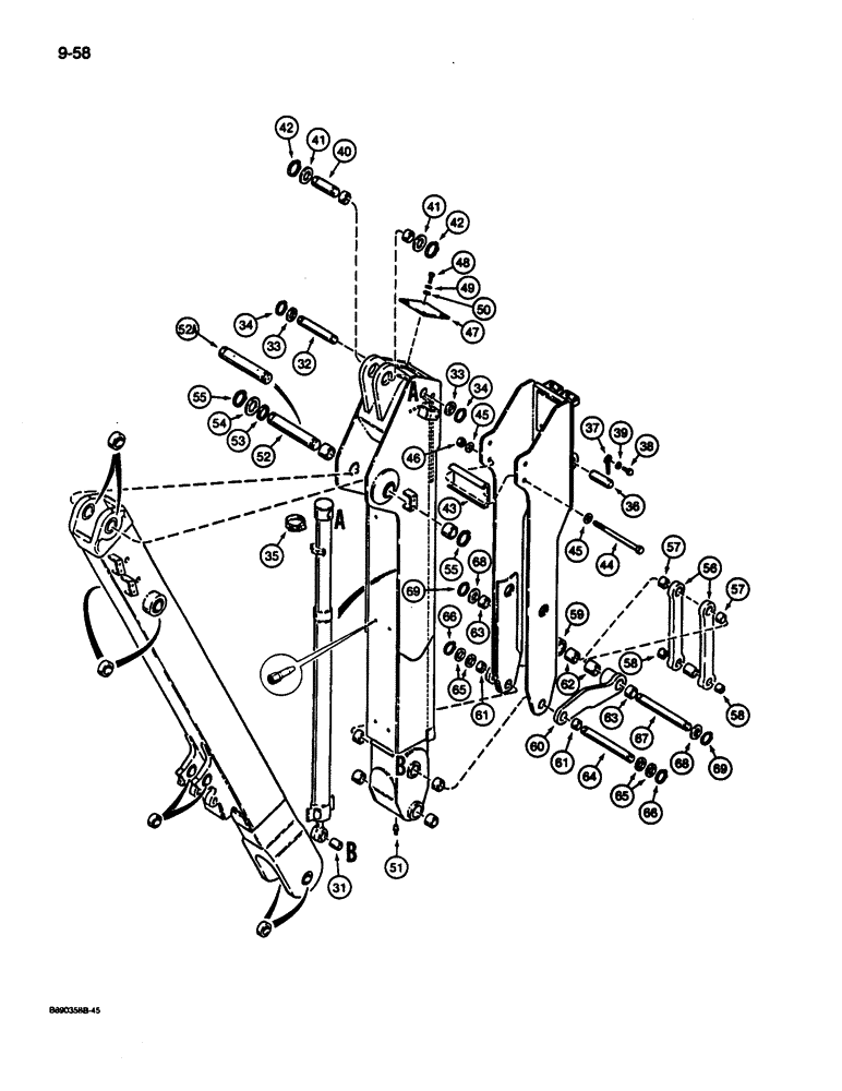
31

D139789

BUSHING

- cylinder rod end, not included with cylinder, used with 1980375C1 cylinder

1шт.

32

D53812

PIVOT PIN,1.5" OD x 10.14" L

PIN - extendable dipper cylinder, closed end

1шт.

33

L79009

WASHER

- flat, hardened, special

2шт.

34

D25279

SNAP RING,M35, Int

RING - snap, pin retaining

2шт.

35

214-267

HOSE CLAMP,#64, 3.56" - 4.5", Type F Worm

CLAMP - extendable dipper cylinder

1шт.

36

L57029

PIN

- bucket, Serial Range: cylinder-dipper

1шт.

37

R17756

ROD,12.7mm OD x 109.54mm L

PIN - lock

1шт.

38

413-820

BOLT,Hex, 1/2" - 13 x 1-1/4", Gr 5

- hex head, 1/2"-13 NC x 1-1/4", plated

1шт.

39

80679

LOCK WASHER,1/20.507 CST ZND

WASHER, LOCK, 1/2"

1шт.

40

L73598

AXLE PIN

PIN - dipper, Serial Range: cylinder-dipper

1шт.

41

495-81282

WASHER,2 1/16" x 3" x .109"

- flat, 2", special, dipper cylinder pin

2шт.

42

D26919

SNAP RING,#200, Ext

Ring, Snap, , pin #200, Ext

2шт.

43

D141505

BLOCK

PLATE - wear

1шт.

44

426-16192

BOLT,Hex, 1" - 8 x 12", Gr 8

- hex head, 1"-8 NC x 12"

2шт.

45

495-11106

WASHER,1", SAE

- flat, 1", plated

4шт.

46

86755

NUT,1"-8, GB

NUT - hex, self-locking, 1"-8 NC

2шт.

47

D140893

COVER

PLATE - cover

1шт.

48

413-624

BOLT,Hex, 3/8" - 16 x 1-1/2", Gr 5

- hex, 3/8"-16 NC x 1-1/2", plated

4шт.

49

492-11038

LOCK WASHER,3/8"

4шт.

50

495-11041

WASHER,0.406" ID x 0.812" OD x 0.065" W

(Flat, 13/32 x 13/16 x 1/16") 3/8", SAE

4шт.

51

219-1

LUBE NIPPLE,1/8" - 27 NPTF

FITTING - grease, straight, 1/8" NPT

1шт.

52

D141258

PIN

- 2-1/8 OD x 13-3/16 inch long, extendable dipper to boom, without grease fitting holes, if used

1шт.

52a

D147115

PIN

- 2-1/8 OD x 12-11/16 inch long, extendable dipper to boom, with grease fitting holes, if used

1шт.

53

D41472

WASHER

- flat, 2-5/16" ID x 3" OD, special

1шт.

54

H71514

WASHER,72mm ID x 114mm OD x 3mm Thk

- flat, 2-7/8" ID x 4-1/2" OD, special, used as a shim

1шт.

55

F40807

SNAP RING,#225, Ext

Ring, Snap, , pin #225, Ext

2шт.

56

D145840

LINK ASSY.

LINK ASSEMBLY - used with 2 inch OD pin at bucket cylinder to guide link (Ref. 67 pin) and 1-1/2 inch OD pin at bucket, backhoe bucket to cylinder, if used, Includes: Ref. 57 and 58

2шт.

See Figure 9-056, Ref. 16, 19, 20, 24 and 27, for optional size links and pins.

1шт.

57

D30756

BUSHING,51.02mm ID x 63.5mm OD x 31.8mm L

- 2 x 2-1/2 x 1-1/4 inch long

1шт.

58

D30933

BUSHING,38.41mm ID x 47.63mm OD x 31.75mm L

- 1-1/2 x 1-7/8 x 1-1/4 inch long

1шт.

59

D145306

LINK ASSY.

LINK - bucket guide, left-hand, used with 2 inch OD pin at bucket cyilnder to guide link (Ref. 67 pin) and 1-3/4 inch OD pin at link to dipper (Ref. 64 pin), if used, Includes: Ref. 61 - 63

1шт.

See Figure 9-056, Ref. 16, 19, 20, 24 and 27, for optional size links and pins.

1шт.

60

D145305

LINK

- bucket guide, right-hand, used with 2 inch OD pin at bucket cylinder to guide link (Ref. 67 pin) and 1-3/4 inch OD pin at link to dipper (Ref. 64 pin), if used, Includes: Ref. 61 - 63

1шт.

See Figure 9-056, Ref. 16, 19, 20, 24 and 27, for optional size links and pins.

1шт.

61

D34340

BUSHING,44.68mm ID x 53.98mm OD x 25.4mm L

- 1-3/4 x 2-1/8 x 1 inch long, at bar end

1шт.

62

D33023

BUSHING,51.02mm ID x 63.5mm OD x 50.8mm L

- 2 x 2-1/2 x 2 inch long, at boss, long

1шт.

63

D31142

BUSHING,51.02mm ID x 63.5mm OD x 38.1mm L

- 2 x 2-1/2 x 1-1/2 inch long, at boss, short

1шт.

64

D64171

PIN,44.45mm OD x 352.55mm L

- 1-3/4 OD x 13-29/32 inch long, guide link to dipper, if used

1шт.

See Figure 9-056, Ref. 16, 19, 20, 24 and 27, for optional size links and pins.

1шт.

65

495-81226

WASHER,46.02mm ID x 63.5mm OD x 3.35mm Thk

- flat, 1-13/16 x 2-1/2 x 1/8 inch, if used

7шт.

66

D25280

SNAP RING,#175, Ext

Ring, Snap, , D64171 pin, if used #175, Ext

2шт.

67

L101365

PIN

- 2 OD x 13-25/32 inch long, bucket cylinder to guide link, if used

1шт.

See Figure 9-056, Ref. 16, 19, 20, 24 and 27, for optional size links and pins.

1шт.

68

495-81282

WASHER,2 1/16" x 3" x .109"

- flat, 2-1/16 x 3 x 1/8 inch, if used

6шт.

69

D26919

SNAP RING,#200, Ext

Ring, Snap, , L101365 pin, if used #200, Ext

2шт.

Выбрано товаров: 45