Запчасти Case 590 (8-070) - LOADER CONTROL VALVE, CLAM SECTION (08) - HYDRAULICS

Схема запчастей Case 590 - (8-070) - LOADER CONTROL VALVE, CLAM SECTION (08) - HYDRAULICS
3
10
5
15
13
4
17
12
9
7
13
6
14
17
11
19
1
19
18
18
16
3
5
16
12
40
11
2
6
FIT
1:1
100%

Артикул

Название

Примечание

Количество

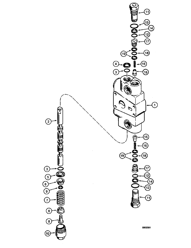
1986593C1

VALVE

SECTION ASSEMBLY - clam, three spool valve, Includes: Ref. 1 - 19

1шт.

1

NSS

NOT SOLD SEPARAT

HOUSING - clam section

1шт.

2

NSS

NOT SOLD SEPARAT

SPOOL - clam section

1шт.

3

1994608C1

O-RING,0.737" ID x 0.943" OD x 0.103"

- spool (replaces G108461 O-ring)

2шт.

Part of seal kit P/N 1346105C1.

1шт.

4

65457C1

SEAL,19.04mm ID x 25.5mm OD x 3.17mm Thk

- oil, spool

1шт.

Part of seal kit P/N 1346105C1.

1шт.

5

G102711

RETAINER COLLAR,19.3 mm ID x 32.97 mm OD

- O-ring

1шт.

6

G33075

RETAINER,12.2mm ID, 27.9mm OD

SEAT - centering spring

2шт.

7

1986611C1

SPRING

- centering, spool, clam section

1шт.

8

G106409

SEAT

SCREW - spool end

1шт.

9

G106410

SPACER

- screw

1шт.

10

G33080

CAP

- spool end, lower

1шт.

G33122

PLUG,ORB

ASSEMBLY - load check valve port, Includes: Ref. 11 - 14

2шт.

11

NSS

NOT SOLD SEPARAT

PLUG - load check valve

1шт.

12

238-6018

O-RING,0.07" Thk x 0.739" ID, -18, Cl 6, 90 Duro

1шт.

Part of seal kit P/N 1346105C1.

1шт.

13

237-6012

O-RING,0.116" Thk x 0.924" ID, -912, Cl 6, 90 Duro

12-1, 90 Duro, .924 ID x .116" Thk

1шт.

Part of seal kit P/N 1346105C1.

1шт.

14

G35540

BACK-UP RING,19.43mm ID x 22.23mm OD x 1.32mm Thk

- backup, small O-ring

1шт.

Part of seal kit P/N 1346105C1.

1шт.

1346219C2

PACKAGE

VALVE ASSEMBLY - load check, hollow poppet pin, Includes: Ref. 15 - 19

2шт.

15

1343777C1

VALVE POPPET,6.9mm ID x 17.5mm OD x 18.8mm L

POPPET - hollow poppet pin with orifice, load check

1шт.

16

1346175C1

SPRING,Compression, 6.6mm OD x 21.93mm L

- load check

1шт.

17

1343708C1

PLUG

- load check

1шт.

18

238-6016

O-RING,0.07" Thk x 0.614" ID, -16, Cl 6, 90 Duro

Plug (Replaces G110020) -016, 90 Duro, .614" ID x .070" Thk

1шт.

Part of seal kit P/N 1346105C1.

1шт.

19

G103862

BACK-UP RING,15.77mm ID x 18.67mm OD x 1.32mm Thk

- backup, plug O-ring

2шт.

Part of seal kit P/N 1346105C1.

1шт.

1346105C1

SEAL KIT

KIT - seal, Includes: Ref. 3, 4, 12 - 14, 18 and 19, plus additional O-rings not required for this application

1шт.

Выбрано товаров: 30