Запчасти Case 590 (9-012) - LOADER FRAME AND MOUNTING PARTS (09) - CHASSIS/ATTACHMENTS

Схема запчастей Case 590 - (9-012) - LOADER FRAME AND MOUNTING PARTS (09) - CHASSIS/ATTACHMENTS
15
23
13
6
4
8
53
18
12
3
11
4
26
21
9
27
17
26
1a
6
54
20
19
3
53
26
18a
10
24
53
16
2
8
3
14
2
22
5
1
3
7
21
25
FIT
1:1
100%

Артикул

Название

Примечание

Количество

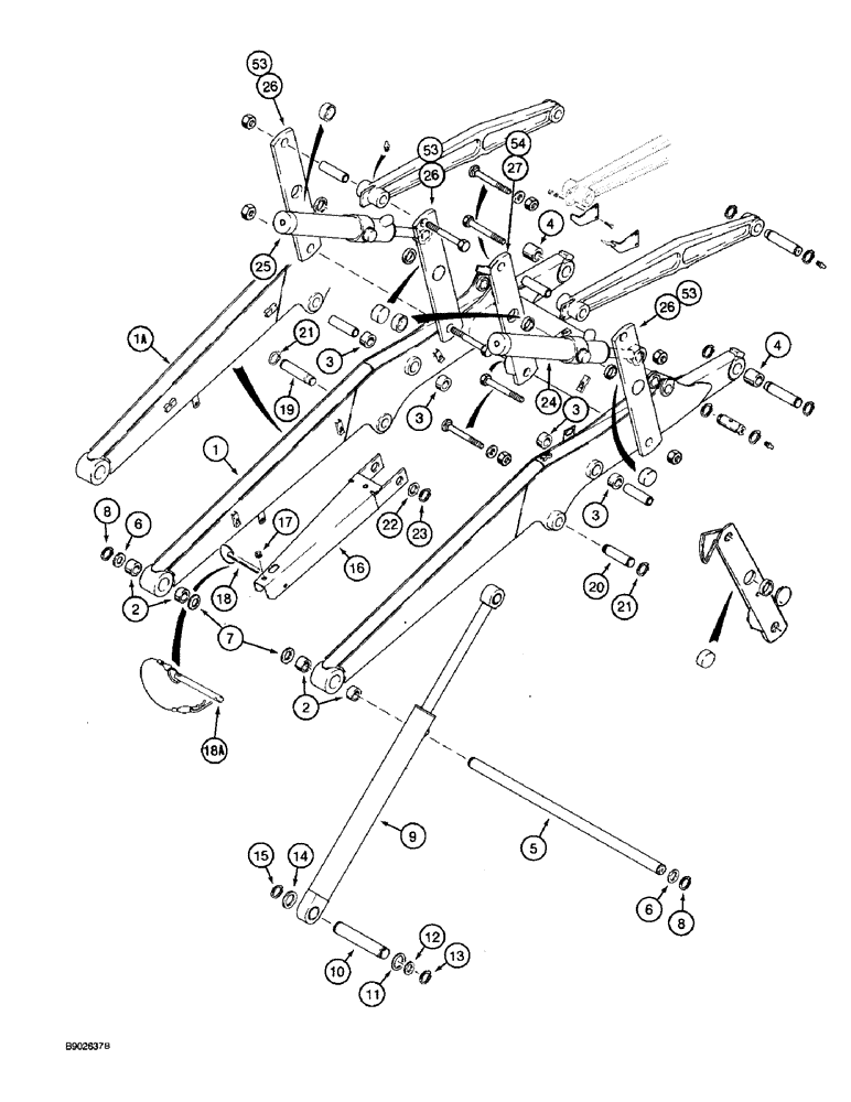
1

D148967

FRAME

- loader lift, with (6) 7/16 inch vertical tube clamp cages on inner arms, no longer available, order D150763 lift frame, (4) D150569 clamp, (4) 413-514 bolt, (4) 492-11031 washer, and (4) 129-286 nut, Ref. 1A below and 34-37 on Fig.8-15

1шт.

1a

D150763

FRAME

- loader lift, with (2) 5/16 inch horizontal tube clampc ages and (4) 3/8 inch horizontal tube clamp cages on inner arms, Includes: Ref. 2 - 4

1шт.

2

D127542

BUSHING,50.2mm ID x 60mm OD x 30mm L

- loader frame pivot

4шт.

3

100696A1

BUSHING,38.41mm ID x 47.65mm OD x 28.6mm L

Bucket cylinder link pivot (Replaces D37763 bushing)

4шт.

4

D129240

BUSHING,40.23mm ID x 50mm OD x 70mm L

- bucket mounting

2шт.

5

111522A1

PIN,50mm OD x 1113.4mm L

SHAFT - loader lift frame pivot (replaces D145767 shaft)

1шт.

6

495-81282

WASHER,2 1/16" x 3" x .109"

- flat, 2-1/16 x 3 x 1/8 inch

2шт.

7

R28028

WASHER

SPRING - Belleville, special, lift frame pivot shaft seal, if used

2шт.

8

800-44050

SNAP RING,M50, Ext

RING - snap, lift frame pivot shaft retaining

2шт.

9

REF

INSTRUCTION

CYLINDER ASSEMBLY - loader lift, right-hand and left-hand, left-hand not shown, for correct assembly and components, see figure 8-100 or 8-102

2шт.

10

D135669

PIN,50mm OD x 277mm L

- lift cylinder pivot, closed end

2шт.

11

D143431

WASHER

- special, outer side only

2шт.

12

495-81226

WASHER,46.02mm ID x 63.5mm OD x 3.35mm Thk

- flat, 1-13/16 x 2-1/2 x 1/8 inch, outer

2шт.

13

103-16175

SNAP RING,#175, Ext

Ring, Snap, , Pin, Lift cylinder closed end, outer #175, Ext

2шт.

14

495-81282

WASHER,2 1/16" x 3" x .109"

- flat, 2-1/16 x 3 x 1/8 inch

2шт.

15

800-44050

SNAP RING,M50, Ext

RING - snap, pin retaining, lift cylinder closed end, inner

2шт.

16

D138247

STRUT

- support, loader frame, left-hand lift arm only

1шт.

17

D121047

GROMMET

- support strut

1шт.

18

D120675

HITCH PIN

PIN - lock, cotterless hitch, no longer available, order Ref. 18A, 104824A1, lock pin

1шт.

18a

104824A1

PIN,12.7mm OD

lock, Incl lanyard and hair pin, Loader support

1шт.

19

D135603

PIN,40mm OD x 178mm L

- left-hand lift cylinder rod end

1шт.

20

D135604

AXLE PIN,40mm OD x 152mm L

PIN - right-hand lift cylinder rod end

1шт.

21

800-44040

SNAP RING,M40, Ext

RING - snap, pin retaining, lift cylinder rod end, outer

2шт.

22

495-81294

WASHER,1.44" ID x 2" OD x 0.07" Thk

- flat, 1-7/16 inch ID x 2 inch O.D. x 1/16 inch thick, inner

2шт.

23

800-44035

SNAP RING,M35, Ext

RING - snap, pin retaining, lift cylinder rod end, inner

2шт.

24

REF

INSTRUCTION

CYLINDER ASSEMBLY - loader bucket, right-hand, for correct assembly and components, see figure 8-104 or 8-105A

1шт.

25

REF

INSTRUCTION

CYLINDER ASSEMBLY - loader bucket, left-hand, for correct assembly and components, see figure 8-104 or 8-105A

1шт.

26

D146495

PITMAN

LINK - bucket cylinder, outer right-hand and inner and outer left-hand, no longer available, replaced by Ref. 53, D151153 link, see note on figure 9-14

3шт.

27

D150952

LINK ASSY.

bucket cylinder, right-hand inner, with return-to-dig indicator and with extra hole for antirollback rod, models without clam bucket, Replaces: P/N D146496

1шт.

See Ref. 28 for models with clam bucket, no longer available, replaced by Ref. 54 P/N D151154 link, see note on Fig. 9-14

1шт.

Выбрано товаров: 30