Запчасти Case 590 (9-058) - UNIVERSAL BACKHOE BUCKETS, 24" (610 MM) & 30" (762MM) WIDE, 24" (610MM)WIDE TRENCHING BUCKET & TEETH (09) - CHASSIS/ATTACHMENTS

Схема запчастей Case 590 - (9-058) - UNIVERSAL BACKHOE BUCKETS, 24" (610 MM) & 30" (762MM) WIDE, 24" (610MM)WIDE TRENCHING BUCKET & TEETH (09) - CHASSIS/ATTACHMENTS
6
5
2
12
5
7
10
11
4
1
8
7
9
3
6
FIT
1:1
100%

Артикул

Название

Примечание

Количество

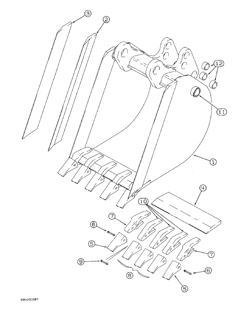
1

D150348

BUCKET

ASSEMBLY - 24 inch (610 mm), with 5 teeth, machinery item, order from the Machinery Price List, Includes: Ref. 2 - 12

1шт.

2

D146421

EDGE, CUTTING

EDGE - cutting, bucket, right-hand side

1шт.

3

D146420

EDGE, CUTTING

EDGE - cutting, bucket, left-hand side

1шт.

4

D142012

EDGE, CUTTING,597mm W x 165.1mm L

EDGE - cutting, center, 24 inch (610 mm) bucket

1шт.

D139851

BUCKET TOOTH

TOOTH, BUCKET, Assy - outer corners, Includes Ref 5 - 7

2шт.

5

D39093

TOOTH

POINT - tooth, outer corners

1шт.

6

D134686

SPLIT PIN/SAFETY PIN

PIN - flex, outer point and shank

1шт.

7

D138157

SHANK

- tooth, outer corners

1шт.

D139849

BUCKET TOOTH

TOOTH ASSEMBLY - center (order components), Includes Ref 8 - 10

3шт.

8

D51750

BUCKET TOOTH POINT

POINT - tooth, center

1шт.

9

D134686

SPLIT PIN/SAFETY PIN

PIN - flex, center point and shank

1шт.

10

D48212

SHANK

- tooth, center

1шт.

11

D37495

BUSHING,44.76mm ID x 57.15mm OD x 31.75mm L

- 1-3/4 x 2-1/4 x 1-1/4 inch

2шт.

12

D30933

BUSHING,38.41mm ID x 47.63mm OD x 31.75mm L

- 1-1/2 x 1-7/8 x 1-1/4 inch

6шт.

1

D150364

BUCKET

ASSEMBLY - 30 inch (762 mm), with 5 teeth, not shown, machinery item, order from the Machinery Price List, Includes: Ref. 2 - 12, wide trenching, heavy duty

1шт.

2

D146421

EDGE, CUTTING

EDGE - cutting, bucket, right-hand side, 30 inch (762 mm) wide trenching bucket and teeth, heavy duty

1шт.

3

D146420

EDGE, CUTTING

EDGE - cutting, bucket, left-hand side, 30 inch (762 mm) wide trenching bucket and teeth, heavy duty

1шт.

4

D145061

EDGE, CUTTING

EDGE - cutting, center, 30 inch (762 mm) bucket, 30 inch (762 mm) wide trenching and teeth, heavy duty

1шт.

D139851

BUCKET TOOTH

TOOTH, BUCKET, Assy - outer corners, Includes Ref 5 - 7, 30 inch (762 mm) wide trenching bucket and teeth, heavy duty

2шт.

5

D39093

TOOTH

POINT - tooth, outer corners, 30 inch (762 mm) wide trenching bucket and teeth, heavy duty

1шт.

6

D134686

SPLIT PIN/SAFETY PIN

PIN - flex, outer point and shank, 30 inch (762 mm) wide trenching bucket and teeth, heavy duty

1шт.

7

D138157

SHANK

- tooth, outer corners, 30 inch (762 mm) wide trenching bucket and teeth, heavy duty

1шт.

D139849

BUCKET TOOTH

TOOTH ASSEMBLY - center (order components), Includes Ref 8 - 10, 30 inch (762 mm) wide trenching bucket and teeth, heavy duty

3шт.

8

D51750

BUCKET TOOTH POINT

POINT - tooth, center, 30 inch (762 mm) wide trenching bucket and teeth, heavy duty

1шт.

9

D134686

SPLIT PIN/SAFETY PIN

PIN - flex, center point and shank, 30 inch (762 mm) wide trenching bucket and teeth, heavy duty

1шт.

10

D48212

SHANK

- tooth, center, 30 inch (762 mm) wide trenching bucket and teeth, heavy duty

1шт.

11

D37495

BUSHING,44.76mm ID x 57.15mm OD x 31.75mm L

- 1-3/4 x 2-1/4 x 1-1/4 inch, 30 inch (762 mm) wide trenching bucket and teeth, heavy duty

2шт.

12

D30933

BUSHING,38.41mm ID x 47.63mm OD x 31.75mm L

- 1-1/2 x 1-7/8 x 1-1/4 inch, 30 inch (762 mm) wide trenching bucket and teeth, heavy duty

6шт.

Выбрано товаров: 28