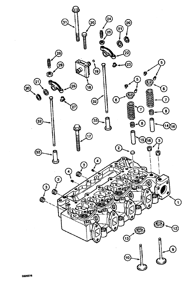
Запчасти Case 590 (2-32) - CYL. HEAD & VALVE MECHANISM, 4T-390 ENG., PRIOR TO ENG. SER. NO. 44559644 (02) - ENGINE

Схема запчастей Case 590 - (2-32) - CYL. HEAD & VALVE MECHANISM, 4T-390 ENG., PRIOR TO ENG. SER. NO. 44559644 (02) - ENGINE
29
32
23
15
2
22
30
6
21
4
3
24
12
10
27
1
16
14
33
3
19
20
13
16
26
8
18
8
3
25
20
7
6
5
33
4
26
7
5
17
32
3
21
9
31
FIT
1:1
100%

Артикул

Название

Примечание

Количество

JR910275

HEAD (CYLINDER)

HEAD - cylinder, remanufactured, North America only, prior to Engine Serial Number 44559644, component parts shown on this figure do not apply to the remanufactured assembly

1шт.

JC910275

CORE-CYLINDER HEAD

RETURN NUMBER - use this part number to return head core for credit when using a remanufactured assembly, prior to Engine Serial Number 44559644

1шт.

1

J910275

HEAD (CYLINDER)

HEAD ASSEMBLY - cylinder, with valves, prior to Engine Serial Number 44559644, Includes: Ref. 1 - 10

1шт.

1

J913389

HEAD (CYLINDER)

HEAD ASSEMBLY - cylinder, without valves, prior to Engine Serial Number 44559644, Includes: Ref. 2

1шт.

2

A77783

PLUG

- expansion, 21 mm O.D., replaces J902606

3шт.

3

A77429

PLUG

- hex socket, 1/2 inch PT (one removed to install temperature sending unit)

5шт.

4

J906619

PLUG,1/8" - 27

- hex, 1/8 inch PT

2шт.

5

CASJ900250

RETAINER

KEEPER - valve

16шт.

6

J900299

RETAINER

- valve spring

8шт.

7

J900276

VALVE SPRING

SPRING - valve

8шт.

8

J901097

SEAL

- valve

8шт.

9

J920867

VALVE

- intake, replaces J901117

4шт.

10

J920868

VALVE

- exhaust, replaces J901607

4шт.

12

J906854

SEAT, VALVE

SEAT - insert, intake valve, service repair only

4шт.

13

J904105

SEAT, VALVE

SEAT - insert, exhaust valve, service repair only

4шт.

14

J904408

GUIDE

- valve, intake, 14 mm O.D., service repair only

4шт.

These parts are semi-finished valve guides.

1шт.

15

J904409

GUIDE

- valve, exhaust, 14 mm O.D., service repair only

4шт.

These parts are semi-finished valve guides.

1шт.

16

J906206

GUIDE

- valve, intake and exhaust, 11 mm O.D., service repair only

8шт.

These parts are semi-finished valve guides.

1шт.

17

J920779

BOLT,Flng, M12 x 1.75 x 70mm, Cl 12.9

BOLT, SPECIAL - cylinder head, 70 mm long, replaces J903938 and J918471

4шт.

17

J920780

BOLT,Flng, M12 x 1.75 x 120mm, Cl 12.9

- cylinder head, 120 mm long, replaces J903939 and J918472

10шт.

18

J910814

SUPPORT

AND SHAFT ASSEMBLY - rocker arm, Includes: Ref. 19

4шт.

19

J907555

PLUG

- rocker arm shaft, 1/4-18 PT

1шт.

20

J900242

SNAP RING

RING - retaining, rocker arm

8шт.

21

J900245

WASHER

- thrust, rocker arm

8шт.

22

J910811

ROCKER

ARM ASSEMBLY - rocker, intake, Includes: Ref. 23 and 24

4шт.

23

NSS

NOT SOLD SEPARAT

INSERT - rocker arm

1шт.

24

J937438

ADJUSTMENT SCREW,Hex Skt, 3/8" - 24 x 33mm, Adj, Ball Point

SCREW - slotted set, adjusting, special

1шт.

25

425-116

NUT,3/8" - 24, Gr 5

- hex, 3/8 inch NF

1шт.

26

J910810

ROCKER

ARM ASSEMBLY - rocker, exhaust, Includes: Ref. 27 - 29

4шт.

27

NSS

NOT SOLD SEPARAT

INSERT - rocker arm

1шт.

28

J937438

ADJUSTMENT SCREW,Hex Skt, 3/8" - 24 x 33mm, Adj, Ball Point

SCREW - slotted set, adjusting, special

1шт.

29

425-116

NUT,3/8" - 24, Gr 5

- hex, 3/8 inch NF

1шт.

30

814-8075

BOLT,Hex, M8 x 1.25 x 75mm, Cl 8.8

4шт.

31

J920781

BOLT,Flng, M12 x 1.75 x 180mm, Cl 12.9

BOLT, SPECIAL - rocker arm and cylinder head, replaces J903940

4шт.

32

J923262

PUSH ROD

ROD - push, rocker arm, replaces J904679

8шт.

33

J907240

TAPPET

- valve, push rod

8шт.

Выбрано товаров: 39