Запчасти Case 26C (072) - D39047 BACKHOE CONTROL VALVE, D40748 BACKHOE BOOM SECTION

Схема запчастей Case 26C - (072) - D39047 BACKHOE CONTROL VALVE, D40748 BACKHOE BOOM SECTION
FIT
1:1
100%

Артикул

Название

Примечание

Количество

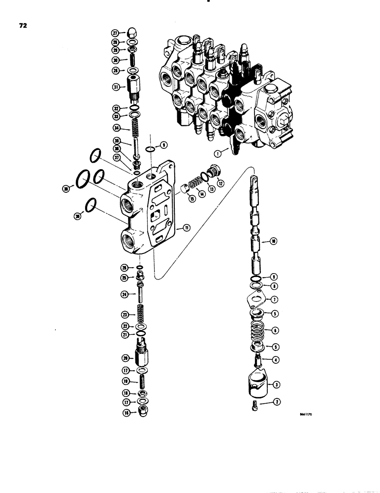
1

D40748

SECTOR

BOOM SECTION - backhoe control valve, Includes: Ref. 1 - 39

1шт.

2

71-412

SCREW,Slotted Fil Hd, 1/4"-20 x 3/4"

FHMS - 1/4" - 20 NC x 3/4"

2шт.

3

D26823

CAP

- boom section

1шт.

4

D26833

BOLT

- stripper, special

1шт.

5

D26831

GUIDE

- spring

2шт.

6

D40201

SPRING

- centering

1шт.

7

D26830

PLATE

- retaining

1шт.

8

D26829

RING

- backup

1шт.

9

D36830

RING

SEAL - quad ring

2шт.

10

NSS

NOT SOLD SEPARAT

SPOOL - boom section

1шт.

11

NSS

NOT SOLD SEPARAT

HOUSING - boom section

1шт.

12

D30696

CYLINDER END CAP

CAP - check valve

1шт.

13

A35104

O-RING,0.103" Thk x 0.862" ID, -118, Cl 5, 75 Duro

- cap

1шт.

14

D26826

COMPRESSION SPRING

SPRING - check valve

1шт.

15

D26824

SPOOL

POPPET - check valve

1шт.

D42866

VALVE

CARTRIDGE - secondary relief, lower, not preset-must be set to correct pressure when installed on valve, Includes: Ref. 16 - 26 and BE

1шт.

16

129-526

CROWN NUT,Low, 3/8" - 24

- acorn, 3/8" - 24 NF

1шт.

17

23150

WASHER

GASKET - copper

2шт.

18

25-156

JAM NUT,Jam, 3/8"-24, G5

- hex,lock, 3/8" - 24 NF

1шт.

19

D38814

ADJUSTMENT SCREW,3/8" - 24

SCREW - set, special

1шт.

20

NSS

NOT SOLD SEPARAT

BODY - cartridge

1шт.

21

D26872

O-RING

- body

1шт.

22

D31450

WASHER

- gasket

1шт.

be

D42865

VALVE POPPET

KIT - seat and poppet, Includes: Ref. 23 - 26

1шт.

23

NSS

NOT SOLD SEPARAT

SPRING - relief valve

1шт.

24

NSS

NOT SOLD SEPARAT

POPPET - relief valve

1шт.

25

NSS

NOT SOLD SEPARAT

SEAT - relief valve

1шт.

26

D31411

O-RING,0.07" Thk x 0.239" ID, -10, Cl 6, 90 Duro

-010, 90 Duro, .239" ID x .070" Thk, seat

1шт.

D39454

CARTRIDGE

- secondary relief, upper, not preset-must be set to correct pressure when installed on valve, Includes: Ref. 27 - 37

1шт.

27

129-526

CROWN NUT,Low, 3/8" - 24

- acorn, 3/8" - 24 NF

1шт.

28

23150

WASHER

GASKET - copper

2шт.

29

25-156

JAM NUT,Jam, 3/8"-24, G5

- hex, lock, 3/8" - 24 NF

1шт.

30

D38814

ADJUSTMENT SCREW,3/8" - 24

SCREW - set, special

1шт.

31

NSS

NOT SOLD SEPARAT

BODY - cartridge

1шт.

32

D26872

O-RING

- body

1шт.

33

D31450

WASHER

- gasket

1шт.

34

D40778

VALVE SPRING

SPRING - relief valve

1шт.

D40189

PACKAGE

KIT - seat and poppet, Includes: Ref. 35 - 37

1шт.

35

NSS

NOT SOLD SEPARAT

POPPET - relief valve

1шт.

36

NSS

NOT SOLD SEPARAT

SEAT - relief valve

1шт.

37

D31411

O-RING,0.07" Thk x 0.239" ID, -10, Cl 6, 90 Duro

-010, 90 Duro, .239" ID x .070" Thk, seat

1шт.

38

D26820

O-RING,0.103" Thk x 1.549" ID, -129, Cl 5, 75 Duro

- large

1шт.

39

D26819

O-RING,1.299" ID x 1.505" OD

- small

3шт.

Выбрано товаров: 43