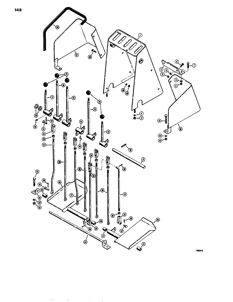
Запчасти Case 26C (148) - CONTROLS WITH FOOT SWING FOR 350 CRAWLER

Схема запчастей Case 26C - (148) - CONTROLS WITH FOOT SWING FOR 350 CRAWLER
FIT
1:1
100%

Артикул

Название

Примечание

Количество

1

D56529

BOOM

CONSOLE - backhoe control

1шт.

3

25-106

NUT,3/8"-16, G5

- hex, 3/8" - 16 NC

2шт.

4

92-6

LOCK WASHER,3/8"

2шт.

5

D38292

COVER PLATE

BRACKET - console mounting

1шт.

6

13-616

BOLT,Hex, 3/8" - 16 x 1", Gr 5, Full Thd

2шт.

7

13-628

BOLT,Hex, 3/8" - 16 x 1-3/4", Gr 5

2шт.

8

92-6

LOCK WASHER,3/8"

4шт.

9

25-106

NUT,3/8"-16, G5

- hex, 3/8" - 16 NC

4шт.

10

138-98

LOCK PIN,3/16" x 1 1/4", Slotted

PIN, 3/16" x 1 1/4", Slotted

1шт.

11

D30817

SHAFT

- control levers

1шт.

12

D49984

HANDLE

LEVER - control, R.H. stabilizer

1шт.

13

D49994

HANDLE

LEVER - control, boom

1шт.

14

D48252

ANCHOR

LEVER - pivot, swing

1шт.

15

D49995

HANDLE

LEVER - control, dipper

1шт.

16

D49993

HANDLE

LEVER - control, bucket

1шт.

17

D49983

HANDLE

LEVER - control, L.H. stabilizer

1шт.

18

219-4

LUBE NIPPLE,1/8" - 27 NPTF

FITTING - grease, straight, 1/8" NPT

5шт.

19

219-89

LUBE NIPPLE,45 Degree Elbow, 1/8" NPTF

FITTING - grease, 45º, 1/8" NPT

1шт.

20

195-2097

WASHER,15/16" x 1 3/4" x .083"

- flat, 15/16"

1шт.

21

D49996

KNOB

- control lever

5шт.

22

132-25

COTTER PIN,3/32" x 5/8"

Pin, Split (Cotter), 3/32" x 5/8"

6шт.

23

141-4

CLEVIS PIN,3/8" x 1.060"

PIN, CLEVIS, , Mounting 3/8" x 1.060"

6шт.

24

213-4

ADJUSTABLE CLEVIS,3/8"-24 x 2 1/2"

YOKE - connecting rod

6шт.

25

25-156

JAM NUT,Jam, 3/8"-24, G5

- hex, lock, 3/8" - 24 NF

8шт.

26

D30821

ROD

- straight, connecting

4шт.

27

D38314

ROD

- bent, connecting

2шт.

28

132-25

COTTER PIN,3/32" x 5/8"

Pin, Split (Cotter), 3/32" x 5/8"

6шт.

29

141-3

CLEVIS PIN,5/16" x .940"

PIN, CLEVIS, , Yoke mounting 5/16" x .940"

6шт.

30

132-25

COTTER PIN,3/32" x 5/8"

Pin, Split (Cotter), 3/32" x 5/8"

3шт.

31

D21762

ROD

- connecting, R.H. swing control

1шт.

32

141-4

CLEVIS PIN,3/8" x 1.060"

PIN, CLEVIS, , Mounting 3/8" x 1.060"

1шт.

33

213-4

ADJUSTABLE CLEVIS,3/8"-24 x 2 1/2"

YOKE - connecting rod

1шт.

34

D37600

YOKE

- connecting rod

1шт.

35

D30819

ROD

- connecting, L.H. swing control

1шт.

36

D47222

GUARD - swing pedal, R.H.

1шт.

37

D47223

GUARD - swing pedal, L.H.

1шт.

38

13-612

BOLT,Hex, 3/8" - 16 x 3/4", Gr 5, Full Thd

4шт.

39

92-6

LOCK WASHER,3/8"

4шт.

40

25-106

NUT,3/8"-16, G5

- hex, 3/8" - 16 NC

4шт.

41

13-832

BOLT,Hex, 1/2" - 13 x 2", Gr 5

2шт.

42

92-6

LOCK WASHER,3/8"

2шт.

43

25-106

NUT,3/8"-16, G5

- hex, 3/8" - 16 NC

2шт.

44

D40859

SHAFT

- swing pedals

1шт.

45

D40858

BRACKET - shaft

1шт.

46

D47224

PEDAL

- swing, R.H., Includes: Ref. 47

1шт.

47

D30706

BUSHING

- pedal

2шт.

48

D47225

PEDAL - swing, L.H., Includes: Ref. 49

1шт.

49

D30706

BUSHING

- pedal

2шт.

50

D47936

LINING

TRIM - edge, 24" (610 mm) long

2шт.

51

13-832

BOLT,Hex, 1/2" - 13 x 2", Gr 5

2шт.

52

92-8

LOCK WASHER,1/2"

2шт.

53

25-108

NUT,1/2"-13, G5

- hex, 1/2" - 13 NC

2шт.

Выбрано товаров: 52