Запчасти Case 26D (9-12) - BACKHOE MOUNTING PARTS, 450B, 450C/455C AND 550 CRAWLERS

Схема запчастей Case 26D - (9-12) - BACKHOE MOUNTING PARTS, 450B, 450C/455C AND 550 CRAWLERS
FIT
1:1
100%

Артикул

Название

Примечание

Количество

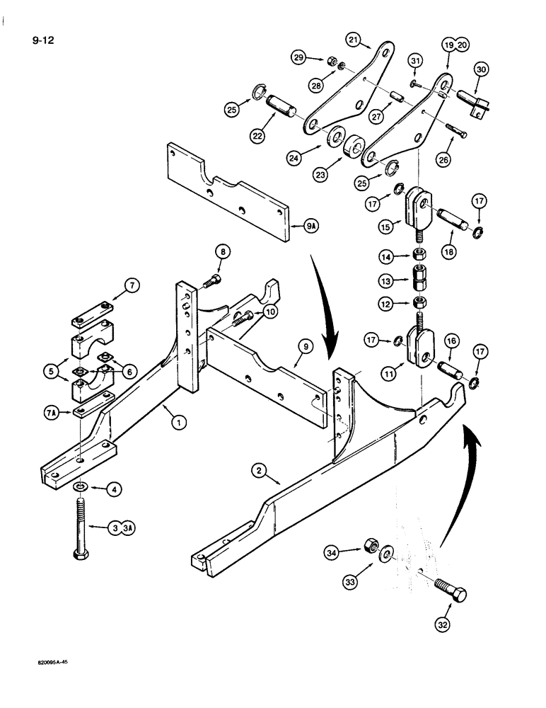
1

R50161

ARM

- support, lower, right-hand side of crawler

1шт.

2

R50160

ARM

- support, lower, left-hand side of crawler

1шт.

3

113-828

BOLT,Hex, 7/8" - 9 x 9", Gr 5

- hex head, 7/8" - 9 NC x 9", plated, used on 450B models

4шт.

3a

13-14160

BOLT,Hex, 7/8" - 9 x 10", Gr 5

- hex, 7/8 NC x 10 inch, used on 450C/455C and 550 models

4шт.

4

D34667

WASHER,23.02mm ID x 38.1mm OD x 3.57mm Thk

- 7/8", hardened

4шт.

5

D34663

CLAMP

- rear cross

4шт.

6

R28516

SPACER

- clamp

4шт.

7

D34722

BLOCK

- spacer, upper clamp

2шт.

7a

R48535

SPACER

BLOCK - spacer, lower clamp, used on 450C/455C and 550 models

2шт.

8

26-1228

BOLT,Hex, 3/4" - 10 x 1-3/4", Gr 8

- hex head, 3/4" - 10 NC x 1-3/4", grade 8, use with Loctite

6шт.

9

D37298

PLATE

- cross, support arms, used on 450B models

1шт.

9a

R48529

PLATE

- cross, support arms, used on 450C/455C and 550 models

1шт.

10

26-1240

BOLT,Hex, 3/4" - 10 x 2-1/2", Gr 8

- hex head, 3/4" - 10 NC x 2-1/2", grade 8, use with Loctite

2шт.

11

R36824

ROD

- tension, lower

2шт.

12

129-130

NUT,1"-14, G5

- hex, special, 1" - 14 NF, plated

2шт.

13

R36828

GUARD

ADJUSTER - tension rods

2шт.

14

129-330

NUT,1"-14, G5, LH

2шт.

15

R36826

ROD

- tension rod, upper

2шт.

16

D33816

PIN

- tension rod, lower

2шт.

17

D26918

SNAP RING,#125, Ext

Ring, Snap, , pin #125, Ext

8шт.

18

D25075

PIN

- tension rod, upper

2шт.

19

R46526

LINK ASSY.

LINK - upper, left-hand

1шт.

20

R46527

LINK

- upper, right-hand

1шт.

21

R46528

LINK

- backhoe

2шт.

22

D44840

PIN

- mounting, seat and tank frame

2шт.

23

R41393

SPACER

- link

2шт.

24

H224261

SPACER

- link

2шт.

25

D25279

SNAP RING,M35, Int

RING - snap, pin retaining

4шт.

26

113-447

BOLT,Hex, 1/2" - 13 x 3-1/2", Gr 5

2шт.

27

F65268

SPACER

- bracket

2шт.

28

92-8

LOCK WASHER,1/2"

2шт.

29

129-105

NUT,Hex, 1/2" - 13, Gr 5

2шт.

30

R46678

PIN

- mounting frame

2шт.

31

A30338

PIN

- retaining, self-locking

2шт.

32

13-2068

BOLT,Hex, 1-1/4" - 7 x 4-1/4", Gr 5

2шт.

33

D43745

WASHER

- hardened, 1-1/4"

2шт.

34

25-1020

NUT,1 1/4"-7, G5

2шт.

Выбрано товаров: 37