Запчасти Case 26D (9-36) - EXTENDABLE DIPPER

Схема запчастей Case 26D - (9-36) - EXTENDABLE DIPPER
FIT
1:1
100%

Артикул

Название

Примечание

Количество

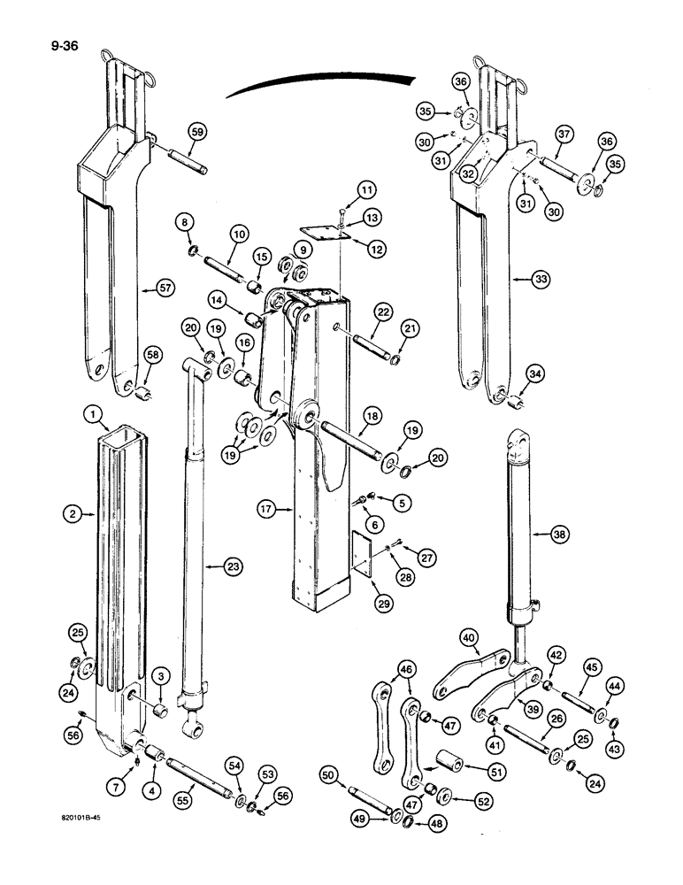
D55721

EXTENSION

DIPPER ASSEMBLY - extension, inner, Includes: Ref. 1 - 4

1шт.

1

NSS

NOT SOLD SEPARAT

DIPPER - extension, inner

1шт.

2

D55687

STRIP

PLATE - wear strip, dipper extension

8шт.

3

D37443

BUSHING,44.68mm ID x 57.15mm OD x 50.8mm L

- dipper, at bucket link

2шт.

4

D95213

BUSHING

- dipper, at bucket

2шт.

5

219-55

LUBE NIPPLE,90 Degree Elbow, 1/8" - 27 NPTF

NIPPLE, LUBE, , Used with Ref. 6 to lubricate dipper extension 90º, 1/8" NPT x .84" lg

1шт.

6

219-107

NOZZLE CAP

NOZZLE - extension, grease fitting, used with Ref. 5 to lubricate dipper extension

1шт.

7

219-1

LUBE NIPPLE,1/8" - 27 NPTF

FITTING - grease, straight, 1/8" NPT

2шт.

8

D25279

SNAP RING,M35, Int

RING - snap, pin retaining

2шт.

9

D28610

WASHER,38.5mm ID x 63.5mm OD x 2.66mm Thk

- spacer

1шт.

10

D53812

PIVOT PIN,1.5" OD x 10.14" L

PIN - dipper cylinder to extendable dipper

1шт.

11

113-207

BOLT,Hex, 3/8" - 16 x 1", Gr 5

4шт.

12

D99055

COVER

- end, dipper

1шт.

13

195-103

WASHER,5/16"

- flat, 3/8", plated

4шт.

D99052

HOUSING

ASSEMBLY - dipper, outer, Includes: Ref. 14 - 17

1шт.

14

D30741

BUSHING,38.33mm ID x 47.63mm OD x 50.8mm L

- right-hand ear, dipper cylinder mounting, 2" (51 mm) long

1шт.

15

D31141

BUSHING,38.33mm ID x 47.63mm OD x 41.15mm L

- left-hand ear, dipper cylinder mounting, 1-5/8" (41 mm) long

1шт.

16

D30756

BUSHING,51.02mm ID x 63.5mm OD x 31.8mm L

-, Serial Range: boom-dipper

2шт.

17

NSS

NOT SOLD SEPARAT

HOUSING - dipper, outer

1шт.

18

D45034

PIN

-, Serial Range: boom-dipper

1шт.

19

195-2155

WASHER,2 1/16" x 3" x .109"

- flat, 2-1/16 x 3 x 1/8 inch, boom to dipper

1шт.

20

D26919

SNAP RING,#200, Ext

Ring, Snap, , pin #200, Ext

2шт.

21

D25279

SNAP RING,M35, Int

RING - snap, pin retaining

2шт.

22

D44882

PIN,38.1mm OD x 203.2mm L

- extension, Serial Range: cylinder-housing

1шт.

23

G101203

CYLINDER

ASSEMBLY - dipper extension, parts list Figure 8-68

1шт.

24

D25280

SNAP RING,#175, Ext

Ring, Snap, , pin #175, Ext

2шт.

25

195-2152

WASHER,1 13/16" x 2 1/2" x .109"

- flat, 1-13/16 x 2-1/2 x 1/8 inch

2шт.

26

D53818

PIN,44.45mm OD x 278.89mm L

- extension cylinder to dipper and bucket links

1шт.

27

26-820

BOLT,Hex, 1/2" - 13 x 1-1/4", Gr 8

4шт.

28

192-23

LOCK WASHER,1/2"

WASHER, LOCK, 1/2"

4шт.

29

D75425

STOP

- dipper extension

1шт.

30

113-417

BOLT,Hex, 1/2" - 13 x 1-1/4", Gr 5, Full Thd

If used Hex, 1/2"-13 x 1 1/4", G5, Full Thd

4шт.

31

192-23

LOCK WASHER,1/2"

WASHER, LOCK, , If used 1/2"

4шт.

32

D54095

BLOCK

- guide, D99054 extension only

2шт.

D99054

SPARE PART

EXTENSION ASSEMBLY - dipper, no longer used, order D136046 extension and D37604 pin, Ref. 57 - 59 on Fig. 9-38, Includes: Ref. 33 and 34

1шт.

33

NSS

NOT SOLD SEPARAT

EXTENSION - dipper

1шт.

34

D52521

BUSHING,44.68mm ID x 57.15mm OD x 26.92mm L

- bucket link pin

2шт.

35

D25279

SNAP RING,M35, Int

RING - snap, pin retaining

2шт.

36

D28610

WASHER,38.5mm ID x 63.5mm OD x 2.66mm Thk

- spacer

1шт.

37

D53576

PIN

- bucket cylinder to dipper, D99054 extension only

1шт.

38

G103503

CYLINDER BLOCK

CYLINDER ASSEMBLY - bucket, parts list Figure 8-66

1шт.

39

D99175

LINK ASSY.

LINK - guide, dipper and extension to dump links, right-hand

1шт.

40

D99758

LINK ASSY.

LINK - guide, dipper and extension to dump links, left-hand, Includes: Ref. 41 and 42

1шт.

41

D46405

BUSHING,44.68mm ID x 53.98mm OD x 19.05mm L

- link, dipper end

1шт.

42

D32919

BUSHING,38.4mm ID x 47.63mm OD x 19.05mm L

- link, bucket cylinder end

1шт.

43

D25279

SNAP RING,M35, Int

RING - snap, pin retaining

2шт.

44

D28610

WASHER,38.5mm ID x 63.5mm OD x 2.66mm Thk

- special

1шт.

45

D26002

PIN,38.1mm OD x 187.32mm L

- bucket cylinder to bucket linkage

1шт.

46

D99731

LINK

- dump, Includes: Ref. 47

2шт.

47

D30933

BUSHING,38.41mm ID x 47.63mm OD x 31.75mm L

- link

2шт.

48

D25279

SNAP RING,M35, Int

RING - snap, pin retaining

2шт.

49

D28610

WASHER,38.5mm ID x 63.5mm OD x 2.66mm Thk

- special

1шт.

50

D37614

PIN,38mm Od x 246mm L

-, Serial Range: link-bucket

1шт.

51

D44887

SPACER

- link

1шт.

52

74163

SPACER

WASHER - spacer

2шт.

53

D25280

SNAP RING,#175, Ext

Ring, Snap, , pin #175, Ext

2шт.

54

195-2156

WASHER,1 13/16" x 2 3/4" x .109"

- flat, 1-13/16 x 2-3/4 x 1/8 inch

1шт.

55

D123081

PIN,44.45mm OD x 370.84mm L

- dipper arm to bucket, used with all buckets except 12" (305 mm) buckets

1шт.

55

D40244

PIN,44.45mm OD x 327.02mm L

- dipper arm to bucket, used with 12" (305 mm) buckets

1шт.

56

219-1

LUBE NIPPLE,1/8" - 27 NPTF

FITTING - grease, straight, 1/8" NPT, if used

2шт.

D136046

ARM

EXTENSION ASSEMBLY - dipper, Includes: 57 and 58

1шт.

57

NSS

NOT SOLD SEPARAT

EXTENSION - dipper

1шт.

58

D43940

BUSHING,44.68mm ID x 57.15mm OD x 25.4mm L

- bucket link pin

2шт.

59

D37604

PIN

- bucket cylinder to dipper, D136046 extension only

1шт.

Выбрано товаров: 64