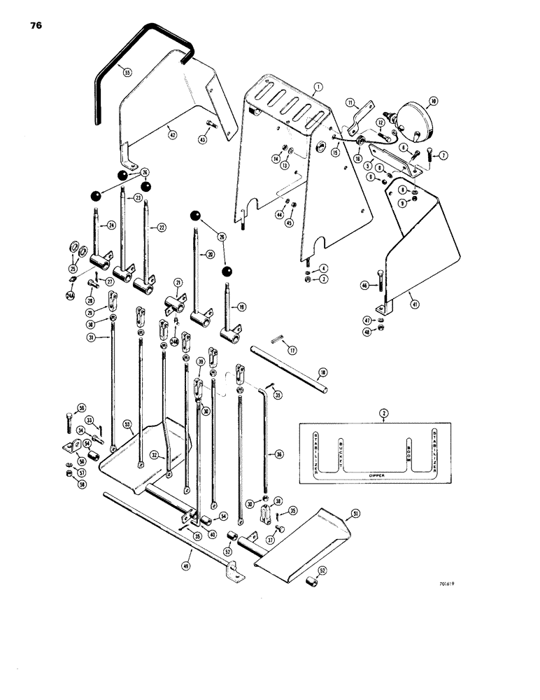
Запчасти Case 26S (076) - INDIVIDUAL LEVER BACKHOE CONTROL, FOOT SWING, FOR 480 AND 480 B TRACTORS, OR 310G AND 350 CRAWLERS

Схема запчастей Case 26S - (076) - INDIVIDUAL LEVER BACKHOE CONTROL, FOOT SWING, FOR 480 AND 480 B TRACTORS, OR 310G AND 350 CRAWLERS
FIT
1:1
100%

Артикул

Название

Примечание

Количество

1

D38311

BOOM

CONSOLE - backhoe control (Used before backhoe Sn. 5224733) When stock is exhausted, order D56529 console for service)

1шт.

1

D56529

BOOM

CONSOLE - backhoe control (Used on backhoe Sn. 5224733 and after as production item, prior to Sn. 5224733 as service replacement)

1шт.

2

321-921

DECAL

- control console (All backhoes except extendable dipper models, Sn. 5224733 and after)

1шт.

2a

321-2454

DECAL

- control console (Extendable dipper models, Sn. 5224733 and after) Not shown

1шт.

3

25-106

NUT,3/8"-16, G5

- hex. (3/8" - 16 NC)

2шт.

4

92-6

LOCK WASHER,3/8"

med. sect. 3/8"

2шт.

5

D38292

COVER PLATE

BRACKET - console mounting

1шт.

6

13-616

BOLT,Hex, 3/8" - 16 x 1", Gr 5, Full Thd

2шт.

7

13-628

BOLT,Hex, 3/8" - 16 x 1-3/4", Gr 5

2шт.

8

92-6

LOCK WASHER,3/8"

med. sect. 3/8"

4шт.

9

25-106

NUT,3/8"-16, G5

- hex. (3/8" - 16 NC)

4шт.

10

A20965

LAMP BASE

LIGHT - flood and tail (Parts list Figure 18) Not used on 310G units

1шт.

11

D30662

LINK

- light mounting

1шт.

12

13-816

BOLT,Hex, 1/2" - 13 x 1", Gr 5, Full Thd

1шт.

13

92-8

LOCK WASHER,1/2"

med. sect. 1/2"

1шт.

14

25-108

NUT,1/2"-13, G5

- hex. (1/2" - 13 NC)

1шт.

15

D38477

ELECTRICAL WIRE

WIRE - light

1шт.

16

D37936

GROMMET

- wire

1шт.

17

138-98

LOCK PIN,3/16" x 1 1/4", Slotted

PIN, 3/16" x 1 1/4", Slotted

1шт.

18

D30817

SHAFT

- control levers

1шт.

19

D48248

LEVER

- control, R.H. stabilizer (3/8" - 24 NF threaded end)

1шт.

19

D49984

HANDLE

LEVER - control, R.H. stabilizer (1/2" - 20 NF threaded end)

1шт.

20

D48109

LEVER

- control, boom (3/8" - 24 NF threaded end)

1шт.

When stock of 3/8" - 24 NF levers is exhausted, order proper 1/2" - 20 NF lever, (1) D49996 knob and (1) 219-4 grease fitting for service.

1шт.

20

D49994

HANDLE

LEVER - control, boom (1/2" - 20 NF threaded end)

1шт.

21

D48252

ANCHOR

LEVER - pivot, swing

1шт.

22

D48246

LEVER

- control, dipper (3/8" - 24 NF threaded end)

1шт.

22

D49995

HANDLE

LEVER - control, dipper (1/2" - 20 NF threaded end)

1шт.

23

D48108

LEVER

- control, bucket (3/8" - 24 NF threaded end)

1шт.

23

D49993

HANDLE

LEVER - control, bucket (1/2" - 20 NF threaded end)

1шт.

24

D48247

LEVER

- control, L.H. stabilizer (3/8" - 24 NF threaded end)

1шт.

24

D49983

HANDLE

LEVER - control, L.H. stabilizer (1/2" - 20 NF threaded end)

1шт.

24

D52509

LEVER - control, L.H. stabilizer (1/2" - 20 NF threaded end) Extendable dipper models only

1шт.

24a

219-15

LUBE NIPPLE,5/16" NPTF

FITTING - grease, straight (5/16" drive type) Used with 3/8" -24 NF threaded lever

6шт.

24a

219-4

LUBE NIPPLE,1/8" - 27 NPTF

FITTING - grease, straight (1/8" NPT) Used with 1/2" -20 NF threaded levers

5шт.

24b

219-89

LUBE NIPPLE,45 Degree Elbow, 1/8" NPTF

FITTING - grease, 45º (1/8" NPT) Used with 1/2" - 20 NF threaded levers

1шт.

25

195-2097

WASHER,15/16" x 1 3/4" x .083"

- flat, steel (15/16")

1шт.

26

70213

KNOB

- control lever (Used with 3/8" threaded levers)

5шт.

26

D49996

KNOB

- control lever (Used with 1/2" threaded levers)

5шт.

27

132-25

COTTER PIN,3/32" x 5/8"

Pin, Split (Cotter), 3/32" x 5/8"

6шт.

28

141-4

CLEVIS PIN,3/8" x 1.060"

PIN, CLEVIS, , Mounting 3/8" x 1.060"

6шт.

29

213-4

ADJUSTABLE CLEVIS,3/8"-24 x 2 1/2"

YOKE - connecting rod

6шт.

30

25-156

JAM NUT,Jam, 3/8"-24, G5

- hex., lock (3/8" - 24 NF)

8шт.

31

D38314

ROD

- bent, connecting

5шт.

32

D30821

ROD

- bent (Dipper control) (Replaces D38314)

1шт.

33

132-25

COTTER PIN,3/32" x 5/8"

Pin, Split (Cotter), 3/32" x 5/8"

6шт.

34

141-3

CLEVIS PIN,5/16" x .940"

PIN, CLEVIS, , Yoke mounting 5/16" x .940"

6шт.

35

132-25

COTTER PIN,3/32" x 5/8"

Pin, Split (Cotter), 3/32" x 5/8"

3шт.

36

D21762

ROD

- "L" bend, connecting (R.H. swing control)

1шт.

37

141-4

CLEVIS PIN,3/8" x 1.060"

PIN, CLEVIS, , Mounting 3/8" x 1.060"

1шт.

38

213-4

ADJUSTABLE CLEVIS,3/8"-24 x 2 1/2"

YOKE - connecting rod

1шт.

39

D37600

YOKE

- connecting rod

1шт.

40

30819

ROD - "L" bend, connecting (L.H. swing control)

1шт.

41

D47222

GUARD - swing pedal (R.H.)

1шт.

42

D47223

GUARD - swing pedal (L.H.)

1шт.

43

13-612

BOLT,Hex, 3/8" - 16 x 3/4", Gr 5, Full Thd

4шт.

44

92-6

LOCK WASHER,3/8"

med. sect. 3/8"

4шт.

45

25-106

NUT,3/8"-16, G5

- hex. (3/8" - 16 NC)

4шт.

46

13-832

BOLT,Hex, 1/2" - 13 x 2", Gr 5

2шт.

47

92-6

LOCK WASHER,3/8"

med. sect. 3/8"

2шт.

48

25-106

NUT,3/8"-16, G5

- hex. (3/8" - 16 NC)

2шт.

49

D40859

SHAFT

- swing pedals

1шт.

50

D40858

BRACKET - shaft

1шт.

51

D47224

PEDAL

- swing, R.H., Inlcudes: Ref. 52

1шт.

52

D30706

BUSHING

- pedal

2шт.

53

D47225

PEDAL - swing, L.H., Inlcudes: Ref. 54

1шт.

54

D30706

BUSHING

- pedal

2шт.

55

D47936

LINING

TRIM - Quickedge (24" long)

2шт.

56

13-628

BOLT,Hex, 3/8" - 16 x 1-3/4", Gr 5

2шт.

57

92-8

LOCK WASHER,1/2"

med. sect. 1/2"

2шт.

58

25-108

NUT,1/2"-13, G5

- hex. (1/2" - 13 NC)

2шт.

Выбрано товаров: 71