Запчасти Case 26S (016) - BACKHOE BUCKETS, OPTIONAL TYPES, BELLHOLE BUCKETS, MACHINERY ITEM

Схема запчастей Case 26S - (016) - BACKHOE BUCKETS, OPTIONAL TYPES, BELLHOLE BUCKETS, MACHINERY ITEM
FIT
1:1
100%

Артикул

Название

Примечание

Количество

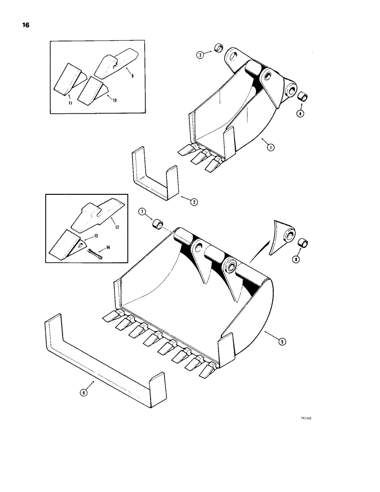
1

D41547

BUCKET

- backhoe, bellhole (12 inch), Includes: Ref. 2 - 4

1шт.

2

D37490

KNIFE

BLADE - cutting

1шт.

3

D40243

BUSHING,44.68mm ID x 57.15mm OD x 19.05mm L

- bucket, at dipper arm

2шт.

4

D30933

BUSHING,38.41mm ID x 47.63mm OD x 31.75mm L

- bucket, bucket link pin hole

2шт.

1

D41548

BUCKET

- backhoe, bellhole (16 inch), Includes: Ref. 2 - 4

1шт.

2

D37518

EDGE, CUTTING

BLADE - cutting

1шт.

3

D37495

BUSHING,44.76mm ID x 57.15mm OD x 31.75mm L

- bucket, at dipper arm

2шт.

4

D30933

BUSHING,38.41mm ID x 47.63mm OD x 31.75mm L

- bucket, bucket link pin hole

2шт.

1

D41549

BUCKET

- backhoe, bellhole (30 inch), Includes: Ref. 2 - 4

1шт.

2

D37515

EDGE

BLADE - cutting

1шт.

3

D37495

BUSHING,44.76mm ID x 57.15mm OD x 31.75mm L

- bucket, at dipper arm

2шт.

4

D30933

BUSHING,38.41mm ID x 47.63mm OD x 31.75mm L

- bucket, bucket link pin hole

2шт.

5

D41550

BUCKET

- backhoe, combination bellhole and graveyard (36 inch), combination bellhole & graveyard bucket (machinery item, Includes: Ref. 6 - 8

1шт.

6

NLS

NO LONGER SERVICED

BLADE - cutting, combination bellho;e & graveyard bucket (machinery item)

1шт.

7

D37495

BUSHING,44.76mm ID x 57.15mm OD x 31.75mm L

- bucket, at dipper arm, combination bellhole & gravyard bucket (machinery item)

2шт.

8

D30933

BUSHING,38.41mm ID x 47.63mm OD x 31.75mm L

- bucket, bucket link pin hole, combination bellhole & gravyard bucket (machinery item)

2шт.

9

D58499

SUPPORT

SHANK - tooth (Used on all backhoe buckets except D41550 bell hole bucket)

1шт.

9

D26368

SUPPORT

SHANK - tooth (Used on D41550 bell hole bucket),bucket teeth (standard)

1шт.

10

D58576

TOOTH

POINT - tooth (H & L Steel Company), bucket teeth (standard)

1шт.

10

D58577

TOOTH

POINT - tooth (American Steel Company), bucket teeth (standard)

1шт.

11

D58592

TOOTH

POINT - tooth (H & L Steel Company), bucket teeth (standard)

1шт.

11

D58593

TOOTH

POINT - tooth (American Steel Company), bucket teeth (standard)

1шт.

12

REF

INSTRUCTION

SHANK - tooth (No longer available), bucket teeth (service option)

1шт.

13

D39093

TOOTH

POINT - tooth, bucket teeth (service option)

1шт.

14

D39094

BUCKET TOOTH KEY

FLEX PIN - point, bucket teeth (service option)

1шт.

Выбрано товаров: 25