Запчасти Case 430CK (031A) - CYLINDER HEAD AND COVER, (188) DIESEL ENGINE, CASTING NUMBER A36296

Схема запчастей Case 430CK - (031A) - CYLINDER HEAD AND COVER, (188) DIESEL ENGINE, CASTING NUMBER A36296
FIT
1:1
100%

Артикул

Название

Примечание

Количество

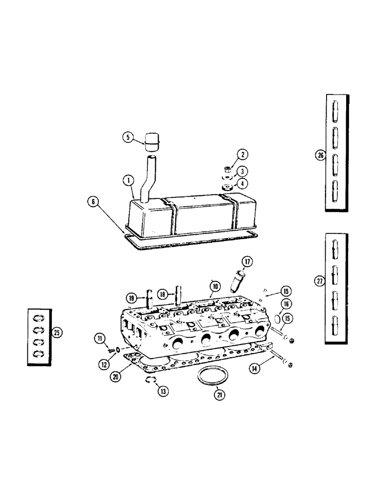
1

G11998

SPARE PART

COVER - valve

1шт.

2

25-106

NUT,3/8"-16, G5

- 3/8" N.C. hex.

2шт.

3

G49400

WASHER

- cover nut

2шт.

4

G46867

GROMMET

- rubber

2шт.

5

A36608

CAP

- breather

1шт.

6

A43050

SKELETON ENGINE

GASKET - cover to head (Replaces G46866)

1шт.

10

A36764

HEAD ASSY. - cylinder (Casting no. A36296) (See note), Inlcudes: Ref. 11 - 19

1шт.

11

G49083

BOLT

- drilled, gear cover

1шт.

12

193-77

LOCK WASHER,Int Tooth, 1/2"

WASHER, LOCK, Int Tooth, 1/2"

1шт.

13

NSS

NOT SOLD SEPARAT

INSERT - valve seat (See ref. 25)

4шт.

14

A35175

STUD

- manifold clamp, 3/8" N.C. x 2-7/16"

6шт.

15

A29431

STUD

- manifold & injector, 3/8" N.C. x 1-3/4"

12шт.

16

A30036

PLUG

- expansion, 1-3/4" dia.

1шт.

17

G11724

LINER

- fuel injector

4шт.

18

NSS

NOT SOLD SEPARAT

GUIDE - intake valve (See ref. 26)

4шт.

19

NSS

NOT SOLD SEPARAT

GUIDE - exhaust valve (See ref. 27)

4шт.

20

A36877

GASKET

-, Serial Range: head-block

1шт.

21

A36900

RING, PISTON

RING - fire, cylinder (Orange color code)

4шт.

21

A37031

RING

- fire, cylinder (Oversize) (Black color code)

4шт.

25

A43048

KIT

INSERTS - valve seat (Set of 4) (Replaces G11986)

1шт.

26

G11945

GUIDE

S - intake valve stem (Set of 4)

1шт.

27

G11946

GUIDE

S - exhaust valve stem (Set of 4)

1шт.

Выбрано товаров: 22