Запчасти Case 430CK (044) - FUEL SYSTEM, (188) DIESEL ENGINE

Схема запчастей Case 430CK - (044) - FUEL SYSTEM, (188) DIESEL ENGINE
FIT
1:1
100%

Артикул

Название

Примечание

Количество

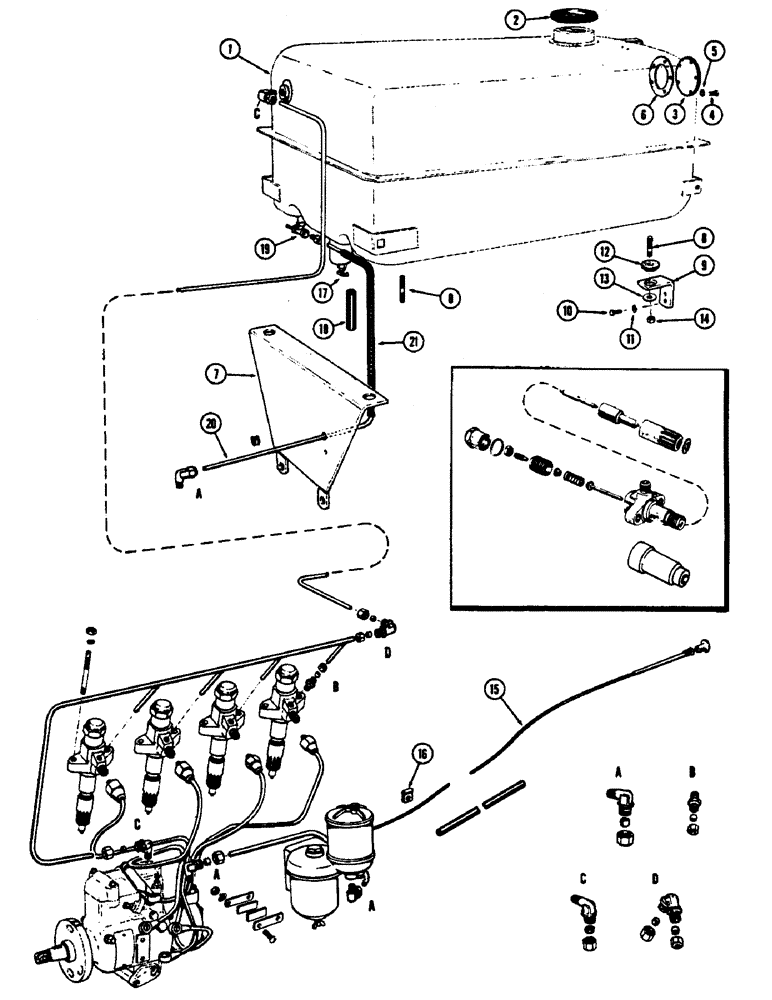
1

A36561

TANK

- fuel (1st used trac. ser. no. 8247916)

1шт.

1

A22449

FUEL TANK

TANK - fuel (Used prior to trac. ser. no. 8247916)

1шт.

2

A32119

CAP

- filler, 2-7/8" O.D. (Used w/A36561)

1шт.

2

A33558

CAP

- filler, 3-1/2" O.D. (Used w/A22449)

1шт.

A20619

GASKET

- cap

1шт.

3

G16143

COVER - opening, fuel tank

1шт.

4

174-96

SCREW,Sl Rnd Hd, #10 - 32 x 7/16"

- #10-32 x 7/16" rd. hd.

5шт.

5

92-3

LOCK WASHER,#10

WASHER, LOCK, #10

5шт.

6

A11822

GASKET

- cover

1шт.

7

A35629

SUPPORT - front, fuel tank

1шт.

8

A8373

STUD

- fuel tank, 3/8" N.F. x 2-7/16"

3шт.

9

A36177

SUPPORT - rear, fuel tank

1шт.

10

13-520

BOLT,Hex, 5/16" - 18 x 1-1/4", Gr 5

- 5/16 x 1-1/4" N.C. hex.

2шт.

11

92-5

LOCK WASHER,5/16"

2шт.

12

A7336

CUSHION

- rubber, fuel tank

6шт.

13

B18261

WASHER

- fuel tank stud

3шт.

14

131-5

LOCK NUT,3/8"-16, GB

NUT - 3/8" N.F. hex. lock

3шт.

15

A36573

CONTROL

WIRE - fuel shut-off

1шт.

16

A26673

CLIP

- shut-off wire

1шт.

17

217-107

VALVE

DRAIN COCK - fuel tank

1шт.

18

A22988

HOSE,0.25" ID x 15.00", SAE SC716 CS

- Drain 0.25" ID x 15.00", SAE SC716 CS

1шт.

19

A7313

VALVE

- needle

1шт.

222-104

SLEEVE,3/8" Tube

- for 3/8" Tube

1шт.

222-114

NUT,5/8"-24

NUT - for 3/8" tube

1шт.

20

A35630

TUBE

LINE - fuel, Serial Range: valve-filter

1шт.

21

A27241

LOOM

- fuel line

1шт.

Выбрано товаров: 26