Запчасти Case 480B (159A) - SEAT SUSPENSION, POST TYPE

Схема запчастей Case 480B - (159A) - SEAT SUSPENSION, POST TYPE
FIT
1:1
100%

Артикул

Название

Примечание

Количество

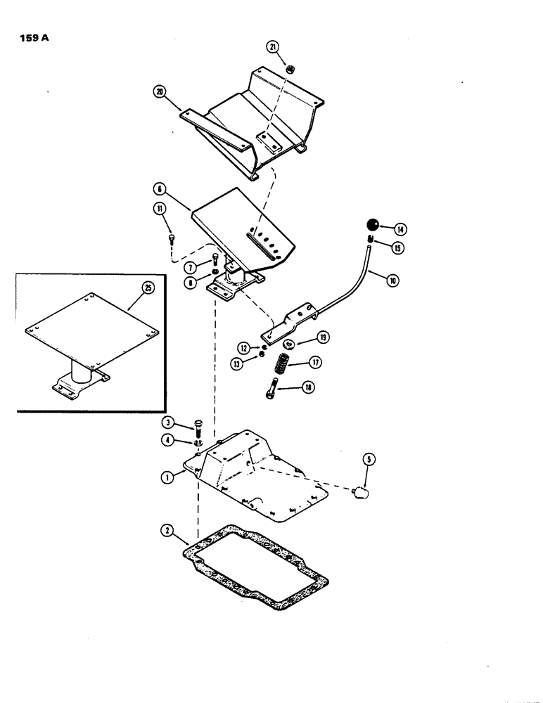
1

G1097

COVER - transmission rear top

1шт.

2

G10941

GASKET

- cover

1шт.

3

113-228

X

BOLT - 3/8 x 1-1/4" N.C. hex.

8шт.

3

113-236

X

BOLT - 3/8 x 2" N.C. hex.

2шт.

3

113-249

X

BOLT - 3/8 x 2-1/4" N.C. hex.

2шт.

4

92-6

LOCK WASHER,3/8"

12шт.

5

A27173

BREATHER

- transmission rear top cover

1шт.

6

D39500

POST ASSY. - seat mount (See ref. 25)

1шт.

7

13-616

BOLT,Hex, 3/8" - 16 x 1", Gr 5, Full Thd

4шт.

8

92-6

LOCK WASHER,3/8"

4шт.

10

D38450

LEVER

ASSY. - seat, adjustment hinge

1шт.

11

13-616

BOLT,Hex, 3/8" - 16 x 1", Gr 5, Full Thd

1шт.

12

92-6

LOCK WASHER,3/8"

1шт.

13

131-352

LOCK NUT,3/8"-16, GA

NUT - 3/8" N.C. hex. Gripco

1шт.

14

D38644

KNOB

- seat control

1шт.

15

D38662

RING

- tolerance, knob

1шт.

17

D38446

SPRING

- seat channel tension

1шт.

18

12-848

BOLT - 1/2 x 3" N.C. hex. Short NK, 1/2"-13 x 3", G2

1шт.

19

95-8

WASHER,1/2"

(9/16 x 1-3/8 x 7/64") 1/2"

1шт.

20

D38265

CHANNEL

ASSY. - seat mounting

1шт.

21

131-354

LOCK NUT,1/2"-13, GA

NUT - 1/2" N.C. hex., Gripco

1шт.

25

D56615

POST - seat mount (1st used trac. ser. no. 8730987) (Replaces ref. 6 thru 21)

1шт.

Выбрано товаров: 22