Запчасти Case 480B (018) - CYLINDER HEAD AND COVER, (188) DIESEL ENGINE, FIRST USED ENGINE SERIAL NUMBER 2711005

Схема запчастей Case 480B - (018) - CYLINDER HEAD AND COVER, (188) DIESEL ENGINE, FIRST USED ENGINE SERIAL NUMBER 2711005
38
18
21
20
28
2
17
15
34
6
19
4
31
23
22
35
27
29
7
16
5
3
36
37
40
8
1
30
35
FIT
1:1
100%

Артикул

Название

Примечание

Количество

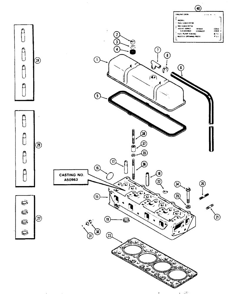
1

A3618

COVER - valve & head

1шт.

2

25-106

NUT,3/8"-16, G5

NUT - 3/8 " N.C. hex.

2шт.

3

G49400

WASHER

WASHER - cover nut (13/32 x 1-5/32 x 1/8 " )

2шт.

4

A142098

GROMMET

GROMMET - rubber, cover ( Replaces G46867)

2шт.

5

A43030

GASKET,3.05mm Thk

GASKET - cover to head ( Replaces G46866)

1шт.

6

A39570

HOSE

HOSE - breather (3/4 " I. D.)

1шт.

7

A9155

90 ELBOW

ELBOW - breather tube

1шт.

8

214-253

HOSE CLAMP,#10, 0.56" - 1.06", Type F Worm

CLAMP - hose, 9/16 " to 1-1/16 "

1шт.

15

A37856

CYLINDER HEAD

HEAD ASSY. - cylinder (Casting No. A50963 )

1шт.

For engines with aluminum manifold see instruction card 9-75475 attached to this head

1шт.

16

A39242

PLUG

PLUG - rear ( 1-3/4 " expansion type)

1шт.

17

NSS

NOT SOLD SEPARAT

GUIDE - exhaust valve (Order ref. 28)

4шт.

18

NSS

NOT SOLD SEPARAT

GUIDE - intake valve (Order ref. 29)

4шт.

19

NSS

NOT SOLD SEPARAT

INSERT - exhaust valve seat (Order ref. 27)

4шт.

20

A39129

STUD

STUD - manifold clamp (3/8 " N.C. x 2 -1/16 ")

6шт.

21

A29431

STUD

STUD - manifold (3/8 " N.C. x 1-3/4 ")

4шт.

22

41-1016

PLUG,Cup, 1"

PLUG - top (1 " cup type)

3шт.

23

A39279

GASKET

GASKET -, Serial Range: head-block

1шт.

27

A43048

KIT

INSERTS - exhaust valve seat (Setof 4) ( Replaces G11986 )

1шт.

28

G11946

GUIDE

GUIDES - exhaust valve stem (Set of 4)

1шт.

29

G11945

GUIDE

GUIDES - intake valve stem (Set of 4)

1шт.

30

A21462

SENDER UNIT

SENDER SENDER - engine temperature

1шт.

31

193-1000

NUT,Keps, w/LW,#10-32

NUT - #10-32 hex. (wire to sender)

1шт.

34

A39047

12 PT SCREW

BOLT - 1/2 x 3-1/2 " N.C., 12 pt. hd.

4шт.

34

A39048

12 PT SCREW

BOLT - 1/2 x 5-1/8 " N. C., 12 pt. hd.

1шт.

34

A39049

12 PT SCREW

BOLT - 1/2 x 5-5/8 " N.C., 12 pt. hd.

2шт.

35

A39046

WASHER,13.11mm ID x 22.23mm OD x 3.34mm Thk

WASHER - 1/2 x 7/8 x 1/8 "

19шт.

36

A36902

STUD

STUD - 1/2 " N.C. x 5-5/8 "

2шт.

37

A51114

NUT

NUT - 1/2 " N.C. x 3/8 " N. C.

2шт.

38

A51271

STUD

STUD - 3/8 " N.C. x 3-1/2 "

2шт.

40

321-2554

SPARE PART DECAL - engind data (1st used) eng. ser. no. 2726393 )

1шт.

40

321-1369

SPARE PART DECAL - engine data (Used prior to eng. ser. no. 2726393 )

1шт.

Выбрано товаров: 32