Запчасти Case 480B (039C) - FUEL INJECTION NOZZLE, (188) DIESEL ENGINE, FIRST USED ENGINE SERIAL NUMBER 2717963

Схема запчастей Case 480B - (039C) - FUEL INJECTION NOZZLE, (188) DIESEL ENGINE, FIRST USED ENGINE SERIAL NUMBER 2717963
FIT
1:1
100%

Артикул

Название

Примечание

Количество

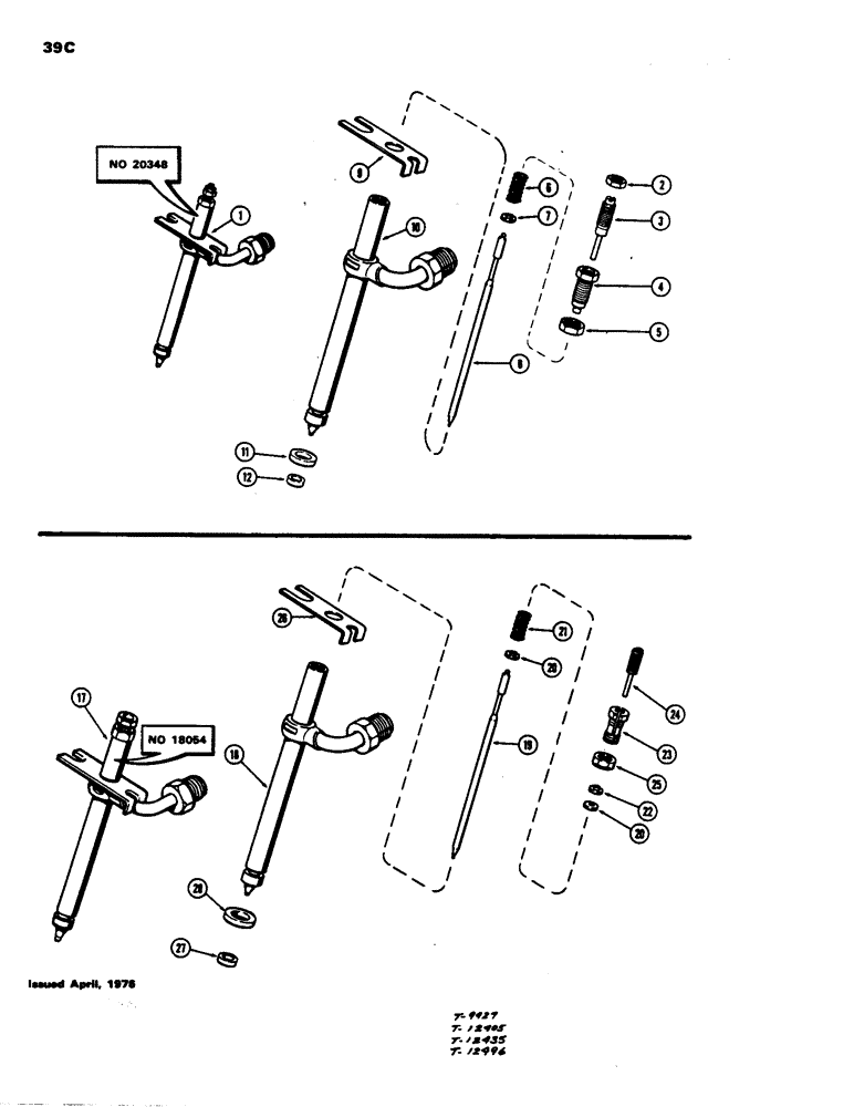
1

A51234

NOZZLE CAP

NOZZLE ASSY. - fuel injection (Supplier's No. 20348 stamped on body) (Order A140829), Includes: Ref. 2 - 12

4шт.

Whenever nozzle is removed from head washer ref 11 and seal ref 12 must be replaced before nozzle is installed back in head.

1шт.

A140829R

REMAN-INJECT NOZZLE

480B FIRST USED ENGINE SERIAL NUMBER 2717963, Reman For New P/N A51234

4шт.

A140829C

CORE-NOZZLE, INJECT

Return Number

1шт.

2

A43602

NUT

- lock, lift screw

1шт.

3

A43599

ADJUSTMENT SCREW,#10 - 56 x 1.39"

SCREW - lift adjusting

1шт.

4

A43600

ADJUSTMENT SCREW,#10 - 56 x 0.68"

SCREW - pressure adjusting

1шт.

5

A42424

LOCK NUT

- lock, pressure adjusting

1шт.

6

A43733

SPRING

- pressure (9/16" free length w/red stain)

1шт.

7

A44369

SEAT

- spring

1шт.

8

NSS

NOT SOLD SEPARAT

VALVE - nozzle

1шт.

9

A43506

PLATE ASSY.

PLATE - nozzle locating

1шт.

10

NSS

NOT SOLD SEPARAT

BODY - nozzle

1шт.

11

A41403

WASHER,9.55mm ID x 14.18mm OD x 3.38mm Thk

- plain

1шт.

Whenever nozzle is removed from head washer ref 11 and seal ref 12 must be replaced before nozzle is installed back in head.

1шт.

12

A41402

SEAL,7.89mm ID x 9.74mm OD x 2.87mm Thk

- carbon stop

1шт.

Whenever nozzle is removed from head washer ref 11 and seal ref 12 must be replaced before nozzle is installed back in head.

1шт.

17

A37836

NOZZLE

ASSY. - fuel injection (Supplier's No. 18054 stamped on body) (Order A140829), used prior to eng s/n 2717963, Includes: Ref. 18 - 28

4шт.

Whenever nozzle is removed from head the seal ref 27 and washer ref 28 must be replaced before nozzle is installed back in head.

1шт.

A140829R

REMAN-INJECT NOZZLE

480B FIRST USED ENGINE SERIAL NUMBER 2717963, Reman For New P/N A37836

4шт.

A140829C

CORE-NOZZLE, INJECT

Return Number

1шт.

18

NSS

NOT SOLD SEPARAT

BODY - NOZZLE, used prior to eng s/n 2717963

1шт.

19

NSS

NOT SOLD SEPARAT

VALVE - nozzle, used prior to eng s/n 2717963

1шт.

20

A41401

SEAT

- pressure spring, used prior to eng s/n 2717963

2шт.

21

A41444

VALVE SPRING

SPRING - pressure (11/32" free length green color), used prior to eng s/n 2717963

1шт.

22

A41407

WASHER

- ball type, used prior to eng s/n 2717963

1шт.

23

A41409

ADJUSTMENT SCREW,5/16" - 48

SCREW - pressure, used prior to eng s/n 2717963

1шт.

24

A41408

ADJUSTMENT SCREW,#10 - 56 x 1.40"

SCREW - lift adjusting, used prior to eng s/n 2717963

1шт.

25

A42424

LOCK NUT

- lock, used prior to eng s/n 2717963

1шт.

26

A41405

PLATE

- locating, used prior to eng s/n 2717963

1шт.

27

A41402

SEAL,7.89mm ID x 9.74mm OD x 2.87mm Thk

- carbon stop, used prior to eng s/n 2717963

1шт.

Whenever nozzle is removed from head the seal ref 27 and washer ref 28 must be replaced before nozzle is installed back in head.

1шт.

28

A41403

WASHER,9.55mm ID x 14.18mm OD x 3.38mm Thk

- plain, used prior to eng s/n 2717963

1шт.

Whenever nozzle is removed from head the seal ref 27 and washer ref 28 must be replaced before nozzle is installed back in head.

1шт.

Выбрано товаров: 34