Запчасти Case 480CK (058) - INSTRUMENTS AND WIRING, (188) DIESEL ENGINE, USED WITH ALTERNATOR, FIRST USED TRACTOR S/N 8656686

Схема запчастей Case 480CK - (058) - INSTRUMENTS AND WIRING, (188) DIESEL ENGINE, USED WITH ALTERNATOR, FIRST USED TRACTOR S/N 8656686
FIT
1:1
100%

Артикул

Название

Примечание

Количество

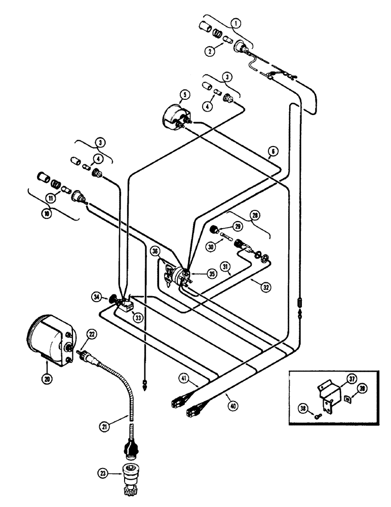
1

A38816

LAMP

ASSY. - warning, alternator, Includes: Ref. 2

1шт.

2

F21950

BULB - red, warning lamp

1шт.

3

A24087

LAMP BASE

LAMP ASSY. - instrument panel, Includes: Ref. 4

2шт.

4

A22349

BULB

- panel lamp

1шт.

5

A24080

GAUGE

- engine temperature

1шт.

6

A24078

ELECTRICAL WIRE

WIRE - temp. gauge to start switch (Green 15")

41шт.

10

A24084

LAMP

ASSY. - warning, eng. oil pressure, Includes: Ref. 11

1шт.

11

A24354

BULB

- oil pressure lamp

1шт.

20

A37767

TACHOMETER

(For 4 speed transmission)

1шт.

20

A37768

TACHOMETER

(For 8 speed transmission)

1шт.

21

A39043

CABLE

ASSY. - tach. drive, Includes: Ref. 22

1шт.

22

A24523

KIT

SHAFT - replacement core (Cut to length req.)

1шт.

23

A38942

DRIVE ASSY.

- tachometer (In block)

1шт.

28

A22874

HOLDER

ASSY. - fuse, Includes: Ref. 29

1шт.

29

A10958

CAP

- fuse holder

1шт.

30

223-20

FUSE,20 Amp, Type SFE

- 20 amp

1шт.

31

A22876

ELECTRICAL WIRE

WIRE - fuse to start switch (8-1/2")

1шт.

32

A22875

ELECTRICAL WIRE

WIRE - fuse to light switch (4")

1шт.

33

G13142

IGNITION SWITCH

SWITCH ASSY. - light, Includes: Ref. 34

1шт.

34

G13141

KNOB

- light switch

1шт.

35

A24510

SWITCH

ASSY - starting, w/keys, (Diesel) Includes: Ref 36

1шт.

36

A24509

KEY

- starting switch (Set of 2)

1шт.

37

A38631

BRACKET - starting switch mounting

1шт.

38

187-1016

SCREW,Cross Truss Hd, #8 x 5/8"

- #8 x 1/2" truss hd. self tapping, Includes: Ref. 39

3шт.

39

131-130

NUT

- #8 speed type

3шт.

40

A24076

PLUG

HARNESS ASSY. - inst. wiring (w/red plug)

1шт.

41

A21613

HARNESS

ASSY. - inst. wiring (w/black plug

1шт.

Выбрано товаров: 27