Запчасти Case 480CK (059A) - INSTRUMENTS AND WIRING, (188) DIESEL ENGINE, USED WITH GENERATOR, USED PRIOR TO TRACTOR S/N 8656686

Схема запчастей Case 480CK - (059A) - INSTRUMENTS AND WIRING, (188) DIESEL ENGINE, USED WITH GENERATOR, USED PRIOR TO TRACTOR S/N 8656686
FIT
1:1
100%

Артикул

Название

Примечание

Количество

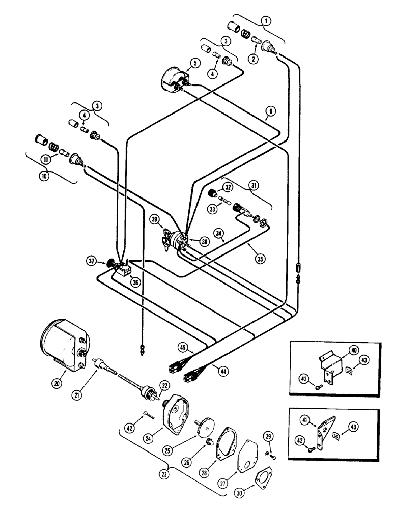
1

A24085

LAMP

ASSY. - warning, generator, Includes: Ref. 2

1шт.

2

A24354

BULB

- warning lamp

1шт.

3

A24087

LAMP BASE

LAMP ASSY. - instrument panel, Includes: Ref. 4

2шт.

4

A22349

BULB

- panel lamp

1шт.

5

A24080

GAUGE

- engine temperature

1шт.

6

A24078

ELECTRICAL WIRE

WIRE - temp. gauge to starting switch

1шт.

10

A24084

LAMP

ASSY. - warning, engine oil pressure, Includes: Ref. 11

1шт.

11

A24354

BULB

- oil pressure lamp

1шт.

20

A37767

TACHOMETER

(w/4 speed transmission)

1шт.

20

A37768

TACHOMETER

(w/8 speed transmission)

1шт.

21

G45357

CABLE

ASSY. - tachometer drive (Replaces G45121), Includes: Ref. 22

1шт.

22

A24523

KIT

SHAFT - replacement core (Cut to length req.)

1шт.

23

A36818

DRIVE

ASSY. - tachometer (On generator)

1шт.

24

NSS

NOT SOLD SEPARAT

HOUSING

1шт.

25

A36522

GEAR WHEEL

GEAR - driven

1шт.

26

G46306

GEAR WHEEL

GEAR - drive

1шт.

27

G46307

COVER - housing

1шт.

28

G46882

GASKET

- cover, Includes: Ref. 29

1шт.

29

187-1108

SCREW - cover (#8-32 x 3/8" pan hd.)

3шт.

30

G46878

GASKET

- tach., Serial Range: drive-generator

1шт.

31

A22874

HOLDER

ASSY. - fuse

1шт.

32

A10958

CAP

- fuse holder

1шт.

33

223-20

FUSE,20 Amp, Type SFE

(20 amp), Includes: Ref. 34

1шт.

34

A22876

ELECTRICAL WIRE

WIRE - fuse to starting switch (8-1/2")

1шт.

35

A22875

ELECTRICAL WIRE

WIRE - fuse to light switch (4"), Includes: Ref. 36

1шт.

36

G13142

IGNITION SWITCH

SWITCH ASSY. - light

1шт.

37

G13141

KNOB

- light switch

1шт.

38

A24510

SWITCH

ASSY - ignition, w/keys (Diesel) Includes: Ref 39

1шт.

39

A24509

KEY

- starting switch (Set of 2)

1шт.

40

A38631

BRACKET - starting switch mounting, Start Serial: 8349587

1шт.

41

A37319

BRACKET - starting switch mounting (Order A38631), Serial Range: -8349587

1шт.

42

187-1016

SCREW,Cross Truss Hd, #8 x 5/8"

- #8 x 1/2" truss hd.

3шт.

43

131-130

NUT

- flat, #8 Tinnerman

3шт.

44

A24076

PLUG

HARNESS - wire (w/red plug)

1шт.

45

A21613

HARNESS

- wire (Black plug)

1шт.

46

193-513

SCREW,SEMS, Hex Hd, 5/16"-18 x 1/2"

- #8-32 x 1" pan hd. (Tach. drv. to gen.)

1шт.

Выбрано товаров: 36