Запчасти Case 480CK (008) - CYLINDER BLOCK ASSEMBLY, (188) DIESEL ENGINE, FIRST USED ENGINE SERIAL NUMBER 2679761

Схема запчастей Case 480CK - (008) - CYLINDER BLOCK ASSEMBLY, (188) DIESEL ENGINE, FIRST USED ENGINE SERIAL NUMBER 2679761
FIT
1:1
100%

Артикул

Название

Примечание

Количество

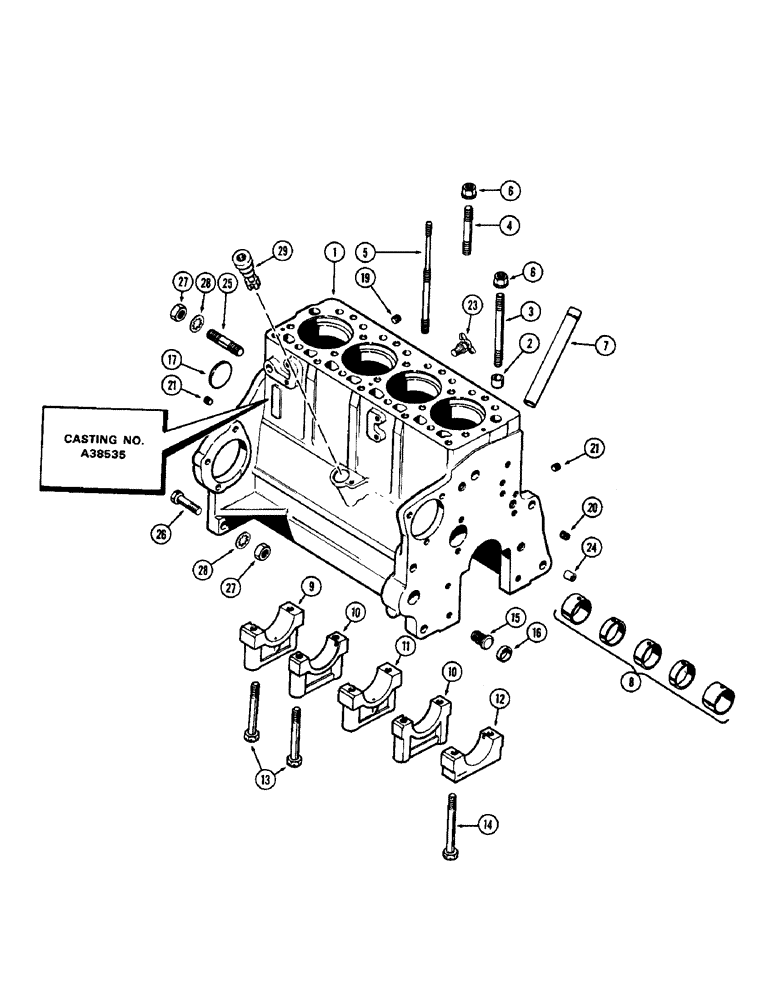
A42814

CYLINDER BLOCK

BLOCK ASSY. - short (Casting no. A38535) (Incl. crankshaft & brgs., connecting rods & brgs., camshaft, piston assy., oil pump & timing gears), Includes: Ref. 1 - 25

1шт.

1

A41597

SKELETON ENGINE

BLOCK ASSY. - stripped (Casting no. A38535), Includes: Ref. 2 - 21

1шт.

2

G49608

RING

- dowel, Serial Range: head-block

2шт.

3

A36902

STUD

- head to block (1/2" N.C. x 5-5/8")

11шт.

3

A36905

STUD

- head to block (1/2" N.C. x 6")

2шт.

4

A36904

STUD

- head to block (1/2" N.C. x 4")

4шт.

5

A36903

STUD

- head & cover

2шт.

6

A37030

FLANGE NUT

- head studs (1/2" N.C. flanged)

19шт.

7

A37149

TUBE

- oil filler & dipstick

1шт.

8

A42746

CAM

BUSHING SET - camshaft

1шт.

9

A38385

CAP

- main bearing, ring

1шт.

10

G2128

CAP

- main bearing, intermediate

2шт.

11

G2127

CAP

- main bearing, center

1шт.

12

G2126

CAP

- main bearing

1шт.

13

113-444

BOLT

- bearing caps, rear inter. & center (1/2 x 4-1/2" N.C. hex., sltd. hd.)

8шт.

14

113-445

BOLT

- frt. brg. cap & oil pump (1/2 x 5-1/8" N.C. hex., sltd. hd.)

2шт.

15

A153552

ADAPTER

- oil filter

1шт.

16

41-1016

PLUG,Cup, 1"

- adapter hole (1" cup type)

1шт.

17

A39241

PLUG,Exp, 2.12" dia

- camshaft hole (2-1/8" expansion type)

1шт.

19

221-1032

DRAIN PLUG,Sq Soc, 3/8"-18 NPTF

PLUG - pipe, 3/8" socket hd.

1шт.

20

G49070

PLUG

- front (1/4" P.T. drilled)

1шт.

21

217-433

PLUG,Hex Soc, 1/4" - 18 NPTF

Rear & LH frt. Hex Soc, 1/4"-18 NPTF

2шт.

23

A23656

COCK, DRAIN

VALVE - drain, cyl. block

1шт.

24

A29442

RING

- dowel, Serial Range: cover-block

2шт.

25

A29333

STUD

- torque tube to engine (5/8" N.C.-N.F. x 3")

2шт.

26

A30099

X

BOLT - engine to torque tube (5/8 x 3-1/2" N.F. hex.)

2шт.

27

25-1110

NUT,5/8"-18, G5

- 5/8" N.F. hex

4шт.

28

193-34

LOCK WASHER,Int Tooth, 5/8"

WASHER, LOCK, Int Tooth, 5/8"

4шт.

29

A38942

DRIVE ASSY.

TACHOMETER DRIVE ASSY.

1шт.

Выбрано товаров: 29