Запчасти Case 480CK (114) - STEERING COLUMN AND SUPPORT, HYDROSTATIC STEERING

Схема запчастей Case 480CK - (114) - STEERING COLUMN AND SUPPORT, HYDROSTATIC STEERING
FIT
1:1
100%

Артикул

Название

Примечание

Количество

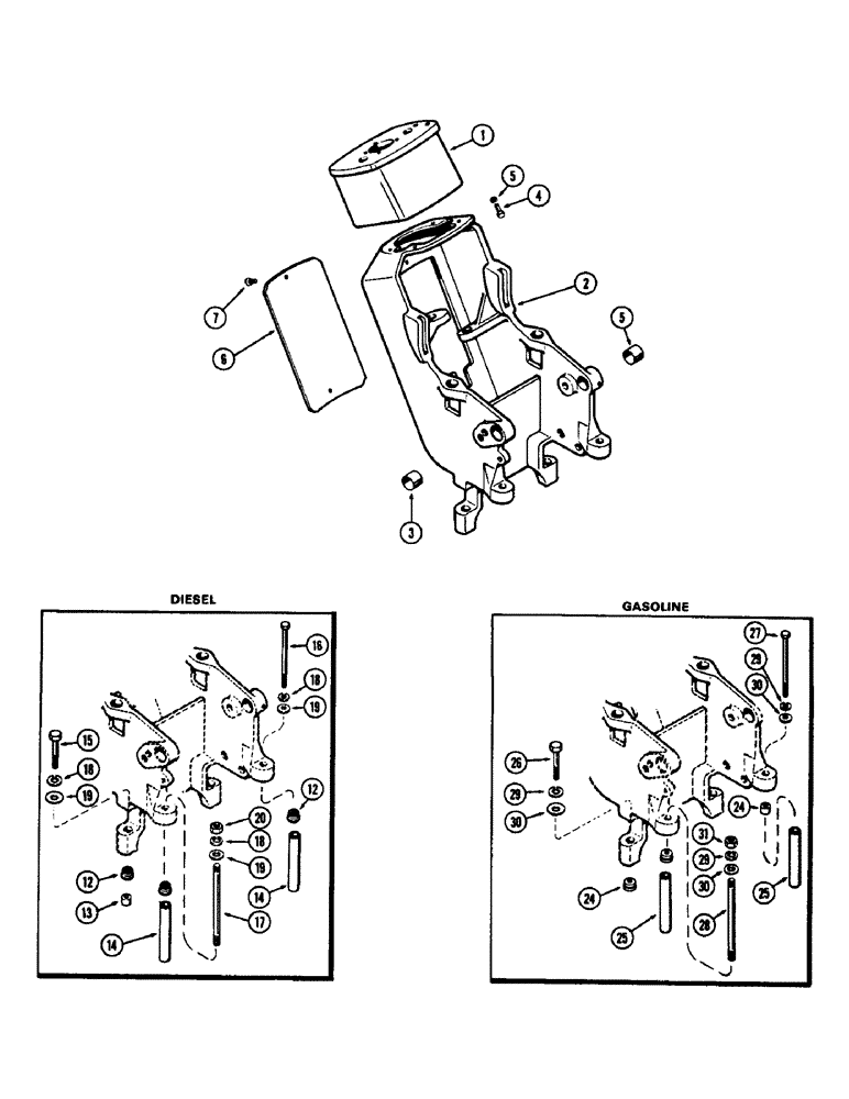
1

A37428

COLUMN - steering

1шт.

2

A37740

SUPPORT ASSY. - steering columns, Includes: Ref. 3

1шт.

3

A37530

BUSHING

- cross shaft, brake pedal

2шт.

4

13-616

BOLT,Hex, 3/8" - 16 x 1", Gr 5, Full Thd

4шт.

5

92-6

LOCK WASHER,3/8"

4шт.

6

A37259

COVER ASSY

COVER - steering support

1шт.

7

175-405

SCREW,Phil Truss Hd, 1/2" - 20 x 1/2"

- 1/4 x 1/2" truss hd.

2шт.

12

G45343

COMPOSITE RING

BUSHING - mounting (w/rubber insert), support hardware (188) diesel engine

4шт.

13

A37418

SPACER

- support, rear (1/2" high), hardware (188) diesel engine

2шт.

14

G49624

SPACER

- support, front (4-7/8" high), hardware (188) diesel engine

2шт.

15

13-644

BOLT,Hex, 3/8" - 16 x 2-3/4", Gr 5

- rear, 3/8 x 2-3/4" N.C. hex., support hardware (188) diesel engine

2шт.

16

13-7108

BOLT - left hand front, 3/8 x 6-3/4" N.C. hex, support hardware (188) diesel engine

1шт.

17

A38169

STUD

- right hand front (3/8" N.C. x 7-3/16"), support hardware (188) diesel engine

1шт.

18

92-6

LOCK WASHER,3/8"

support hardware (188) diesel engine 3/8"

4шт.

19

95-6

WASHER,3/8"

- 7/16 x 1 x 5/64", support hardware (188) diesel engine

4шт.

20

25-106

NUT,3/8"-16, G5

- 3/8" N.C. hex., support hardware (188) diesel engine

1шт.

24

A35627

BUSHING

- mounting (flanged, steel), support hardware (188) diesel engine

4шт.

25

G49624

SPACER

- front (4-7/8" high), support hardware (188) diesel engine

2шт.

26

13-644

BOLT,Hex, 3/8" - 16 x 2-3/4", Gr 5

- rear (3/8 x 2-3/4" N.C. hex), support hardware (188) diesel engine

2шт.

27

15-6108

BOLT - left hand front (3/8 x 6-3/4" N.C. hex.), support hardware (188) diesel engine

1шт.

28

A38169

STUD

- right hand front (3/8" x N.C. x 7-3/16"), support hardware (188) diesel engine

1шт.

29

92-6

LOCK WASHER,3/8"

support hardware (188) diesel engine 3/8"

4шт.

30

95-6

WASHER,3/8"

- 7/16 x 1 x 5/64", support hardware (188) diesel engine

4шт.

31

25-106

NUT,3/8"-16, G5

- 3/8" N.C. hex, support hardware (188) diesel engine

1шт.

Выбрано товаров: 0