Запчасти Case 580M (08-18) - HYDRAULICS - HAND HELD AUXILIARY (MODELS WITH 31 OR 40 GALLON FUEL TANK) (08) - HYDRAULICS

Схема запчастей Case 580M - (08-18) - HYDRAULICS - HAND HELD AUXILIARY (MODELS WITH 31 OR 40 GALLON FUEL TANK) (08) - HYDRAULICS
25
15
27
23
27
8
28
14
10
6
17
12
1
9
7
4
18
13
26
29
24
30
11
2
3
5
16
9
FIT
1:1
100%

Артикул

Название

Примечание

Количество

REF

INSTRUCTION

Control Cables To Auxiliary Valve

1шт.

REF

INSTRUCTION

Models With 31 Or 40 Gallon Fuel Tank

1шт.

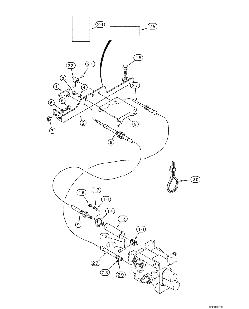
1

139227A1

BUTTON

Detent

1шт.

2

386187A1

PLATE

1шт.

3

614-8025

BOLT,Hex, M8 x 1.25 x 25mm, Cl 8.8, Full Thd

2шт.

4

895-11008

WASHER,9mm ID x 16mm OD x 1.6mm Thk

2шт.

5

614-10025

BOLT,Hex, M10 x 1.5 x 25mm, Cl 8.8

2шт.

7

829-1410

NUT,M10 x 1.5, Cl 10.9

2шт.

8

139043A1

SUPPORT

1шт.

9

123942A1

CABLE

1шт.

10

96790C2

CLEVIS COUPLING

1шт.

11

96846C2

AXLE PIN,7.87mm OD x 19.78mm L

1шт.

12

733-2012

COTTER PIN,M2 x 12

1шт.

13

1340478C1

HOUSING

1шт.

14

1280055C2

FLANGE

1шт.

15

614-6016

BOLT,Hex, M6 x 1 x 16mm, Cl 8.8, Full Thd

2шт.

16

895-11006

WASHER,6.6mm ID x 12mm OD x 1.6mm Thk

2шт.

17

892-11006

LOCK WASHER,M6

2шт.

18

814-10045

BOLT,Hex, M10 x 1.5 x 45mm, Cl 8.8

1шт.

23

139230A1

HANDLE

Flow Control

1шт.

24

83-1108

SET SCREW,Hex Soc, #10-24 x 1/2"

No. 10 x 1/2 cp pt

1шт.

25

179683A1

DECAL

Hand Held Auxiliary Hydraulics; Control Panel Plate; For Decal, See Figure 09-78

1шт.

26

192300A1

DECAL

Remote Auxiliary Hydraulics; For Decal, See Figure 09-78

1шт.

27

123943A1

CABLE

1шт.

28

84-2106

SET SCREW,Hex Soc, #10-32 x 3/8"

No. 10 NF x 3/8 cn pt

1шт.

29

225-14210

NUT,#10-32

1шт.

30

L18337

CABLE TIE,9.95"-12.1" lg

CABLE STRAP 15 in

2шт.

6

895-11010

WASHER,11mm ID x 20mm OD x 2mm Thk

11 x 21 x 2 mm

2шт.

Выбрано товаров: 28