Запчасти Case 580M (09-42) - PLATES, FLOOR - FLOORMATS (09) - CHASSIS/ATTACHMENTS

Схема запчастей Case 580M - (09-42) - PLATES, FLOOR - FLOORMATS (09) - CHASSIS/ATTACHMENTS
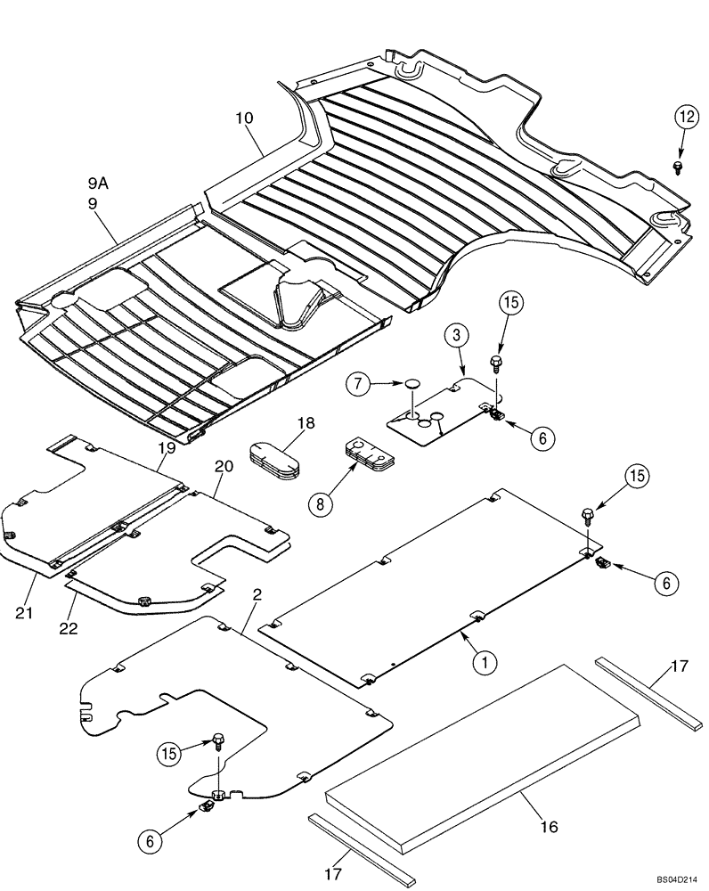
22
3
21
15
16
6
9a
15
12
17
7
15
6
19
9
18
1
2
17
10
6
20
8
FIT
1:1
100%

Артикул

Название

Примечание

Количество

1

355984A2

FLOOR

Front

1шт.

2

86983190

COVER

Rear; Without Pilot Controls

1шт.

3

87436076

COVER

Loader Control Lever

1шт.

6

833-40406

NUT,M6, U

16-17шт.

7

353-422

PLUG,Dome, 1.250" hole, Nylon

Models without Clam Bucket

1шт.

8

393623A1

GROMMET

Floor

1шт.

9

86983325

FLOOR MAT

Rear, Canopy Models, Without Pilot Controls

1шт.

9a

86983269

FLOOR MAT

Rear, Canopy Models, With Pilot Controls; Not Illustrated

1шт.

10

390551A2

FLOOR MAT

Front, Cab or Canopy Models

1шт.

12

87310085

SELF-TAP SCREW,HWH, M10 x 25.4mm

Hex Washer Head, No. 10 x 1, Self-Tapping, Stainless Steel; Replaces 280-16516 Non-Stainless Steel Screw Used On Some Models

4шт.

15

87310096

BOLT,Hex, M6 x 25, Cl. 8.8, W/ Washer

M6 x 25, Includes Washer, Stainless Steel; Replaces 233724A1 Non-Stainless Steel Screw Used On Some Models

16-17шт.

16

411074A1

FOAM INSULATION

Cab Models

1шт.

17

181981A1

SEALING STRIP

Foam; Adhesive Back; Cab Models

2шт.

18

87407927

INSULATOR BLOCK

Rubber Grommet

1шт.

19

87434049

FLOOR

Rear, With Pilot Controls

1шт.

20

87434050

FLOOR

Rear, With Pilot Controls

1шт.

21

87442376

FOAM INSULATION

Heat Barrier, Left-Hand, Canopy Models With Pilot Controls

1шт.

22

87442377

FOAM INSULATION

Heat Barrier, Right-Hand, Canopy Models With Pilot Controls

1шт.

Выбрано товаров: 18