Запчасти Case 580M (02-23) - PISTONS - CONNECTING ROD (02) - ENGINE

Схема запчастей Case 580M - (02-23) - PISTONS - CONNECTING ROD (02) - ENGINE
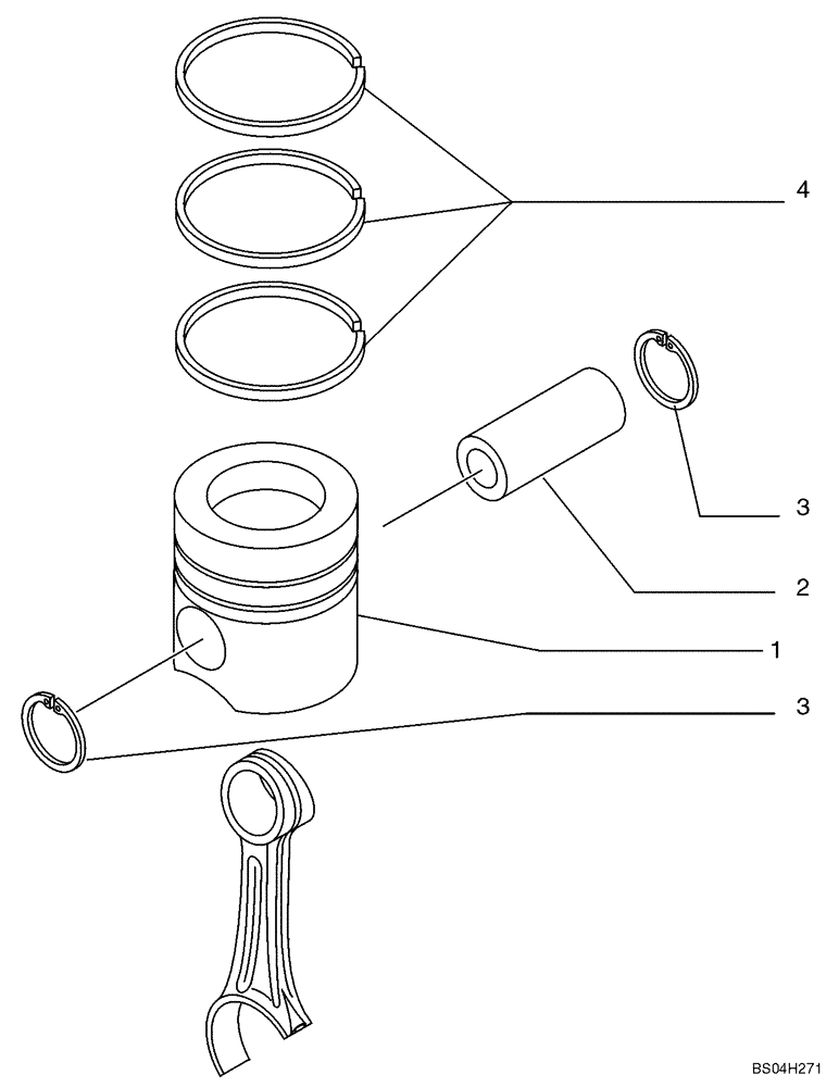
1
3
2
3
4
FIT
1:1
100%

Артикул

Название

Примечание

Количество

1

2855531

PISTON

Assy W/ Barcode Models with Turbocharged Engine; Does not include rings; Replaces 4897980 Piston Assy W/O Barcode; Used on some models

4шт.

1

2859355

PISTON

Models with Turbocharged Engine; Does not include rings

1шт.

1

4897933

PISTON

Piston Assy; Models Without Turbocharged Engine; Does Not Include Rings

4шт.

2

4892712

PISTON PIN,38mm OD x 82mm L

4шт.

3

4892713

SNAP RING,Int, M26.4

Alternate P/N 2854030

8шт.

3

2854030

SNAP RING,M40.8 OD

Alternate P/N 4892713

8шт.

4

2852037

SEAL,95.3mm ID x 104mm OD x 4mm Thk

Oil Scraper Ring, Models With or Without Turbocharged Engine

4шт.

4

2830158

PISTON RING,95.4mm ID x 104mm OD x 2.39mm Thk

Compression (STD) Models With Turbocharged Engine; 2.39 mm Wide; Yellow Identification Mark

4шт.

4

2854603

PISTON RING

Compression (STD) Models With Turbocharged Engine; 3.00 mm Wide; Red Identification Mark; Alt P/N 2853805

4шт.

4

2853805

PISTON RING

Compression (STD) Models With Turbocharged Engine; 3.00 mm Wide; Red Identification Mark; Alt P/N 2854603

4шт.

4

87316211

PISTON RINGS KIT

STD. For Non-turbocharges engines

4шт.

4

2852982

Ring, Piston, Compression, Models Without Turbocharged Engine; 2.5 mm Wide; Blue Identification Mark

4шт.

4

2830198

PISTON RING,104mm OD x 2.5mm Thk

Ring, Piston, Compression, Models Without Turbocharged Engine; 2.5 mm Wide; Green Identification Mark

4шт.

Выбрано товаров: 13