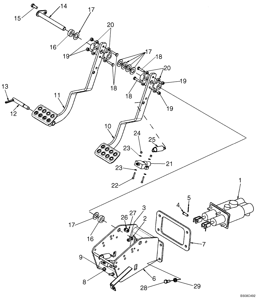
Запчасти Case 580M (07-03) - BRAKE - PEDALS (07) - BRAKES

Схема запчастей Case 580M - (07-03) - BRAKE - PEDALS (07) - BRAKES
26
25
17
4
16
9
1
21
20
12
19
16
28
3
19
11
18
29
22
19
17
14
8
23
2
5
20
13
17
23
7
6
18
15
10
27
24
18
FIT
1:1
100%

Артикул

Название

Примечание

Количество

1

87714038

MASTER CYLINDER,130.25mm Stroke

See Figure 07-07

1шт.

1

87714038R

REMAN-MASTER CYLINDE

580M SERIES 3 LOADER BACKHOE TIER 3 (NA) (2/08-)

1шт.

1

87714038C

CORE-MASTER CYLINDER

Return Number

1шт.

2

895-11008

WASHER,9mm ID x 16mm OD x 1.6mm Thk

4шт.

3

832-10408

NUT,M8 x 1.25, Cl 8.8

4шт.

4

427-6106

CLEVIS PIN,9.53mm OD x 26.92mm L

2шт.

5

432-612

COTTER PIN,3/32" x 3/4"

2шт.

6

87642370

SHIELD

Brake Pedal and Brake Master Cylinder Mounting

1шт.

7

87644495

GASKET,237mm L x 133mm L

1шт.

8

829-1408

NUT,Hex, M8 x 1.25, Cl 10.9

4шт.

9

87644497

ISOLATOR

Brake Pedal

2шт.

10

87642365

PEDAL

Right-Hand

1шт.

11

87642364

PEDAL

Left-Hand

1шт.

12

D124530

PIN,15.85mm OD x 111mm L

Brake Pedal Lock

1шт.

13

86625112

LOCK PIN,5/16" x 2 1/2", Slotted

1шт.

14

D140035

SHAFT,180mm L

1шт.

15

614-10025

BOLT,Hex, M10 x 1.5 x 25mm, Cl 8.8

1шт.

16

D124529

SPACER,19.5mm ID x 35mm OD x 12mm Thk

2шт.

17

495-81261

WASHER,13/16" x 1 1/2" x .067", HDN

Used As A Spacer

1шт.

18

814-8035

BOLT,Hex, M8 x 1.25 x 35mm, Cl 8.8

4шт.

19

832-10408

NUT,M8 x 1.25, Cl 8.8

4шт.

20

A77310

SUPPORT,0.754" ID x 1.375" OD x 0.81"

Bearing

4шт.

21

82026949

PUSH BUTTON SWITCH

Push Button, Brake Lamp, Attaches To Front Console Wiring Harness

2шт.

22

87016468

HEX SOC SCREW,M4 x 25mm, Cl 8.8

4шт.

23

895-11004

WASHER,4.3mm ID x 9mm OD x 0.8mm Thk

(4.3 x 9 x 0.8 mm)

8шт.

24

832-10404

NUT,M4 x 0.7, Cl 8.8

4шт.

25

230973A1

SPRING,Extension, 23.876mm OD x 93.47mm L

2шт.

26

895-11010

WASHER,11mm ID x 20mm OD x 2mm Thk

1шт.

27

832-10410

NUT,M10 x 1.5, Cl 8

1шт.

28

614-8020

BOLT,Hex, M8 x 1.25 x 20mm

4шт.

29

895-11008

WASHER,9mm ID x 16mm OD x 1.6mm Thk

4шт.

Выбрано товаров: 31