Запчасти Case 580M (07-07) - CYLINDER ASSY - BRAKE MASTER (07) - BRAKES

Схема запчастей Case 580M - (07-07) - CYLINDER ASSY - BRAKE MASTER (07) - BRAKES
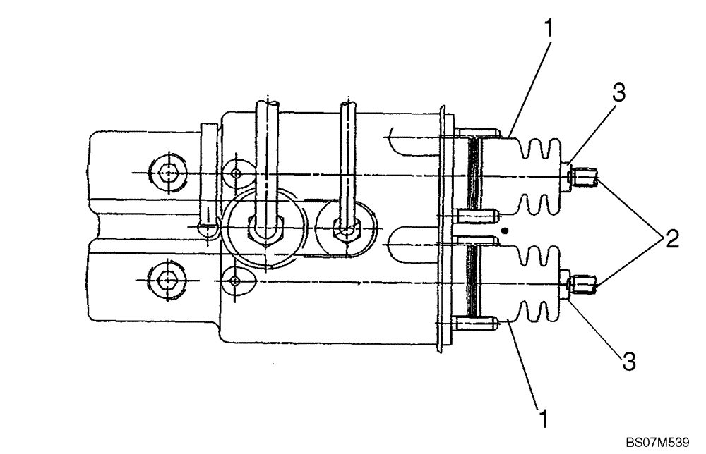
3
1
1
2
3
FIT
1:1
100%

Артикул

Название

Примечание

Количество

87714038

MASTER CYLINDER,130.25mm Stroke

Incl. Ref 1 - 3

1шт.

87714038R

REMAN-MASTER CYLINDE

580M SERIES 3 LOADER BACKHOE TIER 3 (NA) (2/08-)

1шт.

87714038C

CORE-MASTER CYLINDER

Return Number

1шт.

1

87716969

BOOT

2шт.

2

87716970

CLEVIS,M10 x 1.5mm x 53.5mm L

2шт.

3

829-1410

NUT,M10 x 1.5, Cl 10.9

2шт.

Выбрано товаров: 6