Запчасти Case 580M (08-11) - HYDRAULICS - CYLINDER, BACKHOE DIPPER (08) - HYDRAULICS

Схема запчастей Case 580M - (08-11) - HYDRAULICS - CYLINDER, BACKHOE DIPPER (08) - HYDRAULICS
11
20
18
27
28
8
1
17
21
19
21
14
11
25
3
28
17
6
24
4
5
15
26
9
2
13
7
6
12
8
16
FIT
1:1
100%

Артикул

Название

Примечание

Количество

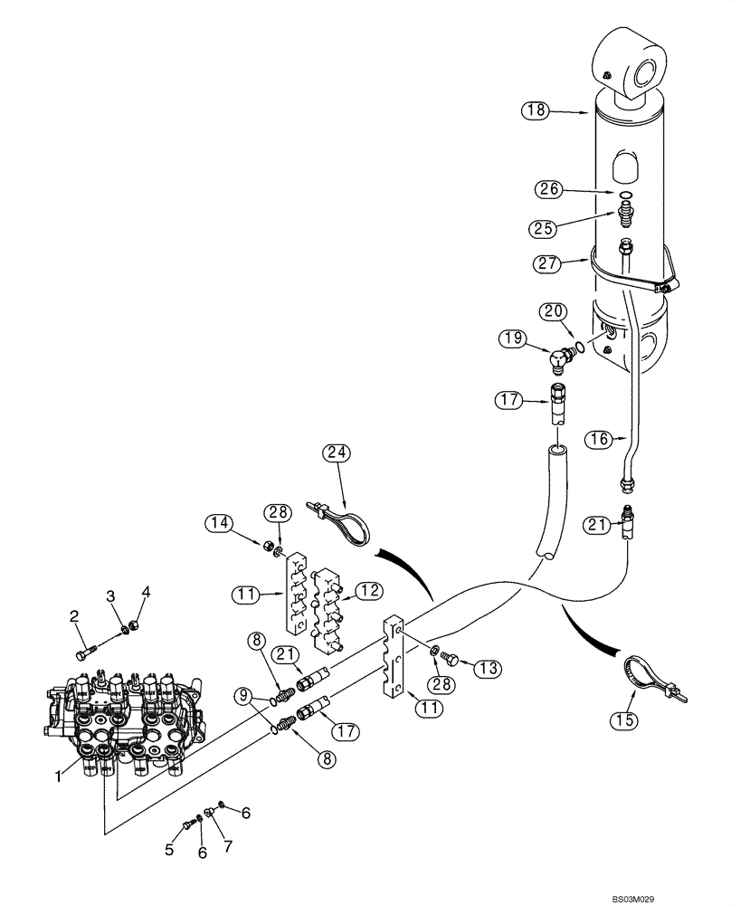
1

REF

INSTRUCTION

Valve Assy, Control; Backhoe Control Valve; For Correct Assembly and Components, See Figures 08-32 - 08-39

1шт.

2

814-10080

BOLT,Hex, M10 x 1.5 x 80mm, Cl 8.8

2шт.

3

896-11010

WASHER,11mm ID x 21mm OD x 2.5mm Thk

2шт.

4

829-1410

NUT,M10 x 1.5, Cl 10.9

2шт.

5

614-10035

BOLT,Hex, M10 x 1.5 x 35mm, Cl 8.8, Full Thd

1шт.

6

496-41041

WASHER,13/32" x 1 1/8" x .134"

2шт.

7

D52276

ISOLATOR,10.16mm ID x 28.07mm OD x mm L

1шт.

8

218-5063

HYD CONNECTOR,7/8" - 14 Male JIC x 1-1/16" - 12 Male ORB

Incl. Ref 9

2шт.

9

237-6012

O-RING,0.116" Thk x 0.924" ID, -912, Cl 6, 90 Duro

Boss Seal

1шт.

11

178951A1

CLAMP

2шт.

12

178952A1

CLAMP

1шт.

13

814-10120

BOLT,Hex, M10 x 1.5 x 120mm, Cl 8.8

3шт.

14

832-10410

NUT,M10 x 1.5, Cl 8

3шт.

15

L18337

CABLE TIE,9.95"-12.1" lg

CABLE STRAP

4шт.

16

357469A1

TUBE,15.88 mm OD, 770, 34 mm Length

1шт.

17

393371A1

HOSE ASSY.,12.7mm ID x 2025mm L

2025 mm (79-3/4 in), Lower Valve Port

1шт.

18

233114A2

CYLINDER ASSY.,Double Acting, 57.2mm Rod, 685.8mm Stroke

108 ID x 686 mm strk; Dipper Cylinder, See Figure 08-64

1шт.

18

233114A2R

REMAN-HYD CYLINDER

Reman For New PN 233114A2

1шт.

18

233114A2C

CORE-HYD CYLINDER

Return Number

1шт.

19

218-5107

90 ELBOW,90 Degree Elbow, 7/8" - 14 Male JIC x 7/8" - 14 Male ORB

Incl. Ref 20

1шт.

20

237-6010

O-RING,0.097" Thk x 0.755" ID, -910, Cl 6, 90 Duro

Boss Seal

1шт.

21

397787A1

HOSE ASSY.,12.7mm ID x 2025mm L

2025 mm (79-3/4 in), Upper Valve Port

1шт.

24

L18337

CABLE TIE,9.95"-12.1" lg

CABLE STRAP

2-4шт.

25

218-5062

HYD CONNECTOR,7/8"-14, 37 Degree x 7/8"-14, O-Ring

Incl. Ref 26

1шт.

26

237-6010

O-RING,0.097" Thk x 0.755" ID, -910, Cl 6, 90 Duro

1шт.

27

214-1488

HOSE CLAMP,130.05mm - 152.4mm

1шт.

28

895-11010

WASHER,11mm ID x 20mm OD x 2mm Thk

6шт.

Выбрано товаров: 27