Запчасти Case 580M (08-29) - PUMP, EQUIPMENT HYDRAULIC (08) - HYDRAULICS

Схема запчастей Case 580M - (08-29) - PUMP, EQUIPMENT HYDRAULIC (08) - HYDRAULICS
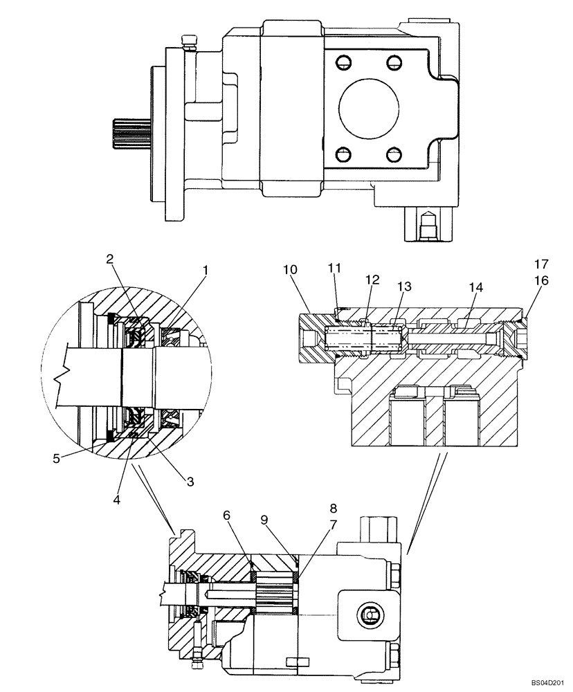
12
10
8
14
9
4
2
7
16
13
17
1
3
11
6
5
FIT
1:1
100%

Артикул

Название

Примечание

Количество

87434672

HYDRAULIC PUMP,52.4 CC

Component Parts Not Serviced Separately, Except for 87434070 and 87438045 Service Kits, Ref 1 - 17, See Below

1шт.

87434672R

REMAN-HYD PUMP

1шт.

87434672C

CORE-HYDRAULIC PUMP

Return Number

1шт.

87434070

HYD PUMP REPAIR KIT

Pump Service Kit, Single Section; Incl. Ref 1 - 9

1шт.

1

L32418

SEAL,26.99mm ID x 42.93mm OD x 7.92mm Thk

Double Lip

1шт.

2

87434075

SEAL

Lip Seal

1шт.

3

87434076

SEAL RETAINER

1шт.

4

87434077

O-RING

SEALRING

1шт.

5

102-23206

SNAP RING,#206, 2.190", Int, Spiral

1шт.

6

N13582

THRUST PLATE

2шт.

7

144173A1

SEAL

2шт.

8

178051A1

BACK-UP RING

2шт.

9

L32100

SEAL,Square, 3.17mm Thk x 101.6mm ID, 70 Duro

Gear Housing Gasket

2шт.

87438045

HYD PUMP REPAIR KIT

Priority Valve Service Kit, Single; Incl. Ref 10 - 17

1шт.

10

87437899

PLUG

Load Sense

1шт.

11

237-6014

O-RING,0.116" Thk x 1.048" ID, -914, Cl 6, 90 Duro

1шт.

12

87437905

SPRING-CHECK

Spool Spring, 100 psi

1шт.

13

87437906

SPRING-CHECK

Spool Spring, 50 psi

1шт.

14

87437914

SPOOL

Priority Valve Spool

1шт.

16

218-5213

PLUG,Hex Soc, 1 3/16"-12 ORB

Incl. Ref 17

1шт.

17

237-6014

O-RING,0.116" Thk x 1.048" ID, -914, Cl 6, 90 Duro

1шт.

Выбрано товаров: 21