Запчасти Case 580N (35.740.030) - VAR - 423076 - EXTENDABLE DIPPER, CYLINDER, COMPONENTS (35) - HYDRAULIC SYSTEMS

Схема запчастей Case 580N - (35.740.030) - VAR - 423076 - EXTENDABLE DIPPER, CYLINDER, COMPONENTS (35) - HYDRAULIC SYSTEMS
10
19
7
12
9
16
2
2
18
2
5
2
2
14
3
8
6
13
17
2
15
11
20
1
2
4
2
2
FIT
1:1
100%

Артикул

Название

Примечание

Количество

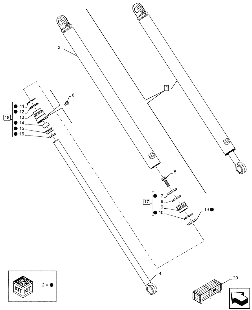
1

84421678

HYDRAULIC CYLINDER,Double Acting, 44.4mm Rod, 1068mm Stroke

ASSY, Grey, Incl 2 - 19

1шт.

2

86982377

SEAL KIT

ASSY, Clam Cylinder, Incl 7, 10 - 12, 14 - 16, 19

1шт.

3

1340970C1

TUBE,76.1mm Bore Dia

1шт.

4

84159680

ROD,44.4mm OD x 1338.2mm L

1шт.

5

86982435

SPECIAL BOLT,3/4" - 16 x 2-1/2"

1шт.

6

G109395

SELF-TAP SCREW,Hex, #8 - 32 x 3/8"

1шт.

7

G100449

WEAR RING,Split, 69.85mm ID x 76.2mm OD x 9.52mm Thk

1шт.

8

G100443

SEAL,67.9mm ID x 77.1mm OD x 6.8mm Thk

1шт.

9

G107277

PISTON

1шт.

10

G100444

SEALING RING,Square, 5.28mm Thk x 62.61mm ID

1шт.

11

238-5231

O-RING,0.139" Thk x 2.609" ID, -231, Cl 5, 75 Duro

1шт.

12

G109298

RING,69.47mm ID x 75.57mm OD x 1.4mm Thk

1шт.

13

297281A1

GLAND

1шт.

14

G102425

BUSHING,44.45mm ID x 47.45mm OD x 25.1mm Thk

1шт.

15

1542875C1

SEAL KIT,44.4mm Rod

Extendable Dipper Cylinder, Rod and Buffer

1шт.

16

D95143

WIPER SEAL,44.42mm ID x 57.17mm OD x 7.92mm Thk

1шт.

17

G107276

GLAND

ASSY, Incl 7 - 10

1шт.

18

1542987C1

GLAND

ASSY, Incl 11 - 16

1шт.

19

G102288

SEAL,Locking, 71.71mm ID x 76.43mm OD x 6.96mm Thk

1шт.

20

47945904

CONSTRUCTION DIA

Standard Dipper to Extendahoe Dipper Conversion, Incl 1 - 19

1шт.

Valid for 580N (Livery) NRC, 580SN (Livery) NRC, 580SN WT (Livery) NRC Models Only, W/ Hand Swing Control

1шт.

To See Full DIA KIT Composition Look for all the Figures Where the DIA KIT P/N Is Shown

1шт.

20

47945939

CONSTRUCTION DIA

Standard Dipper to Extendahoe Dipper Conversion, Incl 1 - 19

1шт.

Valid for 580N (Livery) NRC, 580SN (Livery) NRC, 580SN WT (Livery) NRC Models Only, W/ Foot Swing Control

1шт.

To See Full DIA KIT Composition Look for all the Figures Where the DIA KIT P/N Is Shown

1шт.

Выбрано товаров: 25