Запчасти Case 580N (55.100.280) - CANOPY, SEMI-POWERSHIFT, TRANSMISSION, SIDE CONSOLE, HARNESS, W/ OPTION, RELAYS, FUSE BOX (55) - ELECTRICAL SYSTEMS

Схема запчастей Case 580N - (55.100.280) - CANOPY, SEMI-POWERSHIFT, TRANSMISSION, SIDE CONSOLE, HARNESS, W/ OPTION, RELAYS, FUSE BOX (55) - ELECTRICAL SYSTEMS
7
9
5
13
10
6
3
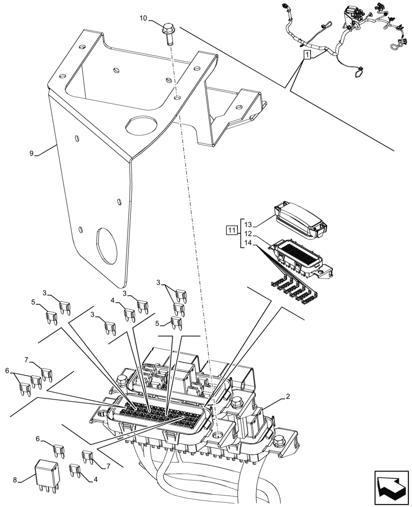
1
2
3
14
6
4
8
4
3
12
7
11
5
3
FIT
1:1
100%

Артикул

Название

Примечание

Количество

1

47714196

WIRE HARNESS

ASSY, Side Console, STD Transmission, Incl 2 - 14

1шт.

See also Wire Harness Components in Figures 55.100.290, 55.100.300, 90.108.620

1шт.

2

NSS

NOT SOLD SEPARAT

Harness, Incl in 1

1шт.

3

121410A1

FUSE,5A, Mini, Tan

5шт.

4

121411A1

FUSE,7.5A, Mini, Brown

2шт.

5

121412A1

FUSE,10A, Mini, Red

2шт.

6

121413A1

FUSE,15A, Mini, Blue

5шт.

7

121416A1

FUSE,30A, Mini, Green

1шт.

8

87655334

RELAY,12V, 35A, Micro

1шт.

9

84292270

BRACKET

Side Console

1шт.

10

845-6020

BOLT,Hvy Hex, M6 x 20mm, Cl 8.8

2шт.

11

84380518

FUSE BOX

ASSY, Incl 12 - 14

1шт.

12

NSS

NOT SOLD SEPARAT

Support, Incl in 11

1шт.

13

84404932

COVER

1шт.

14

84342278

CONNECTING BLOCK

6шт.

Выбрано товаров: 15