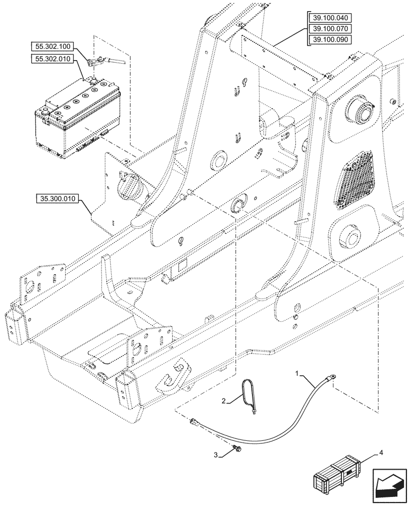
Запчасти Case 580N (55.302.030) - VAR - 423093 - DUAL BATTERY, NEGATIVE, CABLE (55) - ELECTRICAL SYSTEMS

Схема запчастей Case 580N - (55.302.030) - VAR - 423093 - DUAL BATTERY, NEGATIVE, CABLE (55) - ELECTRICAL SYSTEMS
39.100.090
3
2
1
4
35.300.010
55.302.100
55.302.010
39.100.040
39.100.070
FIT
1:1
100%

Артикул

Название

Примечание

Количество

1

87610680

NEG BATTERY CABLE,1200mm L

From Battery to Chassis Ground Stud

1шт.

2

L18331

CABLE TIE,375.9mm L, Nylon, Black

1шт.

3

844-10025

BOLT,Hex, M10 x 25mm, Cl 8.8

1шт.

4

87722930

CONSTRUCTION DIA

Dual Battery, Incl 1, 2

1шт.

To See Full DIA KIT Composition Look for all the Figures Where the DIA KIT P/N Is Shown

1шт.

Выбрано товаров: 5