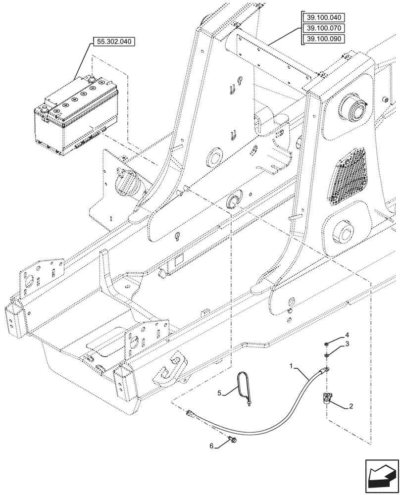
Запчасти Case 580N (55.302.060) - BATTERY, NEGATIVE, CABLE (55) - ELECTRICAL SYSTEMS

Схема запчастей Case 580N - (55.302.060) - BATTERY, NEGATIVE, CABLE (55) - ELECTRICAL SYSTEMS
39.100.090
2
1
5
6
4
3
55.302.040
39.100.040
39.100.070
FIT
1:1
100%

Артикул

Название

Примечание

Количество

1

87610680

NEG BATTERY CABLE,1200mm L

From Battery to Chassis Ground Stud

1шт.

2

87735578

TERMINAL CONNECTOR,5/16 - 18 Stud

Negative

1шт.

3

87655042

SPECIAL WASHER,8.8mm ID x 17.5mm OD x 2.2mm Thk

1шт.

4

425-105

NUT,5/16"-18, G5

1шт.

5

L18331

CABLE TIE,375.9mm L, Nylon, Black

1шт.

6

844-10025

BOLT,Hex, M10 x 25mm, Cl 8.8

1шт.

Выбрано товаров: 6