Запчасти Case 580N (88.100.020) - VAR - 747875 - TOOL BOX (88) - ACCESSORIES

Схема запчастей Case 580N - (88.100.020) - VAR - 747875 - TOOL BOX (88) - ACCESSORIES
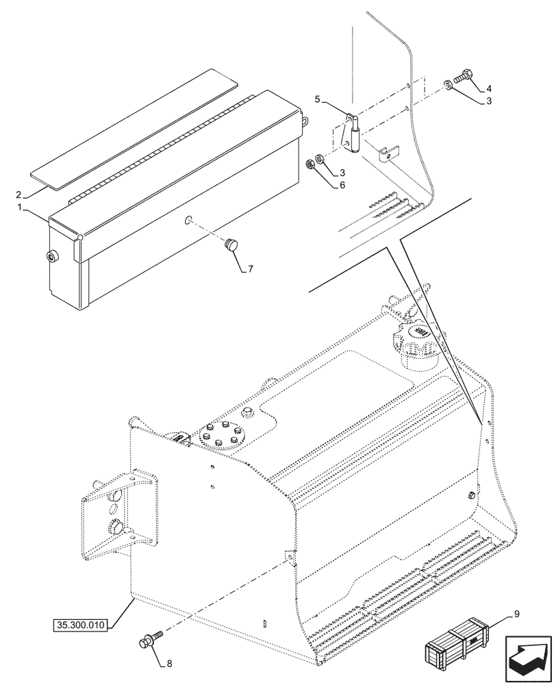
35.300.010
7
6
9
3
2
1
3
8
5
4
FIT
1:1
100%

Артикул

Название

Примечание

Количество

1

47945956

TOOL BOX

Grey

1шт.

2

87694065

ANTI-SKID STRIP

Tool Box

1шт.

3

895-11010

WASHER,11mm ID x 20mm OD x 2mm Thk

4шт.

4

614-10025

BOLT,Hex, M10 x 1.5 x 25mm, Cl 8.8

2шт.

5

47959725

HINGE

Grey

1шт.

6

829-1410

NUT,M10 x 1.5, Cl 10.9

2шт.

7

L60224

BUMPER

1шт.

8

121856A1

BOLT,Hex, M10 x 1.5 x 30mm, Cl 10.9

1шт.

9

47945985

CONSTRUCTION DIA

Tool Box, Incl 1 - 8

1шт.

To See Full DIA KIT Composition Look for all the Figures Where the DIA KIT P/N Is Shown

1шт.

Выбрано товаров: 10