Запчасти Case 580N EP (35.738.AA[03]) - VAR - 423075, 423076 - BACKHOE BUCKET, CYLINDER, COMPONENTS (35) - HYDRAULIC SYSTEMS

Схема запчастей Case 580N EP - (35.738.AA[03]) - VAR - 423075, 423076 - BACKHOE BUCKET, CYLINDER, COMPONENTS (35) - HYDRAULIC SYSTEMS
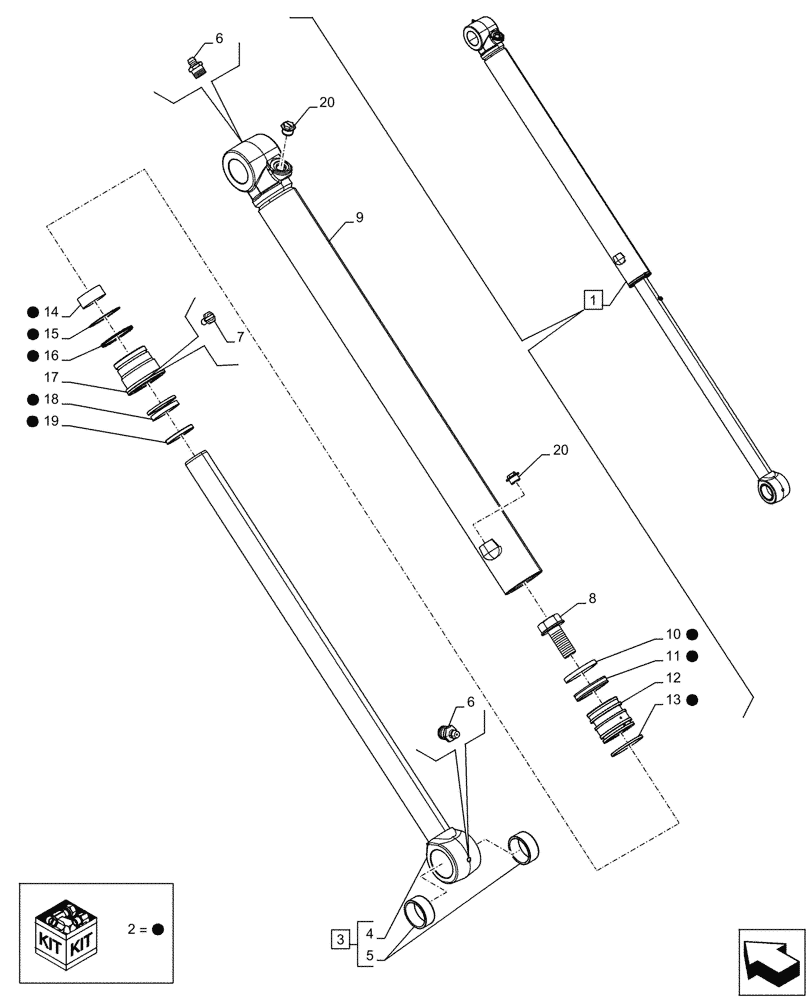
15
6
2
2
2
6
20
18
2
17
13
2
16
14
20
19
8
2
2
9
10
7
3
2
1
12
2
11
5
2
4
FIT
1:1
100%

Артикул

Название

Примечание

Количество

1

84421594

HYDRAULIC CYLINDER,Double Acting, 57.2mm Rod, 897.9mm Stroke

ASSY, Incl 2 - 20

1шт.

1

84421594R

REMAN-HYD CYLINDER

1шт.

1

84421594C

CORE-HYD CYLINDER

Return Number

1шт.

2

84259224

SEAL KIT,57.2mm Rod x 82.6mm Bore

Repair, Incl 10, 11, 13 - 16, 18, 19

1шт.

3

84323192

ROD,57.2mm OD x 1137.4mm L

ASSY, Incl 4, 5

1шт.

4

NSS

NOT SOLD SEPARAT

Rod, Incl in 3

1шт.

5

123407A1

BUSHING,60.19mm ID x 70mm OD x 28mm L

2шт.

6

219-1

LUBE NIPPLE,1/8" - 27 NPTF

2шт.

7

G109395

SELF-TAP SCREW,Hex, #8 - 32 x 3/8"

1шт.

8

86982441

SPECIAL BOLT,Hex, 12, 1 1/4 x 3"

1шт.

9

84220643

BARREL,82.58mm Bore Dia

1шт.

10

S109445

RING,82.55mm OD, Ext

1шт.

11

87715782

SEAL,82.6mm OD

1шт.

12

84220633

PISTON ROD/GLAND,82.07mm Bore, 57.25mm Rod, 74.85mm W

1шт.

13

192330A1

SEALING RING,75.3mm ID x 82.5mm OD x 4.7mm Thk

1шт.

14

1346476C1

RING,57.15mm ID, Int

1шт.

15

G32122

BACK-UP RING,75.82mm ID x 81.92mm OD x 1.4mm Thk

1шт.

16

238-5233

O-RING,0.139" Thk x 2.859" ID, -233, Cl 5, 75 Duro

1шт.

17

84220631

COVER

1шт.

18

1542877C1

SEAL KIT,57.2mm Rod

1шт.

19

D95145

WIPER SEAL,54.79mm ID x 70.09mm OD x 7.91mm W

1шт.

20

353-780

PLUG,Sltd Hd, 7/8"-14, w/O-Ring

2шт.

Выбрано товаров: 22