Запчасти Case 580N EP (39.129.AE[02]) - VAR - 442056 - STABILIZER, FLIP-UP PROTECTION SHIELD (39) - FRAMES AND BALLASTING

Схема запчастей Case 580N EP - (39.129.AE[02]) - VAR - 442056 - STABILIZER, FLIP-UP PROTECTION SHIELD (39) - FRAMES AND BALLASTING
8
10
7
3
4
11
5
39.140.am (01)
6
9
1
39.140.am (02)
2
FIT
1:1
100%

Артикул

Название

Примечание

Количество

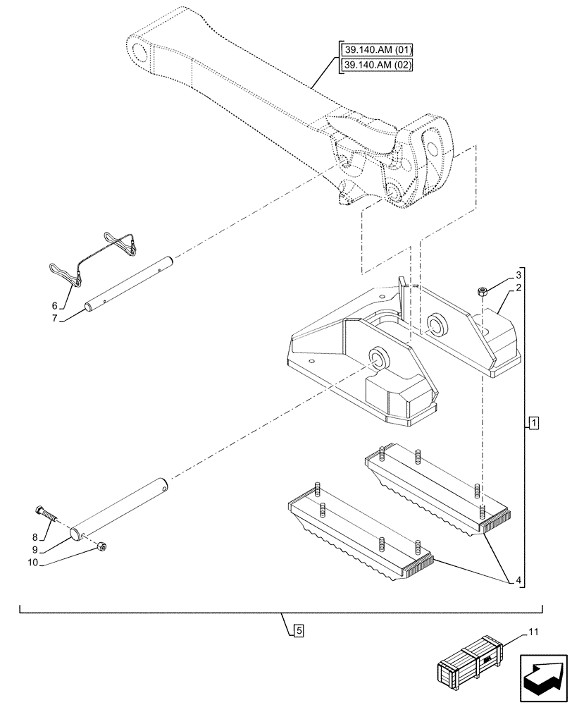
1

84290974

PAD

ASSY, Stabilizer Flip, Incl 2 - 4

1шт.

2

84290980

PAD

1шт.

3

832-41312

NUT,M12 x 1.75, Cl 10

8шт.

4

47432044

PAD

2шт.

5

84250574

PAD

ASSY, Flip, Incl 1 - 4, 6 - 10

1шт.

6

446454A1

PIN,4.5mm OD x 305mm L

1шт.

7

87436782

PIVOT PIN,25.4mm OD x 300mm L

1шт.

8

814-10050

BOLT,Hex, M10 x 1.5 x 50mm, Cl 8.8

2шт.

9

D149033

PIN,38.1mm OD x 323.5mm L

1шт.

10

832-10410

NUT,M10 x 1.5, Cl 8

2шт.

11

84276997

KIT

Flip Stabilizer Pad, Incl 1 - 10

1шт.

Valid for 580N EP, 580N Models Only

1шт.

Выбрано товаров: 12