Запчасти Case 580SD (052) - CYLINDER BLOCK, 207 TURBOCHARGED DIESEL ENGINE (02) - ENGINE

Схема запчастей Case 580SD - (052) - CYLINDER BLOCK, 207 TURBOCHARGED DIESEL ENGINE (02) - ENGINE
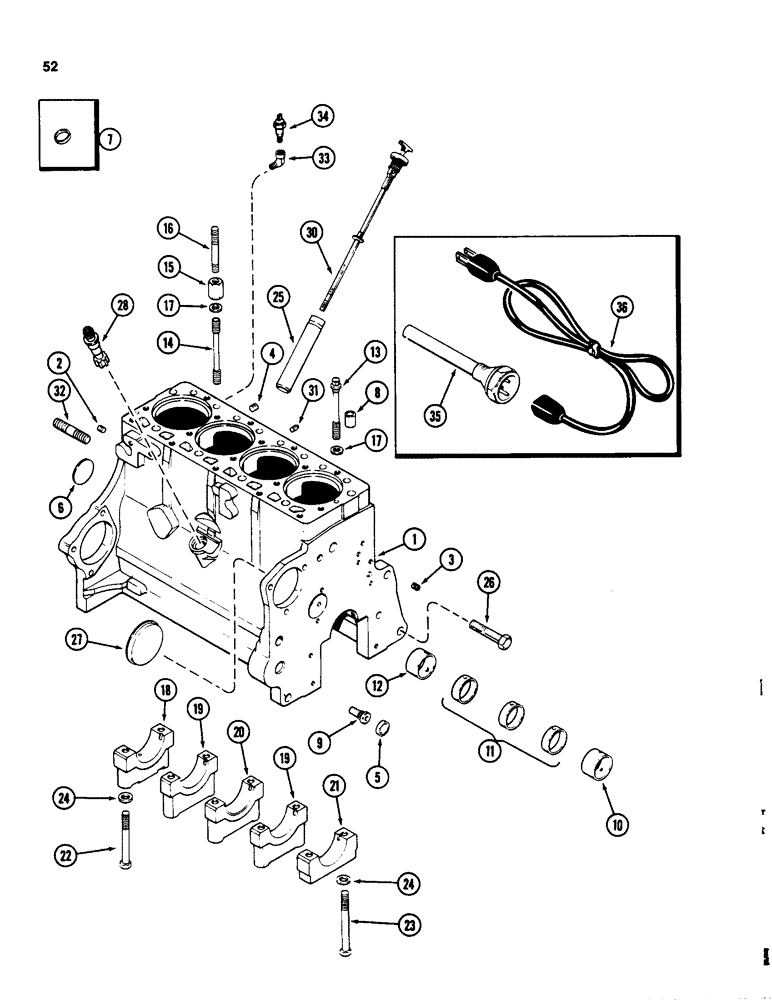
13
3
21
7
22
11
15
2
23
6
1
5
31
16
12
34
32
24
30
10
20
35
19
24
17
14
19
27
33
8
28
25
36
9
26
18
17
4
FIT
1:1
100%

Артикул

Название

Примечание

Количество

A155556

BLOCK ASSEMBLY - short (Includes stripped block, piston assembly, connecting rods and bearings, crankshaft and bearings, camshaft, oil pump and timing gears), Includes: Ref. 1 - 36

1шт.

1

A155557

SKELETON ENGINE

BLOCK ASSEMBLY - stripped, Includes: Ref. 2 - 28

1шт.

2

217-433

PLUG,Hex Soc, 1/4" - 18 NPTF

Oil gallery Hex Soc, 1/4"-18 NPTF

3шт.

3

G49070

PLUG

- drilled, socket head, oil gallery, 1/4 inch PT

1шт.

4

221-1032

DRAIN PLUG,Sq Soc, 3/8"-18 NPTF

PLUG - socket head, water gallery, 3/8 inch PT

1шт.

5

41-1016

PLUG,Cup, 1"

- cup type, adapter hole, 1 inch (25 mm)

1шт.

6

41-1030

PLUG,Cup, 1 7/8"

- cup type, camshaft hole, 1-7/8 inch (48 mm)

1шт.

7

A38534

PLUG

- cup type, tachometer drive hole, 1-1/16 inch (27 mm)

1шт.

8

G49608

RING

DOWEL - head locating

2шт.

9

A153552

ADAPTER

- oil filter

1шт.

10

REF

INSTRUCTION

BUSHING - camshaft, front (See Figure 048)

1шт.

11

REF

INSTRUCTION

BUSHING - camshaft, intermediate (See Figure 048)

3шт.

12

REF

INSTRUCTION

BUSHING - camshaft, rear (See Figure 048)

1шт.

13

A153427

12 PT SCREW

BOLT - 12 point head, cylinder head, 1/2 NC x 4 inch

4шт.

13

A39049

12 PT SCREW

BOLT - 12 point head, cylinder head, 1/2 NC x 5-5/8 inch

13шт.

14

A153428

STUD

- cylinder head, 1/2 NC x 6-3/8 inch

2шт.

15

A51114

NUT

- cylinder head studs, 1/2 NC and 3/8 inch NC

2шт.

16

A51271

STUD

- cylinder head cover, 3/8 NC x 3-3/4 inch

2шт.

17

A39046

WASHER,13.11mm ID x 22.23mm OD x 3.34mm Thk

- 7/8 inch (22 mm)

19шт.

18

A153507

CAP - main bearing, rear

1шт.

19

A153506

CAP

- main bearing, intermediate

2шт.

20

A154140

CAP

- main bearing, center

1шт.

21

A153504

CAP - main bearing, front

1шт.

22

A153797

BOLT

- hex, 9/16 NC x 4-5/8 inch, Grade 8

8шт.

23

A153798

BOLT

- hex, 9/16 NC x 5-1/4 inch, Grade 8

2шт.

24

A155195

WASHER

- hardened, 15/16 inch (24 mm)

10шт.

25

A37149

TUBE

- oil filler and dipstick (Discard extension tube

1шт.

o-ring and clamp. Not used this model)

1шт.

26

A38303

BOLT

BOLT - hex, front support, 5/8 NC x 3-3/16 inch

1шт.

27

41-1052

PLUG,Cup, 3 1/4"

COVER - cup type, auxiliary drive opening, 3-1/2 inch (94 mm)

1шт.

28

A137572

DRIVE

ASSEMBLY - tachometer

1шт.

30

A39936

DIPSTICK

- oil level

1шт.

31

217-433

PLUG,Hex Soc, 1/4" - 18 NPTF

- square head, drain, cylinder block, 1/4 inch PT

1шт.

32

A51793

STUD

- 5/8 NF x 3-3/16 inch

2шт.

33

217-15

ELBOW,45 Degree, 1/8"-27 NPTF, Fem x 1/8"-27 NPTF Male

- 45 degree, oil pressure switch

1шт.

34

A162297

SWITCH

SENDING UNIT - oil pressure

1шт.

REF

INSTRUCTION

BLOCK HEATER

1шт.

35

A44815

HEATER

ASSEMBLY - block, Includes: Ref. 36

1шт.

36

A44814

ELECTRIC CABLE

CORD - heater, 12 inch (305 mm) long

1шт.

Выбрано товаров: 39