Запчасти Case 580SD (074) - FUEL INJECTION AND FILTER SYSTEM, 207 TURBOCHARGED DIESEL ENGINE (03) - FUEL SYSTEM

Схема запчастей Case 580SD - (074) - FUEL INJECTION AND FILTER SYSTEM, 207 TURBOCHARGED DIESEL ENGINE (03) - FUEL SYSTEM
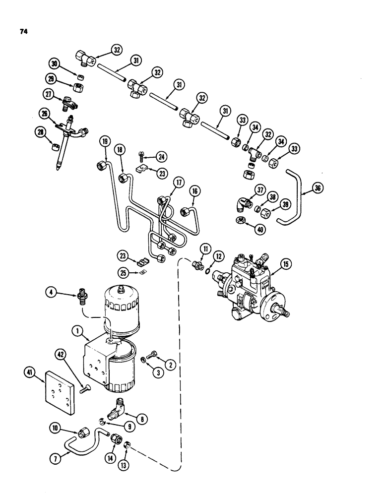
30
32
42
31
31
3
41
37
33
14
13
7
18
27
29
34
33
9
1
8
2
32
12
32
15
25
23
11
40
26
23
38
39
32
10
31
34
17
24
28
36
16
4
19
FIT
1:1
100%

Артикул

Название

Примечание

Количество

1

REF

INSTRUCTION

FILTER ASSEMBLY - fuel (See Figure 076)

1шт.

2

113-113

BOLT,Hex, 5/16" - 18 x 7/8", Gr 5

Filter mounting Hex, 5/16"-18 x 7/8", G5, Full Thd

3шт.

3

192-20

LOCK WASHER,Helical Spring, 0.318" ID, CST, ZND

WASHER, LOCK, 5/16"

3шт.

4

222-4025

HYD CONNECTOR,9/16"-24 x 1/4" NPTF

CONNECTOR - straight, 5/16 tube 9/16-24 thread x 1/4 inch PT

1шт.

7

A155113

TUBE

LINE -, Serial Range: filter-pump

1шт.

8

222-45

ELBOW,90 Degree, 9/16"-24 Fem x 1/4"-27 NPTF

ASSEMBLY - 5/16 tube 9/16-24 thread x 1/8 inch PT, Includes: Ref. 9 and 10

1шт.

9

222-653

SLEEVE,5/16" Tube, Comp

- for 5/16 inch (8 mm) tube

1шт.

10

222-663

NUT,1/2"-24, 45 Degree Fl, Comp

NUT - for 5/16 inch (8 mm) tube

1шт.

11

A51986

FITTING

- pump inlet

1шт.

13

222-103

SLEEVE,5/16" Tube

1шт.

14

222-113

TUBE NUT,9/16"-24

NUT - tube retaining

1шт.

15

REF

INSTRUCTION

PUMP ASSEMBLY - injection (See Figure 086)

1шт.

16

A153634

LINE

TUBE ASSEMBLY - injection pump to No. 1 cylinder

1шт.

17

A153635

LINE

TUBE ASSEMBLY - injection pump to No. 2 cylinder

1шт.

18

A153636

LINE

TUBE ASSEMBLY - injection pump to No. 3 cylinder

1шт.

19

A153637

LINE

TUBE ASSEMBLY - injection pump to No. 4 cylinder

1шт.

23

A58709

BRACKET

CLAMP - fuel injection lines

6шт.

24

173-102

SCREW,Sl Rnd Hd, #10 - 24 x 1"

- round head, clamp, No. 10 x 1 inch

2шт.

25

131-612

SPRING NUT,Flat, #10 - 24, 0.022" Thk

NUT - No. 10 Tinnerman

2шт.

26

REF

INSTRUCTION

NOZZLE ASSEMBLY - injector (See Figure 078)

4шт.

27

A37837

CLAMP

ASSEMBLY - injector nozzle

4шт.

28

A37839

SPACER

- nozzle clamp

4шт.

29

A58961

NUT

- injector nozzle

4шт.

30

A58962

GROMMET,9.14mm ID x 12.82mm OD x 5.28mm Thk

- injector nozzle

4шт.

31

A38644

TUBE

- fuel leak-off

3шт.

32

A58960

TEE,1/2" - 25 NPT x 1/2" - 25 NPT x 9/16" - 24 NPT

CONNECTOR - T-Type, nozzle and leak-off lines junction

4шт.

33

87017024

TUBE NUT,1/2"-24

NUT - for 1/4 inch (6 mm) tube

8шт.

34

222-102

SLEEVE,1/4" Tube

(6 mm) 1/4" Tube

8шт.

36

A142906

TUBE

- fuel leak-off (at pump)

1шт.

37

222-42

ELBOW,90 Degree, 1/2"-24 Fem x 1/8"-27 NPTF

ASSEMBLY - fuel leak-off line (at pump), Includes: Ref. 38 and 39

1шт.

38

222-102

SLEEVE,1/4" Tube

(6 mm) 1/4" Tube

1шт.

39

87017024

TUBE NUT,1/2"-24

NUT - for 1/4 inch (6.35 mm) tube

1шт.

40

A38160

LOCK NUT

- sealing, 1/8 inch PT (at pump)

1шт.

41

A155112

ADAPTER

- fuel filter base

1шт.

42

164-41

HEX SOC SCREW,Flat Hd, 5/16" - 18 x 1"

BOLT - hex, adapter mounting, 5/16 NC x 1 inch

3шт.

12

218-5004

O-RING,0.072" Thk x 0.414" ID, -905, Cl 6, 90 Duro

5-1, 90 Duro, .414" ID x .072" Thk (11 x 2 mm)

1шт.

Выбрано товаров: 36