Запчасти Case 580SK (6-52) - TRANSAXLE HOUSING (06) - POWER TRAIN

Схема запчастей Case 580SK - (6-52) - TRANSAXLE HOUSING (06) - POWER TRAIN
41
33
22
24
39
43
26
35
15
10
7
31
19
20
28
6
1
11
18
8
13
14
16
4
17
3
42
5
2
40
42
25
21
29
44
38
26
37
34
28
36
26
16
9
32
17
12
46
45
23
30
27
FIT
1:1
100%

Артикул

Название

Примечание

Количество

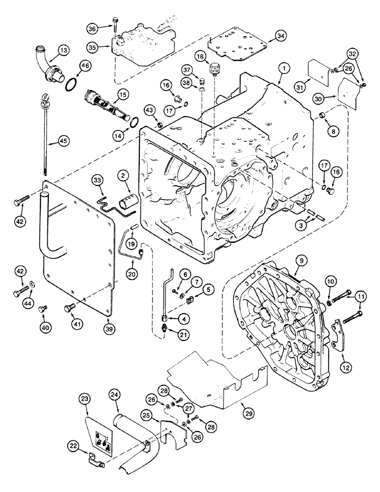
1

1995141C1

HOUSING ASSY.

1шт.

1

A183561

HOUSING

ASSY Order : 1995141C1,1995142C1 With : 2 - 7

1шт.

2

A183013

BUSHING

SLEEVE

1шт.

3

A188564

TUBE

Brake

1шт.

4

A188001

TUBE

Lubrication

1шт.

5

A183210

CLAMP

1шт.

6

813-10016

BOLT,Hex, M10 x 1.5 x 16mm, Cl 8.8, Full Thd

M10 x 16 mm

1шт.

7

895-11010

WASHER,11mm ID x 20mm OD x 2mm Thk

11 x 21 x 2 mm

1шт.

8

A175944

DOWEL,22.1mm OD x 13.5mm L

SLEEVE

2шт.

9

A188903

COVER

1шт.

10

96-31066

WASHER,0.66" ID x 1.31" OD x 0.19" Thk

9шт.

11

826-16080

BOLT,Hex, M16 x 2 x 80mm, Cl 10.9

M16 x 90 mm

13шт.

12

A186976

BRACKET

1шт.

13

A188031

ELBOW

1шт.

14

238-6135

O-RING,0.103" Thk x 1.925" ID, -135, Cl 6, 90 Duro

1шт.

15

A188034

SCREEN

FILTER

1шт.

16

214389

PLUG,3/4" - 16 ORB

With Ref. 17

2шт.

17

237-6008

O-RING,0.087" Thk x 0.644" ID, -908, Cl 6, 90 Duro

1шт.

18

1971726C1

BREATHER,1/4" - 18

1шт.

19

A190247

HALF-BUSHING

HALF BUSH

1шт.

20

A186996

TUBE ASSY.

Lubrication

1шт.

21

A188454

ADAPTER

FITTING Reduction

1шт.

22

A186733

SUPPORT

1шт.

23

A186606

FILTER SCREEN

BAFFLE With Filter

1шт.

24

A188032

TUBE

Suction

1шт.

25

A186993

BAFFLE

Lower Right

1шт.

26

895-11006

WASHER,6.6mm ID x 12mm OD x 1.6mm Thk

4шт.

27

892-11006

LOCK WASHER,M6

1шт.

28

813-6030

BOLT,Hex, M6 x 1 x 30mm, Cl 8.8

M6 x 30 mm

1шт.

29

A186612

BAFFLE

1шт.

30

A186602

BRACKET

BAFFLE Upper Right

1шт.

31

A186603

PLATE

BAFFLE Upper Left

1шт.

32

832-41306

NUT,M6 x 1, Cl 10

2шт.

33

A186601

BRACKET

RETAINER Upper

1шт.

34

1341102C1

GASKET,0.81mm Thk

1шт.

35

1343543C2

VALVE

ASSY See Figure : 6-18

1шт.

36

861-10060

HEX SOC SCREW,M10 x 60mm, Cl 12.9

M10 x 60 mm

1шт.

36

828-10060

BOLT,Hex, M10 x 1.5 x 60mm, Cl 10.9

7шт.

37

934164R1

PLUG,Hex Soc, M18 x 1.5

1шт.

38

J920773

SEALING WASHER

1шт.

39

A190137

COVER ASSY

Rear

1шт.

40

806-16025

BOLT,Hex, M16 x 2 x 25mm, Cl 10.9

M16 x 25 mm

5шт.

41

628-20030

SCREW,Hex, M20 x 2.5 x 30mm, Cl 10.9, Full Thd

M20 x 30 mm

4шт.

42

828-16060

BOLT,Hex, M16 x 2 x 60mm, Cl 10.9

6шт.

43

829-1316

NUT,M16, Cl 10

5шт.

44

96-81009

WASHER,11/16" x 1 1/2" x .134", HDN

2шт.

45

A183331

DIPSTICK

1шт.

46

218-5013

O-RING,0.118" Thk x 2.337" ID, -932, Cl 6, 90 Duro

1шт.

Выбрано товаров: 48