Запчасти Case 580SK (7-12) - PARKING BRAKE LEVER AND LINKAGE (07) - BRAKES

Схема запчастей Case 580SK - (7-12) - PARKING BRAKE LEVER AND LINKAGE (07) - BRAKES
12
17
7
11
1
27
24
19
26
25
6
13
10
22
25
4
14
2
1
3
23
28
20
18
21
27
9
5
22
16
15
FIT
1:1
100%

Артикул

Название

Примечание

Количество

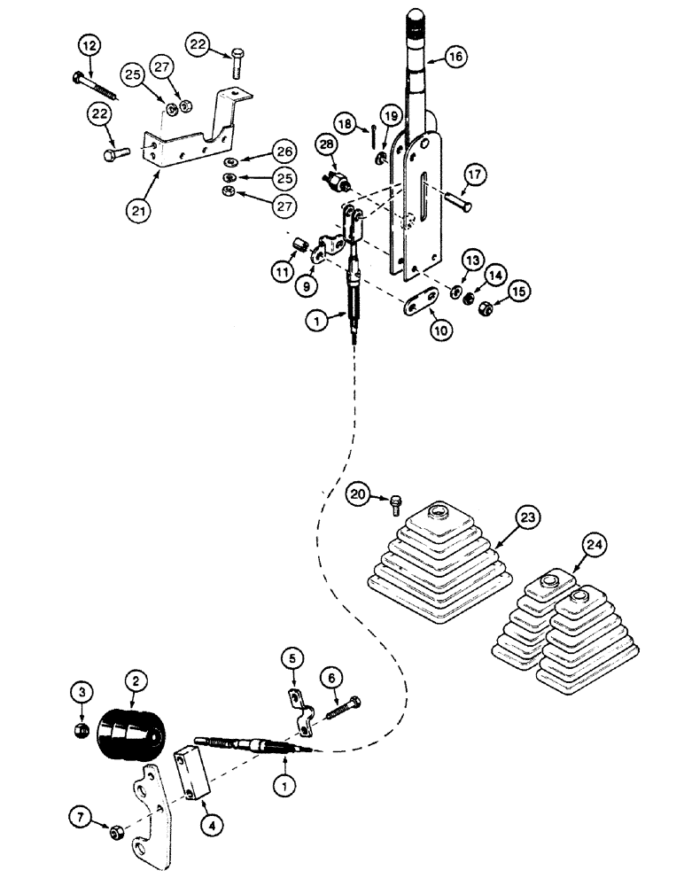
1

D145877

CABLE

1шт.

2

D141049

BOOT

1шт.

3

829-1112

JAM NUT

M12

1шт.

4

A188027

SPACER

1шт.

5

A188028

CLAMP

1шт.

7

825-1410

NUT,M10, Cl 8

2шт.

9

D121608

CLAMP

1шт.

10

D129747

PLATE

SPACER

1шт.

11

D76208

SPACER

2шт.

12

413-532

BOLT,Hex, 5/16" - 18 x 2", Gr 5

5/16 x 57 mm

2шт.

13

495-11034

WASHER,5/16", SAE

2шт.

14

492-11031

LOCK WASHER,5/16"

2шт.

15

425-105

NUT,5/16"-18, G5

2шт.

E48345

BRAKE LEVER

Consists of : 16 - 19

1шт.

16

LEVER

1шт.

17

D42458

PIN

1шт.

18

132-320

COTTER PIN,3/32" x 3/4"

1шт.

19

195-103

WASHER,5/16"

1шт.

20

281-18712

SELF-TAP SCREW,Hex Wash Hd, 1/4" x 3/4"

4шт.

21

D146905

SUPPORT

, Serial Range: -JJH0045498

1шт.

21

109968A1

SUPPORT

, Start Serial: JJH0045499

1шт.

22

413-614

BOLT,Hex, 3/8" - 16 x 7/8", Gr 5

3шт.

23

D137466

BOOT

2WD

1шт.

24

D137465

BOOT

MFD

1шт.

25

492-11038

LOCK WASHER,3/8"

3шт.

26

495-11041

WASHER,0.406" ID x 0.812" OD x 0.065" W

1шт.

27

425-106

NUT,3/8"-16, Cl 5

3шт.

28

D136514

SWITCH

Parking Brake

1шт.

6

827-10045

BOLT,Hex, M10 x 1.5 x 45mm, Cl 10.9

2шт.

Выбрано товаров: 29