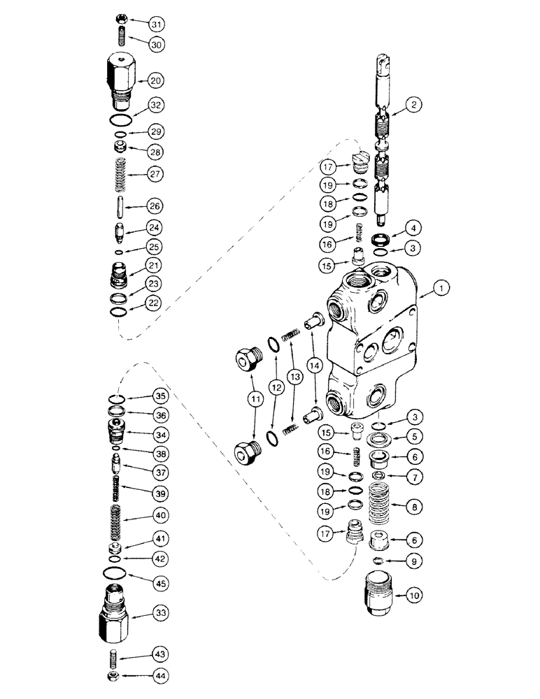
Запчасти Case 580SK (8-310) - BACKHOE CONTROL VALVE, NOT FOR PRESTIGE, BOOM SECTION (08) - HYDRAULICS

Схема запчастей Case 580SK - (8-310) - BACKHOE CONTROL VALVE, NOT FOR PRESTIGE, BOOM SECTION (08) - HYDRAULICS
33
31
24
22
13
18
16
6
44
32
18
19
35
26
34
15
39
42
6
3
41
17
15
3
9
20
5
23
37
7
19
25
17
45
11
1
4
21
36
38
10
19
8
14
43
40
12
30
2
29
19
16
27
28
FIT
1:1
100%

Артикул

Название

Примечание

Количество

1980432C3

ELEMENT

SECTION Consists of : 1 - 32

1шт.

1346105C1

SEAL KIT

Consists of : 3,4,12,18,19,22, 23,32,35,36,45

1шт.

1

HOUSING

1шт.

2

SPOOL

1шт.

3

1994608C1

O-RING,0.737" ID x 0.943" OD x 0.103"

2шт.

4

A32309

SEAL,18.8mm ID x 25.5mm OD x 3.1mm Thk

1шт.

5

G102711

RETAINER COLLAR,19.3 mm ID x 32.97 mm OD

1шт.

6

G33075

RETAINER,12.2mm ID, 27.9mm OD

SEAT

2шт.

7

G106410

SPACER

1шт.

8

1994596C1

SPRING

1шт.

9

G33077

SNAP RING,#47, Ext

#47, Ext

1шт.

10

G33080

CAP

1шт.

1346221C1

VALVE

ASSY Consists of : 11 - 14

1шт.

11

G34937

PLUG

1шт.

12

237-6010

O-RING,0.097" Thk x 0.755" ID, -910, Cl 6, 90 Duro

1шт.

13

G34458

SPRING,Compression, 5.08mm OD x 27.56mm L

1шт.

14

G34938

VALVE POPPET,6.55mm ID x 17.48mm OD x 17.02mm L

1шт.

1346219C2

PACKAGE

VALVE ASSY Load Check Consists of : 15 - 19

1шт.

15

1343777C1

VALVE POPPET,6.9mm ID x 17.5mm OD x 18.8mm L

1шт.

16

1346175C1

SPRING,Compression, 6.6mm OD x 21.93mm L

1шт.

17

1343708C1

PLUG

1шт.

18

G110020

O-RING,0.07" Thk x 0.614" ID, -16, Cl 6, 90 Duro

1шт.

19

G103862

BACK-UP RING,15.77mm ID x 18.67mm OD x 1.32mm Thk

2шт.

G109449

KIT

VALVE Relief Upper Consists of : 20 - 32

1шт.

20

HOUSING

1шт.

21

SEAT

1шт.

22

238-6018

O-RING,0.07" Thk x 0.739" ID, -18, Cl 6, 90 Duro

1шт.

23

G35540

BACK-UP RING,19.43mm ID x 22.23mm OD x 1.32mm Thk

1шт.

24

POPPET

1шт.

25

O RING

1шт.

26

PIN

1шт.

27

SPRING

1шт.

28

PISTON

1шт.

29

O RING

1шт.

30

484-43116

SET SCREW,Hex Soc, 5/16"-24 x 1"

5/16 x 25 mm

1шт.

31

425-155

JAM NUT,Jam, 5/16"-24, G5

1шт.

32

237-6012

O-RING,0.116" Thk x 0.924" ID, -912, Cl 6, 90 Duro

1шт.

G110467

VALVE, PRESSURE RELI

EF Lower Consist of : 33 - 45 Order : G110077

1шт.

33

HOUSING

1шт.

34

SEAT

1шт.

35

238-6018

O-RING,0.07" Thk x 0.739" ID, -18, Cl 6, 90 Duro

1шт.

36

G35540

BACK-UP RING,19.43mm ID x 22.23mm OD x 1.32mm Thk

1шт.

37

POPPET

1шт.

38

O RING

1шт.

39

SPRING Outer

1шт.

40

SPRING Inner

1шт.

41

PISTON

1шт.

42

O RING

1шт.

43

484-43120

SET SCREW,Hex Soc, 5/16"-24 x 1 1/4"

5/16 x 31 mm

1шт.

44

425-155

JAM NUT,Jam, 5/16"-24, G5

1шт.

45

237-6012

O-RING,0.116" Thk x 0.924" ID, -912, Cl 6, 90 Duro

1шт.

Выбрано товаров: 51