Запчасти Case 580SL (7-04) - REAR DRIVE AXLE (114367A2, 114367A3, 114367A4), PARKING BRAKE (07) - BRAKES

Схема запчастей Case 580SL - (7-04) - REAR DRIVE AXLE (114367A2, 114367A3, 114367A4), PARKING BRAKE (07) - BRAKES
17
14
23
24
17
16
12
26
4
20
22
18
13
6
27
11
19
8
21
9
3
7
1
28
17
29
1
10
5
25
2
15
FIT
1:1
100%

Артикул

Название

Примечание

Количество

114367A2

AXLE, REAR

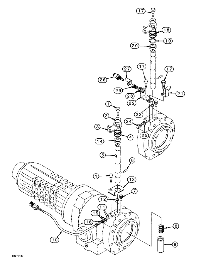
AXLE ASSEMBLY - rear drive, Carraro No. 132884, Includes: Ref. 1 - 16 and parts in Figures 6-52, 6-54 - 6-60, 7-02 and 7-04, no longer available, order 114367A5 axle

1шт.

See Figure 7-05A for parking brake used with 114367A5 rear drive axle.

1шт.

114367A3

AXLE, REAR

AXLE ASSEMBLY - rear drive, Carraro No. 134170, Includes: Ref. 1 - 16 and parts in Figures 6-53A - 6-60, 7-02 and 7-04, also includes 187562A2 bracket, Ref. 18 on Figure 6-50, no longer available, order 114367A5 axle

1шт.

See Figure 7-05A for parking brake used with 114367A5 rear drive axle.

1шт.

114367A4

AXLE, REAR

AXLE ASSEMBLY - rear drive, Includes: Ref. 1 - 16 and parts in Figures 6-53A - 6-60, 7-03A and 7-04, also includes 187562A2 bracket, Ref. 18 on Figure 6-50, no longer available, order 114367A5 axle on Figure 6-53A

1шт.

See Figure 7-05A for parking brake used with 114367A5 rear drive axle.

1шт.

1

190451A1

LOCK BOLT,M8 x 20mm

BOLT - special, 8 x 20 mm

6шт.

2

190463A1

WASHER

- flat

2шт.

3

190488A1

LEVER

- brake, 70 mm

2шт.

4

190476A1

SPRING

- left-hand, shown

1шт.

4

190477A1

SPRING

- right-hand, not shown

1шт.

5

190487A1

SHAFT

- brake control, when stock is depleted, order 279645A1 kit and 256483A1 shaft for service

2шт.

For the above three axle assemblies, when stock of this service part is exhausted, order 279645A1 parking brake kit.

1шт.

6

139111A1

SPLIT PIN/SAFETY PIN

PIN - roll, 6 x 20 mm, used with 190487A1 shaft, if used

2шт.

7

E135810

VENTING SCREW

PLUG - brake bleeder, brake housing

2шт.

8

190473A1

SPRING

- cam

2шт.

9

190456A1

CAM

- brake

2шт.

10

181250A1

CONNECTION,ELECTRIC

SWITCH - brake, if used

2шт.

11

211-1008

BALL,1/4" Dia

- chrome alloy steel, 1/4 inch, grade 24

4шт.

12

190448A1

O-RING

- special

2шт.

13

190465A1

SUPPORT

BRACKET - left-hand brake cylinder, shown, when stock is depleted, order 279645A1 kit for service

1шт.

For the above three axle assemblies, when stock of this service part is exhausted, order 279645A1 parking brake kit.

1шт.

13

190466A1

SUPPORT

BRACKET - right-hand brake cylinder, not shown, when stock is depleted, order 279645A1 kit for service

1шт.

For the above three axle assemblies, when stock of this service part is exhausted, order 279645A1 parking brake kit.

1шт.

14

196086A1

SPACER

- brake lever to shaft, when stock is depleted, order 279645A1 kit for service

2шт.

For the above three axle assemblies, when stock of this service part is exhausted, order 279645A1 parking brake kit.

1шт.

15

196088A1

COPPER WASHER

WASHER - sealing, copper, .5 mm thick, used as a shim

1шт.

16

P2434552

JAM NUT

- hex, jam, 8 mm-1 fine

2шт.

279645A1

PACKAGE, REPAIR

KIT - parking brake, external adjustment parts, Includes: Ref. 17 - 29 and instructions

1шт.

17

190451A1

LOCK BOLT,M8 x 20mm

BOLT - special, 8 x 20 mm

6шт.

18

190476A1

SPRING

- left-hand, shown

1шт.

18

190477A1

SPRING

- right-hand, not shown

1шт.

19

256482A1

SHIM

- bushing

2шт.

20

256481A1

SPACER

BUSHING - shaft

2шт.

21

259254A1

RETAINER

- left-hand, shown

1шт.

21

280443A1

RETAINER

- right-hand, not shown

1шт.

22

256478A1

SUPPORT

BRACKET - stop

2шт.

23

190448A1

O-RING

- special, shaft

2шт.

24

280848A1

BOLT

BOLT - special, 8 x 10 mm

2шт.

25

181104A1

COPPER WASHER

WASHER - sealing, copper

2шт.

281952A1

KIT

- switch, park brake, Includes: Ref. 26 - 29

2шт.

26

280450A1

PARK BRAKE SWITCH

SWITCH - brake

1шт.

27

280452A1

BRACKET

- switch guard, lever

1шт.

28

281960A1

NUT

- special, 16 mm-1.5

1шт.

29

280457A1

LEVER

SLEEVE - switch

1шт.

Выбрано товаров: 45