Запчасти Case 580SL (8-026) - BACKHOE DIPPER CYLINDER HYDRAULIC CIRCUIT (08) - HYDRAULICS

Схема запчастей Case 580SL - (8-026) - BACKHOE DIPPER CYLINDER HYDRAULIC CIRCUIT (08) - HYDRAULICS
32
6
27
14
9
28
26
35
5
15
16
1
26
32
12
33
10
13
31
11
21
22
34
11a
11
22
9
30
7
3
11a
28
4
20
17
33
25
12
8
2
18
29
27
8
19
31
30
FIT
1:1
100%

Артикул

Название

Примечание

Количество

1

REF

INSTRUCTION

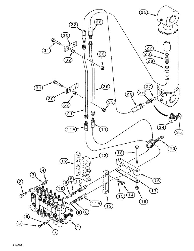
VALVE ASSEMBLY - backhoe control, for correct assembly and components, see Figures 8-100 - 8-108

1шт.

2

814-12045

BOLT,Hex, M12 x 1.75 x 45mm, Cl 8.8

- hex, 12-1.75 x 45 mm

2шт.

3

896-11012

WASHER,13.5mm ID x 24mm OD x 3mm Thk

2шт.

4

829-1412

NUT,M12, Cl 10.9

- hex, 12 mm - 1.75, class 10

2шт.

5

413-624

BOLT,Hex, 3/8" - 16 x 1-1/2", Gr 5

- hex, 3/8 NC x 1-1/2 inch

1шт.

6

D52275

WASHER,9.92mm ID x 31.75mm OD x 2.78mm Thk

- flat, special, 25/64 x 1-1/4 x 7/64 inch, hardened

1шт.

7

D52276

ISOLATOR,10.16mm ID x 28.07mm OD x mm L

INSULATOR - rubber

1шт.

8

218-5064

HYD CONNECTOR,1-1/16" - 12 Male JIC x 1-1/16" - 12 Male ORB

ADAPTER - straight, 1-1/16-12 inch flare x O-ring boss, dipper section upper and lower ports, Incl. Ref. 9

2шт.

9

237-6012

O-RING,0.116" Thk x 0.924" ID, -912, Cl 6, 90 Duro

12-1, 90 Duro, .924 ID x .116" Thk

1шт.

10

D142366

RESTRICTOR

- check, dipper section upper port

1шт.

11

193499A1

HOSE,15.88mm ID x 1295mm L

- 1295 mm (51 inch) long, includes hose guard and clamp, upper port control valve through swing, Serial Range: tower-boom

1шт.

11a

193117A1

HOSE,15.88mm ID x 1295mm L

- 1295 mm (51 inch) long, includes hose guard and clamp, lower port control valve through swing, Serial Range: tower-boom

1шт.

12

143439A1

CLAMP

- Hose, outer

2шт.

13

176226A1

CLAMP

- Hose, Center

1шт.

14

614-8025

BOLT,Hex, M8 x 1.25 x 25mm, Cl 8.8, Full Thd

- hex, full threads, 8-1.25 x 25 mm

6шт.

15

892-11008

LOCK WASHER,8mm ID

WASHER, LOCK, M8

6шт.

16

143882A1

FIXING BRACKET

CLAMP - hose, at swing tower

1шт.

17

132212A1

PLATE

- Hose clamp, at swing tower

1шт.

18

814-12100

BOLT,Hex, M12 x 1.75 x 100mm, Cl 8.8

2шт.

19

832-10412

NUT,M12 x 1.75, Cl 8

NUT, LOCK, M12 x 1.75, Cl 8

2шт.

20

L18337

CABLE TIE,9.95"-12.1" lg

STRAP - tie, 15 inch, nylon

1шт.

21

142126A1

HYD TUBE,19.05 mm OD, 726 mm Length

TUBE - to dipper cylinder closed end hose

1шт.

22

193793A1

HOSE,15.88mm ID x 660mm L

- 660 mm (26 inch) long, includes hose guard and clamp, dipper cylinder closed end, replaces 144253A1 hose

1шт.

25

REF

INSTRUCTION

CYLINDER ASSEMBLY - 5 (127) ID x 23 inch (583 mm) stroke, dipper, for correct assembly and components, see Figure 8-162 or 8-164

1шт.

26

218-5064

HYD CONNECTOR,1-1/16" - 12 Male JIC x 1-1/16" - 12 Male ORB

ADAPTER - straight, 1-1/16-12 inch flare x O-ring boss, Incl. Ref. 27

1-2шт.

27

237-6012

O-RING,0.116" Thk x 0.924" ID, -912, Cl 6, 90 Duro

12-1, 90 Duro, .924 ID x .116" Thk

1шт.

28

144235A1

HOSE,15.88mm ID x 780mm L

- 780 mm (30-3/4 inch) long, dipper cylinder rod end

1шт.

29

142124A1

TUBE,19.05 mm OD, 784.2 mm Length

HYD - to dipper cylinder rod end hose

1шт.

30

133605A1

CLAMP

Dipper cylinder tubes to inner RH side of boom

2шт.

31

814-12080

BOLT,Hex, M12 x 1.75 x 80mm, Cl 8.8

4шт.

32

132930A1

SPACER

- split

4шт.

33

832-10412

NUT,M12 x 1.75, Cl 8

NUT, LOCK, M12 x 1.75, Cl 8

4шт.

34

218-5108

ELBOW,90 Degree Elbow, 1-1/16" - 12 Male JIC x 1-1/16" - 12 Male ORB

90º, 1-1/16-12 inch flare x adj O-ring boss, if used, Incl. Ref. 35

1шт.

35

237-6012

O-RING,0.116" Thk x 0.924" ID, -912, Cl 6, 90 Duro

12-1, 90 Duro, .924 ID x .116" Thk

1шт.

Выбрано товаров: 34