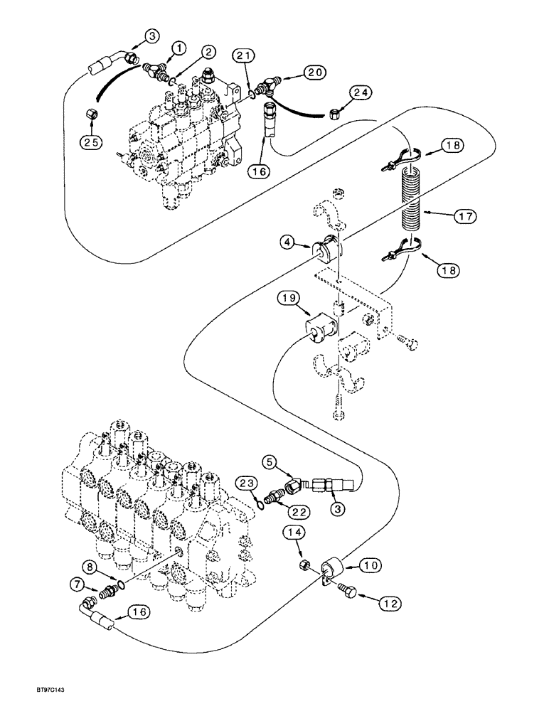
Запчасти Case 580SL (8-043A) - LOADER VALVE TO BACKHOE VALVE HYDRAULIC CIRCUIT MODELS W/ OR W/O EXTENDABLE DIPPER W/O AUX. HYD. (08) - HYDRAULICS

Схема запчастей Case 580SL - (8-043A) - LOADER VALVE TO BACKHOE VALVE HYDRAULIC CIRCUIT MODELS W/ OR W/O EXTENDABLE DIPPER W/O AUX. HYD. (08) - HYDRAULICS
2
21
8
3
19
3
10
7
23
20
17
1
4
14
5
24
22
18
12
16
16
18
25
FIT
1:1
100%

Артикул

Название

Примечание

Количество

1

218-5576

TEE,37 Degree, 1 1/16"-12, 7/8"-14 O-Ring Run, 3/4"-16

- 3/4-16 fl branch x 1-1/16-12 fl x 7/8-14 inch adj O-ring, inlet section lower port, Includes: Ref. 2.

1шт.

2

237-6010

O-RING,0.097" Thk x 0.755" ID, -910, Cl 6, 90 Duro

10-1, 90 Duro, .755" ID x .097" Thk

1шт.

3

243339A1

HOSE

- 1210 mm (47-11/16 inch) long, swing supply, loader valve inlet section lower port to backhoe valve swing section, replaces 224424A1 1180 mm long hose

1шт.

4

144477A1

ISOLATOR

Rubber, Hose, See Figure 8-006, Ref 17-29 for mounting hardware and alternate mounting configuration

1шт.

5

218-5174

ELBOW,45 Degree Elbow, 7/8" - 14 Male JIC x 7/8" - 14 Female JIC

- 45 degree, 7/8-14 inch flare x swivel, at backhoe valve swing section

1шт.

7

218-5057

HYD CONNECTOR,9/16" - 18 JIC x 9/16" - 18 ORB

ADAPTER - straight, 9/16-18 inch flare x O-ring boss, Incl. Ref. 8

1шт.

10

515-25159

CLAMP,5/8", Insul, 1/2" Bolt

P-type, If used 5/8", Insul, 1/2" Bolt

1шт.

12

614-10025

BOLT,Hex, M10 x 1.5 x 25mm, Cl 8.8

If Used Hex, M10 x 25, 8.8, Full Thd

1шт.

14

829-1410

NUT,M10 x 1.5, Cl 10.9

If Used M10, Cl 10

1шт.

16

221553A1

HOSE

- 1860 mm (73-1/4 inch) long, signal, backhoe control valve swing section to loader control valve inlet section

1шт.

17

D132982

PADDLE,26.87mm ID x 400mm L

SLEEVE - hose guard

2шт.

18

L18337

CABLE TIE,9.95"-12.1" lg

STRAP - tie, 15 inch, nylon

4шт.

19

D143797

SHOCK ABSORBER

INSULATOR - 5/8 inch, hose, see Figure 8-006, Ref 17-29 for power beyond hose and mounting hardware and alternate mounting configuration

1шт.

20

218-5243

TEE,9/16" - 18 Male JIC x 9/16" - 18 Male JIC x 9/16" - 18 Male ORB

- 9/16-18 inch flare branch x flare x adj O-ring boss, loader valve inlet section and steering pilot hose, see Figure 5-04 for steering hose, Includes: Ref. 21

1шт.

22

119895A3

FITTING

SEAT - valve, swing section inlet, replaces 119895A1 and 119895A2 seat, if used, Includes: Ref. 23

1шт.

23

237-6010

O-RING,0.097" Thk x 0.755" ID, -910, Cl 6, 90 Duro

10-1, 90 Duro, .755" ID x .097" Thk

1шт.

24

218-754

CAP,37 Degree, 9/16"-18

- hex, 9/16-18 inch, models with non-priority swing, if used

1шт.

25

218-335

CAP,37 Degree, 1 1/16"-12

- hex, 1-1/16-12 inch, models with non-priority swing, if used

1шт.

8

237-6006

O-RING,0.078" Thk x 0.468" ID, -906, Cl 6, 90 Duro

6-1, 90 Duro, .468" ID x .078" Thk

1шт.

21

237-6006

O-RING,0.078" Thk x 0.468" ID, -906, Cl 6, 90 Duro

6-1, 90 Duro, .468" ID x .078" Thk

1шт.

Выбрано товаров: 20