Запчасти Case 580SL (8-050) - BASIC AUXILIARY HYDRAULICS, MODELS WITH STANDARD DIPPER, ALTERNATE CONFIGURATION (08) - HYDRAULICS

Схема запчастей Case 580SL - (8-050) - BASIC AUXILIARY HYDRAULICS, MODELS WITH STANDARD DIPPER, ALTERNATE CONFIGURATION (08) - HYDRAULICS
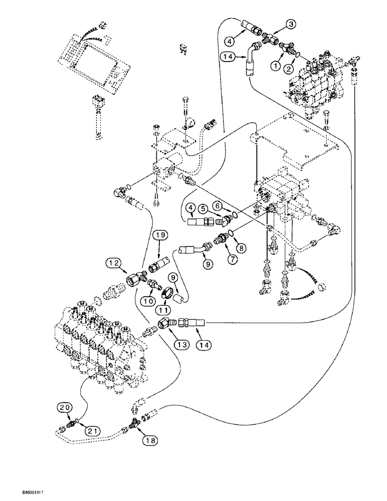
9
5
8
2
1
7
18
19
13
12
20
14
4
21
3
11
4
14
10
9
6
FIT
1:1
100%

Артикул

Название

Примечание

Количество

1

218-5241

TEE,7/8" - 14 Male JIC x 7/8" - 14 Male JIC x 7/8" - 14 Male ORB

- 7/8-14 inch flare branch x flare x adj O-ring boss, at loader valve inlet section lower port, see Figure 5-04 for attaching steering hose, Includes: Ref. 2

1шт.

2

237-6010

O-RING,0.097" Thk x 0.755" ID, -910, Cl 6, 90 Duro

10-1, 90 Duro, .755" ID x .097" Thk

1шт.

3

218-5220

TEE,37 Degree, 7/8"-14 x 7/8"-14, Fem Sw Run

- swivel, 7/8-14 inch flare branch x flare x swivel, at loader valve inlet section lower port tee, models with backhoe auxiliary hydraulics only

1шт.

4

188126A1

HOSE

- 1650 mm (65 inch) long, loader valve inlet section lower port to auxiliary valve inlet port

1шт.

5

218-5149

ELBOW,45 Degree Elbow, 7/8" - 14 Male JIC x 1-1/16" - 12 Male ORB

45º, 7/8"-14 flare x 1-1/16"-12 adj. O-ring, auxiliary valve inlet, Incl. Ref 6

1шт.

6

237-6012

O-RING,0.116" Thk x 0.924" ID, -912, Cl 6, 90 Duro

12-1, 90 Duro, .924 ID x .116" Thk

1шт.

7

218-5064

HYD CONNECTOR,1-1/16" - 12 Male JIC x 1-1/16" - 12 Male ORB

ADAPTER - straight, 1-1/16-12 inch flare x O-ring boss, outlet port at auxiliary valve, Incl. Ref. 8

1шт.

8

237-6012

O-RING,0.116" Thk x 0.924" ID, -912, Cl 6, 90 Duro

12-1, 90 Duro, .924 ID x .116" Thk

1шт.

9

221378A1

HOSE ASSY.

HOSE - 400 mm (15-3/4 inch) long, auxiliary valve outlet port to tee at backhoe control valve outlet section port

1шт.

10

221379A1

TUBE,19.05 mm OD

- at backhoe valve outlet section tee

1шт.

11

214-1416

HOSE CLAMP,#16, 0.81" - 1.5", Type F Worm

CLAMP, HOSE, , Adj., Tube to hose #16, 0.81/1.50 Type F Worm

1шт.

12

218-5216

TEE,37 Degree, 1 1/16"-12x1 1/16"-12, Fem Sw Runx1 1/16"-12

- 1-1/16-12 flare branch x 1-5/16-12 inch flare x swivel, at backhoe valve outlet section, between hose to hydraulic oil filter and 218-5069 adapter, see Figure 8-008 for hose and fittings to hydraulic oil filter

1шт.

13

218-5174

ELBOW,45 Degree Elbow, 7/8" - 14 Male JIC x 7/8" - 14 Female JIC

- 45 degree, 7/8-14 inch flare x swivel, at backhoe valve swing section, attaches to swing section check valve, Ref. 15 on Figure 8-122

1шт.

14

144236A1

HOSE

- 1180 mm (46-1/2 inch) long, backhoe valve swing section to tee at loader valve inlet section lower port

1шт.

18

218-593

TEE,9/16"-18, 37 Degree

- 9/16-18 inch flare branch x flare x flare, see Figure 8-044 for attaching tube and hoses

1шт.

19

144229A1

HOSE

- 775 mm (30-1/2 inch) long, return, backhoe control valve to filter, see Figure 8-008 for adapter

1шт.

20

218-5057

HYD CONNECTOR,9/16" - 18 JIC x 9/16" - 18 ORB

ADAPTER - straight, 9/16-18 inch flare x O-ring boss, Incl. Ref. 21

1шт.

21

237-6006

O-RING,0.078" Thk x 0.468" ID, -906, Cl 6, 90 Duro

6-1, 90 Duro, .468" ID x .078" Thk

1шт.

Выбрано товаров: 18