Запчасти Case 580SL (8-052) - BASIC AUXILIARY HYDRAULICS, MODELS WITH EXTENDABLE DIPPER, ALTERNATE CONFIGURATION (08) - HYDRAULICS

Схема запчастей Case 580SL - (8-052) - BASIC AUXILIARY HYDRAULICS, MODELS WITH EXTENDABLE DIPPER, ALTERNATE CONFIGURATION (08) - HYDRAULICS
23
1
27
14
12
17
24
25
4
26
13
2
15
13
16
11
23
10
18
5
21
20
19
12
11
6
22
4
FIT
1:1
100%

Артикул

Название

Примечание

Количество

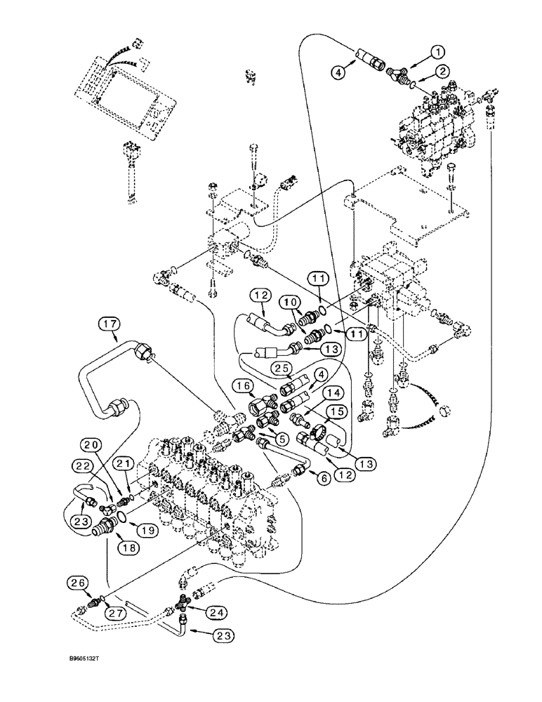
1

218-5241

TEE,7/8" - 14 Male JIC x 7/8" - 14 Male JIC x 7/8" - 14 Male ORB

- 7/8-14 inch flare branch x flare x adj O-ring boss, at loader valve inlet section lower port, see Figure 5-04 for attaching steering hose, Includes: Ref. 2

1шт.

2

237-6010

O-RING,0.097" Thk x 0.755" ID, -910, Cl 6, 90 Duro

10-1, 90 Duro, .755" ID x .097" Thk

1шт.

4

188126A1

HOSE

- 1650 mm (65 inch) long, loader valve inlet section lower port to tee at inlet port of backhoe valve extendahoe section, see Ref. 5-7 and 32-35 on Figure 8-040 for hose clamping

1шт.

5

218-5220

TEE,37 Degree, 7/8"-14 x 7/8"-14, Fem Sw Run

- swivel, 7/8-14 inch flare branch x flare x swivel, attaches to extendahoe section inlet port load check valve, Ref. 15 on Figure 8-130

2шт.

6

136015A1

TUBE,15.88 mm OD, 268, 77 mm Length

- swing connection, attaches to swing section inlet port load check valve, Ref. 15 on Figure 8-122

1шт.

10

218-5064

HYD CONNECTOR,1-1/16" - 12 Male JIC x 1-1/16" - 12 Male ORB

ADAPTER - straight, 1-1/16-12 inch flare x O-ring boss, auxiliary valve inlet and outlet ports, Incl. Ref. 11

2шт.

11

237-6012

O-RING,0.116" Thk x 0.924" ID, -912, Cl 6, 90 Duro

12-1, 90 Duro, .924 ID x .116" Thk

1шт.

12

189528A1

HOSE

- 292 mm (11-1/2 inch) long, auxiliary valve inlet port to 218-5220 tee at backhoe control valve extendahoe section inlet port

1шт.

13

221378A1

HOSE ASSY.

HOSE - 400 mm (15-3/4 inch) long, auxiliary valve outlet port to tee at backhoe valve outlet section port

1шт.

14

221379A1

TUBE,19.05 mm OD

- at backhoe valve outlet section tee

1шт.

15

214-1416

HOSE CLAMP,#16, 0.81" - 1.5", Type F Worm

CLAMP, HOSE, , Adj., Tube to hose #16, 0.81/1.50 Type F Worm

1шт.

16

218-5216

TEE,37 Degree, 1 1/16"-12x1 1/16"-12, Fem Sw Runx1 1/16"-12

- 1-1/16-12 flare branch x 1-5/16-12 inch flare x swivel, at backhoe valve outlet section, between hose to hydraulic oil filter and 218-5245 tee, see Figure 8-008 for hose and fittings to hydraulic oil filter

1шт.

17

188975A1

TUBE

- bucket return, outlet port to bucket section, see Figure 8-008, Ref. 7A for tee at outlet port

1шт.

18

218-5069

HYD CONNECTOR,1-5/16" - 12 Male JIC x 1-5/16" - 12 Male ORB

Adapter - straight, 1-5/16-12 inch flare x O-ring boss, Incl. Ref. 19

1шт.

19

237-6016

O-RING,0.116" Thk x 1.171" ID, -916, Cl 6, 90 Duro

16-1, 90 Duro, 1.171" ID x .118" Thk

1шт.

20

179189A1

VALVE POPPET

VALVE - check, at extendahoe section center port, Includes: Ref. 21

1шт.

22

218-980

ELBOW,90 Degree, 9/16"-18, 37 Degree x 9/16"-18, 37 Degree Fem Sw

- 90 degree, 9/16-18 inch flare x swivel

1шт.

23

181334A1

TUBE

- pilot, extendahoe section center port to signal hose cross

1шт.

24

218-653

4 WAY CONNECTION,9/16"-18, 37 Degree

CROSS - hydraulic, 9/16-18 flare, four-way

1шт.

25

144229A1

HOSE

- 775 mm (30-1/2 inch) long, return, backhoe control valve to filter, see Figure 8-008 for tee at filter

1шт.

26

179189A1

VALVE POPPET

VALVE - check, at swing section center port, Includes: Ref. 27

1шт.

21

237-6006

O-RING,0.078" Thk x 0.468" ID, -906, Cl 6, 90 Duro

6-1, 90 Duro, .468" ID x .078" Thk

1шт.

27

237-6006

O-RING,0.078" Thk x 0.468" ID, -906, Cl 6, 90 Duro

6-1, 90 Duro, .468" ID x .078" Thk

1шт.

Выбрано товаров: 23