Запчасти Case 580SL (9-015A) - LOADER LONG LIP BUCKETS 142687A1 AND 198539A1 (09) - CHASSIS/ATTACHMENTS

Схема запчастей Case 580SL - (9-015A) - LOADER LONG LIP BUCKETS 142687A1 AND 198539A1 (09) - CHASSIS/ATTACHMENTS
7
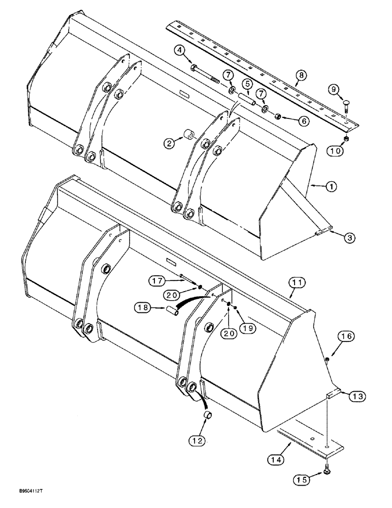
18
17
20
15
4
8
20
13
12
9
3
7
16
5
19
14
1
6
2
10
11
FIT
1:1
100%

Артикул

Название

Примечание

Количество

142687A1

BUCKET

ASSEMBLY - loader, without bucket teeth, order from Machinery Price List, 2362 mm (93 inch) wide, no longer available, order 198539A1 bucket, Includes: Ref. 1 - 7

1шт.

1

NSS

NOT SOLD SEPARAT

BUCKET - loader

1шт.

2

D129264

BUSHING,40.3mm ID x 50mm OD x 28mm L

- bucket ear

8шт.

3

134844A1

CUTTING EDGE,Bolt On, 10 Holes, 12mm W x 2389mm L

EDGE, CUTTING, Weld-on, blade mounting

1шт.

4

828-20160

BOLT,Hex, M20 x 2.5 x 160mm, Cl 10.9

- hex, 20 - 2.5 x 160 mm, class 10.9

2шт.

5

142538A1

SPACER,21mm ID x 25mm OD x 105mm L

- chain hook

2шт.

6

832-10420

NUT,M20 x 2.5, Cl 8

NUT, LOCK, M20 x 2.5, Cl 8

2шт.

7

896-11020

WASHER,22mm ID x 37mm OD x 4mm Thk

- flat, 22 x 37 x 4 mm, hardened

4шт.

8

185506A1

CUTTING EDGE

EDGE, CUTTING, Bolt-On

1шт.

9

20-21232

PLOW BOLT,#3, 3/4" - 10 x 2", Gr 8

BOLT, PLOW, 3/4"-10 x 2", G8, Full Thd

10шт.

10

429-1012

NUT,3/4"-10, G8

- hex, 3/4 inch NC, grade 8

10шт.

198539A1

BUCKET

ASSEMBLY - loader, without bucket teeth, order from Machinery Price List, 2362 mm (93 inch) wide, if used, Includes: Ref. 11 - 20

1шт.

11

NSS

NOT SOLD SEPARAT

BUCKET - loader

1шт.

12

D129264

BUSHING,40.3mm ID x 50mm OD x 28mm L

- bucket ear

8шт.

13

134844A1

CUTTING EDGE,Bolt On, 10 Holes, 12mm W x 2389mm L

EDGE, CUTTING, Weld-on, blade mounting

1шт.

14

185506A1

CUTTING EDGE

EDGE, CUTTING, Bolt-On, 93" (2362 mm) bucket

1шт.

15

20-21232

PLOW BOLT,#3, 3/4" - 10 x 2", Gr 8

BOLT, PLOW, 3/4"-10 x 2", G8, Full Thd

10шт.

16

429-1012

NUT,3/4"-10, G8

- hex, 3/4 inch NC, grade 8

10шт.

17

828-20160

BOLT,Hex, M20 x 2.5 x 160mm, Cl 10.9

- hex, 20 - 2.5 x 160 mm, class 10.9

2шт.

18

142538A1

SPACER,21mm ID x 25mm OD x 105mm L

- chain hook

2шт.

19

832-10420

NUT,M20 x 2.5, Cl 8

NUT, LOCK, M20 x 2.5, Cl 8

2шт.

20

896-11020

WASHER,22mm ID x 37mm OD x 4mm Thk

- flat, 22 x 37 x 4 mm, hardened

4шт.

Выбрано товаров: 22