Запчасти Case 580SL (9-016) - LOADER CLAM BUCKET (09) - CHASSIS/ATTACHMENTS

Схема запчастей Case 580SL - (9-016) - LOADER CLAM BUCKET (09) - CHASSIS/ATTACHMENTS
11
7
19
1
4
2
3
5
8
17
18
26
15
16
4
14
22
3
9
23
10
21
11
24
25
5
2
13
20
12
6
FIT
1:1
100%

Артикул

Название

Примечание

Количество

185488A1

BUCKET

ASSEMBLY - clam, order from Machinery Price List, 2083 mm (82 inch) wide, Includes: Ref. 1 - 14

1шт.

175156A1

CLAMSHELL BUCKET

BUCKET, CLAMSHELL, Assy, Incl Ref 1 and 2

1шт.

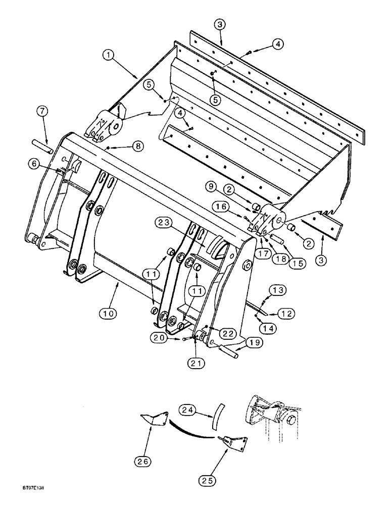
1

NSS

NOT SOLD SEPARAT

CLAM - bucket

1шт.

2

D31140

BUSHING,38.33mm ID x 47.63mm OD x 25.4mm L

- 25 mm (1 inch) long, clam pivot

4шт.

3

142300A1

CUTTING EDGE,Bolt On, 10 Holes, 19mm W x 2083mm L

EDGE, CUTTING, Bucket

2шт.

4

20-21232

PLOW BOLT,#3, 3/4" - 10 x 2", Gr 8

BOLT, PLOW, 3/4"-10 x 2", G8, Full Thd

20шт.

5

29-1012

NUT,3/4"-10, G8

- hex, 3/4 inch NC, grade 8

20шт.

6

844-10110

BOLT,Hvy Hex, M10 x 110mm, Cl 8.8

- heavy hex flange, 10 - 1.5 x 110 mm

2шт.

7

D51391

PIN,15mm OD x 74mm L

Pivot, Serial Range: clam-blade

2шт.

8

832-10410

NUT,M10 x 1.5, Cl 8

NUT, LOCK, M10 x 1.5, Cl 8

2шт.

9

219-1

LUBE NIPPLE,1/8" - 27 NPTF

FITTING - grease, straight, 1/8 PT x 21/32 inch

2шт.

175160A1

4 IN 1 BUCKET

BLADE ASSEMBLY - clam bucket, Includes: Ref. 10 and 11

1шт.

10

NSS

NOT SOLD SEPARAT

BLADE - bucket

1шт.

11

D129264

BUSHING,40.3mm ID x 50mm OD x 28mm L

- bucket ear

8шт.

12

121920A1

CUTTING EDGE,Bolt On, 10 Holes, 12.7mm W x 2080mm L

EDGE, CUTTING, Blade

1шт.

13

20-21032

PLOW BOLT,#3, 5/8" - 11 x 2", Gr 8

BOLT, PLOW, 5/8"-11 x 2", G8, Full Thd

10шт.

14

29-1010

NUT,5/8"-11, G8

- hex, 5/8 inch NC, grade 8

10шт.

15

D51392

PIN,31.72mm OD x 101.6mm L

- cylinder mounting, upper

2шт.

16

814-10090

BOLT,Hex, M10 x 1.5 x 90mm, Cl 8.8

2шт.

17

895-11010

WASHER,11mm ID x 20mm OD x 2mm Thk

- flat, 11 x 20 x 2 mm

2шт.

18

832-10410

NUT,M10 x 1.5, Cl 8

NUT, LOCK, M10 x 1.5, Cl 8

2шт.

19

D51393

PIN,31.72mm OD x 152.4mm L

Cylinder mounting, lower

2шт.

20

814-10080

BOLT,Hex, M10 x 1.5 x 80mm, Cl 8.8

- hex, 10-1.5 x 80 mm

2шт.

21

895-11010

WASHER,11mm ID x 20mm OD x 2mm Thk

- flat, 11 x 20 x 2 mm

2шт.

22

832-10410

NUT,M10 x 1.5, Cl 8

NUT, LOCK, M10 x 1.5, Cl 8

2шт.

23

321-1708

DECAL

- 0 - 2 - 4, clam bucket opening indicator

1шт.

24

321-1707

DECAL

- clam bucket position

1шт.

25

D123157

SUPPORT

POINTER - bucket position, bolts to clam bucket link, see Figure 9-012 for link and mounting hardware, no longer available, order 250851A1 pointer, Ref 26

1шт.

26

250851A1

POINTER

- bucket position, bolts to clam bucket link, see Figure 9-012 for link and mounting hardware

1шт.

Выбрано товаров: 29